|
(21), (22) Заявка: 2004107248/14, 12.03.2004
(24) Дата начала отсчета срока действия патента:
12.03.2004
(43) Дата публикации заявки: 01.01.2000
(45) Опубликовано: 27.02.2006
(56) Список документов, цитированных в отчете о поиске:
SU 1690777 А1, 15.11.1991. RU 2214216 С2, 20.10.2003. RU 2157682 С2, 20.10.2000. RU 2141306 C1, 20.11.1999. RU 2103987 С1, 10.02.1998. WO 90/03536 А1, 05.04.1990.
Адрес для переписки:
117105, Москва, Новоданиловская наб., 4А, ЗАО “ЛОРР”, А.Е. Панову
|
(72) Автор(ы):
Савельев Сергей Вячеславович (RU)
(73) Патентообладатель(и):
Закрытое акционерное общество “ЛОРР” (RU)
|
(54) КОНТЕЙНЕР ДЛЯ ХРАНЕНИЯ КОМПОНЕНТОВ И ПРИГОТОВЛЕНИЯ ЛЕКАРСТВЕННОГО СРЕДСТВА
(57) Реферат:
Изобретение относится к медицинской технике и предназначено для длительного хранения лекарственных средств в упаковке. Контейнер для хранения компонентов и приготовления лекарственного средства содержит полый цилиндр, разделенный поперечными перегородками на, по меньшей мере, три емкости, первая из которых отделена от второй сплошной перегородкой, при этом остальные перегородки выполнены с центральными отверстиями, через которые пропущен шток с элементом разрушения перегородок. Первая емкость снабжена герметичной крышкой, элементом разрушения перегородок является боек, а шток выходит за пределы корпуса, пропущен через центральные отверстия с плотной посадкой и выполнен с возможностью подачи в направлении сплошной перегородки до проламывания ее бойком и оттягивания назад до упора бойка и проламывания остальных перегородок. Использование изобретения позволяет повысить надежность и сроки хранения компонентов, а также эффективность их смешивания. 4 з.п. ф-лы, 3 ил. 
Изобретение относится к медицинской технике, а точнее к упаковочному оборудованию, и может быть использовано для длительного хранения лекарственных средств.
Известно устройство для хранения медицинских препаратов и приготовления лекарственного средства, содержащее несколько емкостей в полом цилиндрическом корпусе, разделенных поперечными перегородками, одна из емкостей отделена сплошной перегородкой, другие перегородки имеют центральные отверстия, через которые пропущен шток с элементами разрушения на концах. Шток выполнен с возможностью выхода за пределы корпуса [1].
Недостатком указанного устройства является невозможность сохранения компонентов лекарственного средства из-за отсутствия герметичности между перегородками.
Наиболее близким по своей технической сущности и достигаемому техническому результату к заявляемому объекту является многокамерная емкость для хранения и смешивания лекарственного средства, в которой одна из камер отделена от остальных емкостей сплошной перегородкой и имеет герметичную крышку [2].
Недостатком указанного устройства является высокая вероятность самопроизвольного смешивания компонентов и сложность конструкции.
Решаемой технической задачей в соответствии с изобретением является обеспечение возможности длительного хранения многокомпонентного лекарственного средства с достижением технического результата в отношении повышения надежности и сроков хранения компонентов в отдельных изолированных емкостях, эффективного смешивания этих компонентов и использования полученного таким образом лекарственного средства по назначению (для наружного или внутреннего применения или для инъекций).
Сущность изобретения заключается в том, что контейнер для хранения компонентов и приготовления лекарственного средства выполнен в виде полого цилиндра, разделенного на по меньшей мере три емкости поперечными перегородками, при этом первая емкость снабжена герметичной крышкой и отделена сплошной перегородкой, остальные перегородки выполнены с центральным отверстием, и вторая емкость в качестве элемента для разрушения перегородок содержит боек, соединенный со штоком, пропущенным через центральные отверстия остальных перегородок и выходящим за пределы корпуса. При этом шток пропущен через отверстия с плотной посадкой и выполнен с возможностью подачи в направлении сплошной перегородки до проламывания ее бойком и оттягивания его назад до упора бойка и проламывания остальных перегородок. Первая емкость снабжена фильтром сетчатым или из нетканого материала, на перегородках выполнена насечка и на конце штока выполнена резьба или паз типа «ласточкин хвост» и шток снабжен кольцом или упором.
Известно достаточно много лекарственных средств, лечебная активность которых сохраняется непродолжительное время – от нескольких часов до нескольких минут. И в то же время существуют условия, например полевые, где или в которых необходимо оказать экстренную помощь именно вышеописанными короткоживущими лекарственными средствами. Заявляемый контейнер как раз и предназначен для длительного хранения короткоживущих лекарственных средств в виде отдельных сухих твердых и жидких компонентов и для быстрого приготовления их путем смешивания.
В качестве материала контейнера используют полимеры или пластмассы, например полистирол, АБС-пластик, поликарбонаты и т.п. материалы, обладающие необходимой прочностью и в то же время способные разрушаться при механическом воздействии.
Технология производства заявляемого контейнера не выходит за рамки известных технологий переработки пластмасс и формования изделий из них путем литья под давлением, горячим прессованием и т.п. Материал контейнера может быть бесцветным, окрашенным прозрачным, матовым, непрозрачным. На корпус контейнера может быть нанесена соответствующая маркировка или необходимые обозначения и технические сведения, например состав компонентов, срок годности, правила использования и т.п.
Размеры и форма контейнера определяются дозировкой хранимого в виде компонент и получаемого в нем лекарственного средства. Число изолированных емкостей в ряду может быть от трех и более в зависимости от числа компонентов, составляющих лекарственное средство.
Боек в соединении со штоком служит средством для последовательного разрушения перегородок между емкостями с компонентами и одновременно средством для принудительного смешивания компонентов. Разумеется, что шток, проходящий через отверстия в перегородках между емкостями, выполнен с плотной посадкой для обеспечения герметичности и недопущения перетока жидких компонент между емкостями в нерабочем состоянии. На конце штока выполнена резьба или паз типа «ласточкин хвост» для крепления кольца или упора.
Форма бойка не является определяющей и может быть различной – круглой, звездчатой, перфорированной и т.д. Основная функция бойка – разрушение перегородок между емкостями.
В перегородках выполнена насечка для облегчения разрушения их при механическом воздействии бойка.
Заполнение емкостей компонентами лекарственного средства не представляет затруднений и может быть осуществлено, например, через отверстия в боковых стенках емкостей с последующей герметизацией. Сущность и особенности, а также принцип работы заявляемого изобретения могут быть более полно представлены, но не исчерпаны пояснительными чертежами.
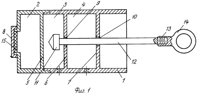
На Фиг.1 представлен заявляемый контейнер в разрезе, вид сбоку.
На Фиг.2 представлен заявляемый контейнер в разрезе, вид сбоку при разрушенной сплошной перегородке.
На Фиг.3 представлен заявляемый контейнер в разрезе, вид сбоку при разрушенной второй перегородке.
Заявляемый контейнер (см. Фиг.1) представляет собой полый цилиндр 1, разделенный на три емкости 2, 3 и 4 поперечными перегородками 5, 6 и 7. Емкость 2 снабжена герметической крышкой 8 и отделена сплошной перегородкой 5. В перегородках 6 и 7 выполнены центральные отверстия 9 и 10. В емкости 3 помещен боек 11, соединенный со штоком 12, пропущенным через центральные отверстия в перегородках 6 и 7. На конце штока выполнена резьба 13, на которой закреплено кольцо 14. Под крышкой 8 в емкости 2 установлен фильтр 15.
Работает контейнер следующим образом.
Перемещают боек 11 (см. Фиг.2) подачей штока 12 в направлении сплошной перегородки 5 до упора и проламывают ее. При этом, например, жидкая среда, содержащаяся в емкости 3, перетекает в емкость 2 и растворяет содержащуюся в ней твердую сухую компоненту. Далее, после полного растворения шток 12 (см. Фиг.3) оттягивают назад до упора бойка 11 в перегородку 6 и проламывают ее. При этом полученный раствор при смешении компонентов из емкостей 2 и 3 смешивается с жидкой или консистентной компонентой, содержащейся в емкости 4. После получения однородной смеси открывают крышку 8 и через фильтр 15 сливают полученное лекарственное средство, например, на тампон или на кожу при наружном употреблении средства. При получении лекарственного средства, предназначенного для инъекций, его соответственно отбирают шприцом и т.д.
Как видно из описания и приведенных пояснительных чертежей, заявляемое изобретение позволяет обеспечить длительное хранение многокомпонентного лекарственного средства в отдельных изолированных емкостях, эффективно смешивать эти компоненты и использовать полученное таким образом лекарственное средство по назначению – для наружного или внутреннего применения или для инъекций.
Источники информации
1. Патент WO 90/03536 А1, М.кл. 6 А 61 J 1/05, опубл. 05.04.1990 года.
2. Патент RU 2103987, М.кл. 6 А 61 J 1/20, опубл. 10.02.1998 г. – прототип.
Формула изобретения
1. Контейнер для хранения компонентов и приготовления лекарственного средства, содержащий полый цилиндр, разделенный поперечными перегородками на, по меньшей мере, три емкости, первая из которых отделена от второй сплошной перегородкой, при этом остальные перегородки выполнены с центральными отверстиями, через которые пропущен шток с элементом разрушения перегородок, отличающийся тем, что первая емкость снабжена герметичной крышкой, элементом разрушения перегородок является боек, а шток выходит за пределы корпуса, пропущен через центральные отверстия с плотной посадкой и выполнен с возможностью подачи в направлении сплошной перегородки до проламывания ее бойком и оттягивания назад до упора бойка и проламывания остальных перегородок.
2. Контейнер по п.1, отличающийся тем, что первая емкость снабжена фильтром сетчатым или из тканого или из нетканого материала.
3. Контейнер по п.1, отличающийся тем, что на поперечных перегородках выполнена насечка.
4. Контейнер по п.1, отличающийся тем, что на конце штока выполнена резьба или паз типа «ласточкин хвост».
5. Контейнер по п.4, отличающийся тем, что шток снабжен кольцом или упором.
РИСУНКИ
MM4A – Досрочное прекращение действия патента СССР или патента Российской Федерации на изобретение из-за неуплаты в установленный срок пошлины за поддержание патента в силе
Дата прекращения действия патента: 13.03.2006
Извещение опубликовано: 27.04.2007 БИ: 12/2007
|