|
| На основании пункта 3 статьи 13 Патентного закона Российской Федерации от 23 сентября 1992 г. № 3517-I патентообладатель обязуется передать исключительное право на изобретение (уступить патент) на условиях, соответствующих установившейся практике, лицу, первому изъявившему такое желание и уведомившему об этом патентообладателя и федеральный орган исполнительной власти по интеллектуальной собственности, – гражданину РФ или российскому юридическому лицу. |
|
(21), (22) Заявка: 2004126017/14, 26.08.2004
(24) Дата начала отсчета срока действия патента:
26.08.2004
(43) Дата публикации заявки: 10.04.2005
(45) Опубликовано: 27.02.2006
(56) Список документов, цитированных в отчете о поиске:
FR 2592579 A1, 10.07.1987. RU 2082374 C1, 27.06.1997. WO 9421211 А, 29.09.1994. JP 4364848 А, 12.17.1992. СА 2134628 А, 29.04.1995.
Адрес для переписки:
115446, Москва, ул. Акад. Миллионщикова, 16, кв.239, Л.Ф. Порядкову
|
(72) Автор(ы):
Порядков Леонид Федорович (RU)
(73) Патентообладатель(и):
Порядков Леонид Федорович (RU)
|
(54) МАССАЖЕР-30
(57) Реферат:
Массажер относится к области медицинской техники и предназначен для проведения лечебного и оздоровительно-профилактического массажа тела. Массажер содержит массажный узел, включающий массажные элементы, надетые на ось с возможностью свободного вращения, Г-образный элемент и соединенную с ним ручку. Массажные элементы с цилиндрической и/или иной формой рабочей поверхности выполнены «холодными» и «горячими» и съемно установлены на оси в порядке чередования, при этом ось консольно соединена с помощью Г-образного элемента с основанием ручки, расположенной перпендикулярно к оси и на равном расстоянии от крайних массажных элементов. Массажный элемент выполнен в виде герметичной емкости, заполненной каким-либо известным веществом с высокой теплоемкостью или веществом, способным сохранять холод. Технический результат – повышение эффективности массажа путем реализации сочетанного и одновременно производимого механического и термоконтрастного воздействия рассредоточенными в определенном порядке разнотемпературными массажными элементами. 2 з.п.ф-лы, 1 ил. 
Изобретение относится к медицинской технике, а именно к устройствам для проведения лечебного и оздоровительно-профилактического массажа тела.
Известно устройство для рефлекторного воздействия на рефлексогенные зоны, состоящее из съемного валика цилиндрической формы, установленного с возможностью свободного вращения на оси, на концах которой укреплены две соосно расположенные ручки [RU 2034529 С1, 10.05.1993]. На поверхности валика сделаны выступы различной формы. При проведении массажа данный массажер, удерживаемый за ручки, движениями вперед-назад прокатывают по соответствующей поверхности тела, осуществляя таким образом массаж, сопровождающийся воздействием на рефлексогенные зоны и биологически активные точки.
Недостаток этого массажера мы усматриваем в том, что производимый с его помощью массаж осуществляется только за счет механического воздействия на тело пациента.
Известен массажер, содержащий полый цилиндрический ролик с выступами на рабочей цилиндрической поверхности, установленный с возможностью свободного вращения на оси, которая консольно соединена со стержневидной ручкой. Последняя располагается в одной плоскости с роликом и перпендикулярно к нему. Основание ручки располагается на одинаковом расстоянии от обоих концов ролика [RU 2113838 C1, 27.06.1998].
Недостаток данного массажера усматривается в низкой эффективности проводимого с его помощью массажа, так как последний осуществляется только за счет механического воздействия на тело пациента и с помощью только одного массажного элемента.
Известен другой массажер, содержащий массажный узел, включающий массажные элементы, надетые на ось с возможностью свободного вращения, Г-образный элемент и соединенную с ним ручку [АС №2134628].
При проведении массажа массажер, удерживаемый за ручку, прокатывают по соответствующей части тела в направлении вперед-назад, производя механический массаж.
Недостаток данного массажера усматривается в том, что проводимый с его помощью массаж является недостаточно эффективным, так как осуществляется за счет только механического воздействия на тело пациента.
Массажер по патенту АС №2134628 рассматривается в качестве прототипа для предлагаемого нами устройства.
Технический результат изобретения заключается в повышении эффективности массажа путем реализации сочетанного и одновременно производимого механического и термоконтрастного воздействия рассредоточенными в определенном порядке разнотемпературными массажными элементами.
Указанный технический результат достигается за счет того, что в известном массажере, содержащем массажный узел, включающий массажные элементы, надетые на ось с возможностью свободного вращения, Г-образный элемент и соединенную с ним ручку, массажные элементы с цилиндрической и/или иной формой рабочей поверхности выполнены “холодными” и “горячими” и съемно установлены на оси в порядке чередования, при этом ось консольно соединена с помощью Г-образного элемента с основанием ручки, расположенной перпендикулярно к оси и на равном расстоянии от крайних массажных элементов. Массажный элемент может быть выполнен в виде герметичной емкости, заполненной каким-либо известным веществом с высокой теплоемкостью или веществом, способным сохранять холод. “Холодные” и “горячие” массажные элементы окрашены в разные цвета.
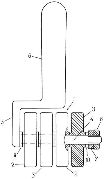
Сущность предлагаемого изобретения поясняется чертежом, на котором представлен общий вид массажера с местным разрезом.
Массажер включает массажный узел 1, который состоит из разнотемпературных (холодных или горячих) съемных массажных элементов 2 и 3, например, в виде дисков с цилиндрической и/или иной формой рабочей поверхности, в порядке чередования и с возможностью свободного вращения надетых на ось 4. К одному концу оси консольно с помощью Г-образного элемента 5 подсоединена стержневидная ручка 6. Последняя расположена перпендикулярно к оси и на равном расстоянии от обоих крайних массажных элементов массажного узла. Продольные перемещения массажных элементов вдоль оси ограничены гайкой 7 и контргайкой 8, которые навинчены на свободный конец оси 4. На ось 4 по обе стороны от массажного узла 1 надеты шайбы 9 и 10.
Массажные элементы могут быть выполнены полыми и заполнены каким-либо веществом с высокой теплоемкостью или веществом, способным сохранять холод. На рабочей поверхности массажных элементов 2 и 3 могут быть сделаны усиливающие массажный эффект выступы различной формы. Для удобства пользования “холодные” и “горячие” термоэлементы окрашены в разные цвета.
Перед проведением массажа массажные элементы 2 предварительно охлаждают, например, в морозильной камере бытового холодильника, а массажные элементы 3, наоборот, нагревают, например, путем погружения их в горячую воду. После этого разнотемпературные массажные элементы 2 и 3 в порядке чередования надевают на ось 4. Затем на нее же надевают шайбу 10 и навинчивают гайку 7 и контргайку 8.
При проведении массажа массажер, удерживаемый за ручку, прокатывают по соответствующей части тела, производя сочетанный механический и термоконтрастный массаж.
Предлагаемый массажер в отличие от устройства-прототипа позволяет повысить эффективность массажа путем реализации сочетанного и одновременно производимого механического и термоконтрастного воздействия рассредоточенными в определенном порядке разнотемпературными массажными элементами.
Формула изобретения
1. Массажер, содержащий массажный узел, включающий массажные элементы, надетые на ось с возможностью свободного вращения, Г-образный элемент и соединенную с ним ручку, отличающийся тем, что массажные элементы с цилиндрической и/или иной формой рабочей поверхности выполнены «холодными» и «горячими» и съемно установлены на оси в порядке чередования, при этом ось консольно соединена с помощью Г-образного элемента с основанием ручки, расположенной перпендикулярно к оси и на равном расстоянии от крайних массажных элементов.
2. Массажер по п.1, отличающийся тем, что массажный элемент выполнен в виде герметичной емкости, заполненной каким-либо известным веществом с высокой теплоемкостью или веществом, способным сохранять холод.
3. Массажер по п.1, отличающийся тем, что «холодные» и «горячие» массажные элементы окрашены в разные цвета.
РИСУНКИ
|
|