|
| На основании пункта 3 статьи 13 Патентного закона Российской Федерации от 23 сентября 1992 г. № 3517-I патентообладатель обязуется передать исключительное право на изобретение (уступить патент) на условиях, соответствующих установившейся практике, лицу, первому изъявившему такое желание и уведомившему об этом патентообладателя и федеральный орган исполнительной власти по интеллектуальной собственности, – гражданину РФ или российскому юридическому лицу. |
|
(21), (22) Заявка: 2004125913/14, 26.08.2004
(24) Дата начала отсчета срока действия патента:
26.08.2004
(43) Дата публикации заявки: 20.12.2004
(45) Опубликовано: 27.02.2006
(56) Список документов, цитированных в отчете о поиске:
FR 2679131 А, 22.01.1993. RU 2082374 C1, 27.06.1997. JP 2000210325 A1, 02.08.2000. US 6129687 А, 10.10.2000. FR 2635974 А, 09.03.1990.
Адрес для переписки:
115446, Москва, ул. Акад. Миллионщикова, 16, кв.239, Л.Ф. Порядкову
|
(72) Автор(ы):
Порядков Леонид Федорович (RU)
(73) Патентообладатель(и):
Порядков Леонид Федорович (RU)
|
(54) МАССАЖЕР-22
(57) Реферат:
Массажер относится к области медицинской техники и предназначен для проведения лечебного и оздоровительно-профилактического массажа тела. Массажер состоит из съемного массажного валика, который с возможностью вращения вокруг оси установлен между боковинами снабженной ручкой скобы и содержит массажный элемент, выполненный с возможностью изменения его температуры. Массажный валик состоит из каркаса в виде пластины с двумя соосными цапфами, расположенными в пазах на концах боковин, на обеих сторонах пластины размещены съемные «холодный» и «горячий» массажные элементы в форме полуцилиндров. На плоских стенках полуцилиндров сделаны продольные фигурные пазы, взаимодействующие с ответными элементами соответствующей формы, наличествующими на обеих сторонах пластины. Осевые перемещения массажных элементов ограничены двумя укрепленными на цапфах дисками, по крайней мере один из которых является съемным. Массажный элемент выполнен в виде герметичной емкости, заполненной каким-либо термоаккумулирующим веществом или веществом, способным сохранять холод. На рабочей цилиндрической поверхности массажных элементов сделаны выступы разной формы. Технический результат – повышение терапевтической эффективности массажа за счет реализации сочетанного и одновременно производимого механического и термоконтрастного воздействия рассредоточенными в определенном порядке разнотемпературными массажными элементами. 3 з.п.ф-лы, 4 ил. 
Изобретение относится к медицинской технике, а именно к устройствам для проведения лечебного и оздоровительно-профилактического массажа тела.
Известен массажер, который по одному из вариантов изготовления состоит из корпуса в виде скобы, между параллельными элементами которой на оси установлен массажный валик с укрепленными на его поверхности массажными элементами в форме цилиндрических выступов, которые ориентированы в радиальном направлении. На скобе укреплена ручка [GB 2303793 А, 05.03.1997]. При проведении массажа массажный валик покатывают по поверхности тела.
Недостаток массажера заключается в том, что производимый им массажный эффект ограничивается только механическим воздействием.
Известен массажер, состоящий из полого цилиндра, со стороны торцов снабженного соосно расположенными ручками и заполненного каким-либо термоаккумулирующим веществом или веществом, способным сохранять холод [FR 2592579 А1, 10.07.1987].
Перед использованием массажер, в зависимости от требований к соответствующей физиотерапевтической процедуре, заполняют или соответствующим охлажденным веществом, или же нагретым термоаккумулирующим веществом. Устройство, удерживаемое руками за обе ручки, прокатывают по соответствующей части тела в направлении вперед-назад, производя сочетанный механический и термический массаж. При этом за счет растирающего и разминающего воздействия реализуется несколько видов механического массажа – массаж трением скольжения и массаж трением качения.
Недостаток данного массажера усматривается в том, что проводимый с его помощью массаж является недостаточно эффективным, так как осуществляется только за счет механического и однотемпературного термического воздействия на тело пациента.
Известен массажер, состоящий из охлаждаемого до -20°С массажного валика, с возможностью вращения установленного между боковинами скобы. На скобе укреплена стержневидная ручка. Данный массажер предназначен для использования преимущественно в косметологии [FR 2679131 A1, 22.01.1993]. Этот массажер позволяет производить сочетанный механический и термический массаж.
Недостаток устройства усматривается в том, что производимое им термическое воздействие на тело пациента ограничивается только низкими температурами.
Массажер по патенту FR 2679131 по своей технической сущности наиболее близок к заявленному нами устройству и поэтому рассматривается в качестве прототипа.
Технический результат изобретения заключается в повышении эффективности массажа путем реализации сочетанного и одновременно производимого механического и термоконтрастного воздействия рассредоточенными в определенном порядке разнотемпературными массажными элементами.
Указанный технический результат достигается за счет того, что в известном массажере, состоящем из съемного массажного валика, который с возможностью вращения вокруг оси установлен между боковинами снабженной ручкой скобы и содержит массажный элемент, выполненный с возможностью изменения его температуры, массажный валик состоит из каркаса в виде пластины с двумя соосными цапфами, расположенными в пазах на концах боковин, на обеих сторонах пластины размещены съемные “холодный” и “горячий” массажные элементы в форме полуцилиндров, на плоских стенках которых сделаны продольные фигурные пазы, взаимодействующие с ответными элементами соответствующей формы, наличествующими на обеих сторонах пластины, а осевые перемещения массажных элементов ограничены двумя укрепленными на цапфах дисками, по крайней мере один из которых является съемным. Массажный элемент может быть выполнен в виде герметичной емкости, заполненной каким-либо термоаккумулирующим веществом или веществом, способным сохранять холод. На рабочей цилиндрической поверхности массажных элементов сделаны выступы разной формы. Для удобства пользования “холодные” и “горячие” массажные элементы окрашены в разные цвета.
Сущность предлагаемого изобретения поясняется чертежами, где:
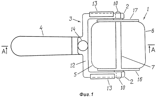
на фиг.1 представлен вид массажера сверху;
на фиг.2 – продольный разрез массажера в плоскости А-А на фиг.1;
на фиг.3 – вид массажера сбоку;
на фиг.4 – вариант выполнения масажера.
Массажер по первому варианту исполнения содержит легко и быстро снимаемый массажный валик 1 (фиг.1-4), с возможностью вращения вокруг оси, установленный между параллельными боковинами 2 скобы 3, и укрепленную на скобе ручку 4. Массажный валик 1 состоит из двух съемных разнотемпературных массажных элементов 5 и 6, смонтированных с двух сторон на каркасе в виде пластины 7. Массажные элементы выполнены в форме полуцилиндров, для крепления которых на их плоских стенках сделаны продольные фигурные пазы 8, взаимодействующие с ответными элементами (выступами) 9 соответствующей формы, имеющимися на обеих сторонах пластины. На противоположных концах пластины имеются две соосные цапфы 10, которые установлены в пазах 11, сделанных на концах боковин 2. Выходы из пазов 11 перекрываются щеколдой 12, наложенной на скобу 3 и в общих своих чертах повторяющей ее форму. Направленные перемещения щеколды 12 обеспечиваются за счет ее размещения в параллельных пазах, сделанных в бортиках 13 вдоль наружных краев боковин 2. Фиксация щеколды производится с помощью винта 14, ввинчиваемого в резьбовое отверстие 15 у основания ручки 4. Осевые перемещения массажных элементов ограничены двумя дисками 16 и 17, размещенными на цапфах 10 у торцов пластины 7, причем диск 16 жестко связан с пластиной, а диск 17 имеет центральное отверстие и надет на цапфу 10 с возможностью снятия.
На фиг.4 представлен второй вариант исполнения массажера-22, отличительной особенностью которого является то, что скоба 3 и ручка 4 в нем выполнены разъемными. Разъем сделан в плоскости симметрии, проходящей вдоль ручки и через центр скобы на равном расстоянии от боковин 2. Цапфы 10 вставлены в отверстия на концах боковин 2. Соединение обеих частей скобы и ручки осуществляется с помощью винта 18, установленного в соосных резьбовых отверстиях у основания ручки 4. Для достижения необходимого взаиморасположения обеих частей устройства на одной из составных частей ручки 4 сделаны направляющие штыри 19, вставленные в соответствующие отверстия в другой ее составляющей. При таком исполнении устройства отпадает необходимость в щеколде 12.
Массажный элемент может быть выполнен в виде герметичной емкости, заполненной каким-либо известным веществом с высокой теплоемкостью или веществом, способным сохранять холод. На рабочей цилиндрической поверхности массажных элементов могут быть сделаны усиливающие массажный эффект выступы разной формы. Для удобства пользования “холодные” и “горячие” массажные элементы окрашены в разные цвета.
Перед проведением массажа массажный элемент 5 предварительно охлаждают, например, в морозильной камере бытового холодильника, а массажный элемент 6, наоборот, нагревают, например, путем погружения в горячую воду. После этого производят сборку массажера. Для этого холодный массажный элемент крепят на одной стороне пластины 7, а горячий – на другой ее стороне. Фиксация массажных элементов осуществляется при вхождении фигурных выступов 9 в пазы 8 на плоских стенках полуцилиндров. На цапфу 10 надевают диск 17 и затем (в устройстве по первому варианту исполнения) обе цапфы вставляют в пазы 11 на концах боковин 2. Выходы из пазов перекрывают с помощью щеколды 12, которую затем фиксируют у основания ручки 4 с помощью винта 14. Для перемещений щеколды 12 в качестве ручки используют винт 14.
Во втором варианте массажера цапфы 10 собранного массажного валика 1 вставляют в отверстия на концах боковин 2, сопоставляют составные части устройства и затем соединяют их с помощью винта 18.
При проведении массажа массажный валик устройства с необходимым усилием прижимают к поверхности соответствующей части тела и прокатывают вперед-назад и в различных направлениях. При этом смежные участки тела в зоне расположения двух соседних массажных элементов одновременно подвергаются сочетанному механическому и ритмично меняющемуся разнотемпературному воздействию.
При использовании предлагаемого устройства повышается терапевтическая эффективность массажа за счет реализации сочетанного и одновременно производимого механического и термоконтрастного воздействия рассредоточенными в определенном порядке разнотемпературными массажными элементами.
Формула изобретения
1. Массажер, состоящий из съемного массажного валика, который с возможностью вращения вокруг оси установлен между боковинами снабженной ручкой скобы и содержит массажный элемент, выполненный с возможностью изменения его температуры, отличающийся тем, что массажный валик состоит из каркаса в виде пластины с двумя соосными цапфами, расположенными в пазах на концах боковин, на обеих сторонах пластины размещены съемные «холодный» и «горячий» массажные элементы в форме полуцилиндров, на плоских стенках которых сделаны продольные фигурные пазы, взаимодействующие с ответными элементами соответствующей формы, наличествующими на обеих сторонах пластины, а осевые перемещения массажных элементов ограничены двумя укрепленными на цапфах дисками, по крайней мере один из которых является съемным.
2. Массажер по п.1, отличающийся тем, что массажный элемент выполнен в виде герметичной емкости, заполненной каким-либо термоаккумулирующим веществом или веществом, способным сохранять холод.
3. Массажер по п.1, отличающийся тем, что на рабочей цилиндрической поверхности массажных элементов сделаны выступы разной формы.
4. Массажер по п.1, отличающийся тем, что для удобства пользования «холодные» и «горячие» массажные элементы окрашены в разные цвета.
РИСУНКИ
|
|