|
|
(21), (22) Заявка: 2001124569/14, 04.09.2001
(24) Дата начала отсчета срока действия патента:
04.09.2001
(30) Конвенционный приоритет:
05.09.2000 (пп.1-13) US 09/655,457
(43) Дата публикации заявки: 10.06.2003
(45) Опубликовано: 27.02.2006
(56) Список документов, цитированных в отчете о поиске:
US 5176615 А, 05.01.1993. US 5714027 А, 03.02.1998. RU 2089081 C1, 10.09.1997.
Адрес для переписки:
129010, Москва, ул. Б.Спасская, 25, стр.3, ООО “Юридическая фирма Городисский и Партнеры”, пат.пов. Г.Б. Егоровой
|
(72) Автор(ы):
НГ Тони (US)
(73) Патентообладатель(и):
МакНЕЙЛ-ППС, ИНК. (US)
|
(54) УСТРОЙСТВО И СПОСОБ ДЛЯ ЗАГИБАНИЯ ПОЛОСЫ МАТЕРИАЛА КРЫЛЫШЕК ГИГИЕНИЧЕСКОЙ ПРОКЛАДКИ
(57) Реферат:
Настоящее изобретение относится к гигиенической прокладке с крылышками, загнутыми на сторону основного тела прокладки и временно удерживаемыми в этом положении с помощью штифта. После этого, по меньшей мере, один конец прокладки загибают на крылышки, тем самым он удерживает крылышки в их загнутом сложенном положении. Затем штифт выводят из контакта с прокладкой. Технический результат – возможность механического удерживания крылышек в сложенном положении в процессе изготовления без использования клеящих средств. 2 н. и 11 з.п. ф-лы, 8 ил. 
ОБЛАСТЬ ТЕХНИКИ, К КОТОРОЙ ОТНОСИТСЯ ИЗОБРЕТЕНИЕ
Данное изобретение направлено на гигиенические прокладки с крылышками. Более точно данное изобретение относится к эффективному устройству и способу загибания и закрепления этих крылышек во время процесса изготовления гигиенических прокладок.
ПРЕДПОСЫЛКИ СОЗДАНИЯ ИЗОБРЕТЕНИЯ
Гигиенические прокладки с крылышками, проходящими наружу от краев продольных сторон, хорошо известны в данной области техники. Например, в патентах США 4589876, выданном 20 мая 1986 на имя Van Tilburg, и 4687478, выданном 18 августа 1987 на имя Van Tilburg, раскрыты предпочтительные гигиенические прокладки с крылышками, и указанные патенты включены в данное описание путем ссылки для иллюстрации конструкций гигиенических прокладок с крылышками.
В данной области техники также хорошо известно загибание крылышек с тем, чтобы они были наложены на основное тело прокладки во время процесса изготовления. Например, в патенте США 4759754, выданном на имя Korpman, клеящий язычок используется для удерживания крылышек в заданном положении, при котором они наложены на задний лист в процессе упаковки. В патенте США 4701178, выданном 20 октября 1987 на имя Glaug и др., описана гигиеническая прокладка, имеющая одну съемную полоску, которая покрывает находящееся в центре клеящее вещество заднего листа и поверх которой загнуты крылышки.
Альтернативное средство для удерживания крылышек в загнутом сложенном положении перед первым использованием гигиенической прокладки пользователем показано, например, в патенте США 4285343, выданном на имя McNair, в котором описана гигиеническая прокладка с крылышками (боковыми полосками), которые путем загибания наложены на верхнюю поверхность центрального абсорбирующего элемента для упаковки. Во время первого использования прокладки крылышки обычно отгибают для облегчения размещения гигиенической прокладки в нижнем белье пользователя. Пятна клеящего вещества на обращенной к одежде поверхности крылышек закрыты отдельными полосками съемной бумаги.
Альтернативный способ удерживания крылышек на месте состоит в использовании съемной бумажной полоски, которая находится на скрепляющем клеящем веществе, нанесенном на крылышки. В Европейском патенте ЕР 0347319 В1, выданном на имя Marsot, и в международной заявке WO 88/04546, принадлежащей Ternstrom, описано использование одной съемной бумажной полоски в виде перекрывающей полоски, покрывающей пятна клеящего вещества на крылышках, для удерживания крылышек в загнутом сложенном положении перед первым использованием гигиенической прокладки пользователем.
Два дополнительных примера данного способа показаны в патенте США 5800654, выданном на имя Davis и др., и в патенте США 5662639, выданном на имя Tanaka и др. При данных способах скрепляющее клеящее вещество на крылышках нанесено обычным образом, то есть с помощью метода покрытия путем переноса, и один лист съемной бумаги служит как в качестве защитной отрывной полоски для покрытых клеящим веществом крылышек, так и в качестве средства удерживания крылышек в их загнутом сложенном положении.
Применение этих способов связано с рядом недостатков. Эти способы требуют точного нанесения дополнительных клеящих веществ и точного размещения дополнительных материалов. В частности, в том случае, когда крылышки загнуты и наложены на обращенную к телу сторону прокладки, клеящие вещества не должны входить в непосредственный контакт с абсорбирующим материалом гигиенической прокладки, поскольку такой контакт отрицательно повлиял бы на абсорбционную способность этого материала, а также привел бы к недовольству пользователя, вызванному как внешним видом изделий, так и уровнем комфорта в процессе использования.
Кроме того, использование дополнительной полоски для удерживания крылышек в их загнутом сложенном положении требует дополнительных затрат на материалы во время изготовления и создает неудобства для пользователя, поскольку ему требуется выбрасывать этот материал во время использования. Кроме того, при данном способе требуется, чтобы крылышки удерживались по существу в параллельном положении друг относительно друга. Если одно или оба крылышка окажутся косо расположенными в процессе изготовления, клеящее вещество не будет нанесено надлежащим образом на одно или оба крылышка, что делает это клеящее вещество бесполезным. Один способ решения этой проблемы состоит в том, что отрывную полоску делают довольно большой, чтобы она была приспособлена к такому возможному перекосу, в результате чего усугубляются проблемы, связанные с расходами и выбрасыванием материала отрывной полоски.
СУЩНОСТЬ ИЗОБРЕТЕНИЯ
Соответственно задачей настоящего изобретения является преодоление определенных проблем, характерных для предшествующего уровня техники. В частности, задачей данного изобретения является разработка средства, предназначенного для механического удерживания крылышек в их сложенном загнутом положении в процессе изготовления и для того, чтобы делать это без необходимости использования дополнительных клеящих веществ или материалов.
В соответствии с настоящим изобретением было разработано новое устройство для загибания полосы материала крылышек поверх основного тела гигиенической прокладки. Это устройство содержит: конвейерное средство, имеющее по существу постоянную скорость и предназначенное для транспортирования гигиенической прокладки, которая имеет полосу проходящего в поперечном направлении материала крылышек; средство загибания крылышек, предназначенное для загибания материала крылышек на указанное основное тело гигиенической прокладки; средство шагового перемещения, содержащее пару расположенных на определенном расстоянии друг от друга зубчатых ремней для штифта, причем каждый из указанных ремней имеет прикрепленный к нему выступающий элемент, и штифт между указанными выступающими элементами, при этом указанный штифт имеет два конца, каждый конец установлен на соответствующем выступающем элементе, указанные зубчатые ремни для штифта сообщают переменную скорость движения указанному штифту и создают воспроизводимые линейные и нелинейные зависимости между скоростями указанного штифта и указанного конвейерного средства; средство складывания прокладки, предназначенное для складывания гигиенической прокладки таким образом, чтобы после завершения складывания поперечная концевая часть гигиенической прокладки лежала на указанной полосе материала крылышек; причем указанный штифт выполнен с возможностью входа в контакт с указанной полосой материала крылышек и удерживания полосы материала крылышек на указанном основном теле гигиенической прокладки от указанного средства загибания крылышек до указанного средства складывания прокладки, при этом после завершения складывания гигиенической прокладки на средстве складывания прокладки указанный штифт имеет скорость, которая меньше скорости указанного конвейерного средства, в результате чего штифт и гигиеническая прокладка больше не контактируют друг с другом.
Также в соответствии с настоящим изобретением разработан новый способ загибания полосы материала крылышек при непрерывном производственном процессе изготовления абсорбирующих изделий, включающий в себя операции транспортирования гигиенических прокладок вдоль конвейерного средства, при этом каждая прокладка имеет полосу проходящего в поперечном направлении материала крылышек; загибания указанного материала крылышек на указанное основное тело гигиенической прокладки; обеспечения средства шагового перемещения, имеющего пару расположенных на определенном расстоянии друг от друга зубчатых ремней для штифта, причем каждый из указанных ремней имеет, по меньшей мере, один прикрепленный к нему выступающий элемент, при этом каждый указанный выступающий элемент на одном зубчатом ремне имеет соответствующий ему аналогичный выступающий элемент на указанном втором зубчатом ремне, штифт между указанными аналогичными выступающими элементами, при этом указанный штифт имеет два конца, каждый конец установлен на соответствующем выступающем элементе, в результате чего штифт оказывается расположенным по существу перпендикулярно обоим зубчатым ремням, указанные зубчатые ремни для штифта сообщают переменную скорость указанному штифту и создают воспроизводимые линейные и нелинейные зависимости между скоростями штифта и указанного конвейерного средства; складывания указанной гигиенической прокладки таким образом, чтобы после завершения складывания поперечная концевая часть гигиенической прокладки лежала на указанной полосе материала крылышек; введение указанного штифта в контакт с гигиенической прокладкой, чтобы тем самым удерживать указанную полосу материала крылышек на указанном основном теле гигиенической прокладки между указанными операциями загибания материала крылышек и складывания гигиенической прокладки; и выведение указанного штифта из контакта с указанной гигиенической прокладкой после завершения операции складывания гигиенической прокладки.
КРАТКОЕ ОПИСАНИЕ ЧЕРТЕЖЕЙ
Фиг.1 представляет собой перспективное изображение, показывающее такую гигиеническую прокладку, которая может быть сложена в соответствии со способом и с помощью устройства по настоящему изобретению, при этом гигиеническая прокладка изображена с крылышками, находящими в загнутом сложенном положении.
Фиг.2 представляет собой соответствующий предшествующему техническому уровню вид сверху механизма складывания прокладки.
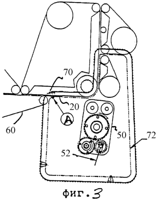
Фиг.3-6 представляют собой виды сверху устройства по настоящему изобретению, изображающие траекторию перемещения штифта относительно положения прокладки на конвейере и соответствующие положения проталкивающего ножа.
Фиг.7 представляет собой трехмерное частичное изображение штифта и связанных с ним элементов по настоящему изобретению.
Фиг.8 представляет собой вид сверху траектории перемещения штифта по настоящему изобретению.
ПОДРОБНОЕ ОПИСАНИЕ ИЗОБРЕТЕНИЯ
Дополнительные признаки и преимущества изобретения станут очевидными из нижеприведенного подробного описания, приложенных чертежей и неограничивающих примеров.
Изобретение включает в себя способ и устройство для загибания и удерживания крылышек гигиенической прокладки в их загнутом сложенном положении. Подобная типовая гигиеническая прокладка изображена на фиг.1. Гигиеническая прокладка 20 приспособлена для ношения ее в нижнем белье пользователя и используется для улавливания влагалищных выделений, таких как менструальные выделения, и предотвращения пачкания одежды подобными выделениями. Гигиеническая прокладка 20 имеет проницаемый для жидкости верхний лист 22, не проницаемый для жидкости задний лист 24 и абсорбирующую центральную часть 26 между верхним листом 22 и задним листом 24. Как дополнительно показано на фиг.1, два крылышка 28 проходят от противоположных в поперечном направлении боковых краев 30 основного тела гигиенической прокладки. Эти крылышки выполнены с возможностью загибания их поверх промежностной части нижнего белья пользователя.
На гигиенической прокладке 20 имеется средство, такое как клеящее вещество, предназначенное для крепления гигиенической прокладки 20 к нижнему белью пользователя с возможностью отсоединения. В частности, такие прокладки, как правило, имеют одну или более клеящих зон 42, расположенных по существу в центральной зоне обращенной к одежде стороны не проницаемого для жидкости заднего листа 24. Кроме того, как показано на фиг.1, каждое крылышко 28 имеет клеящую зону 40. Предпочтительно, каждая такая клеящая зона находится на той стороне крылышка, которая контактирует с нижним бельем пользователя. Кроме того, каждая такая клеящая зона 40 покрыта съемной полоской 46.
На фиг.1 крылышки показаны сложенными поверх верхнего листа 22 обращенной к телу стороне прокладки, перед использованием. Такую конфигурацию предпочитает большинство пользователей, поскольку она облегчает удаление съемных полосок 46 и надлежащее размещение клеящего вещества крылышек на нижнем белье.
Как хорошо известно в данной области техники, формирование прокладки происходит в процессе перемещения отдельных прокладок вдоль конвейера. Эти отдельные прокладки имеют шаг, соответствующий размеру гигиенической прокладки по длине. То есть в используемом здесь смысле «шаг» представляет собой расстояние в продольном направлении между соответствующими точками соседних гигиенических прокладок 20 в процессе их транспортирования на конвейерном средстве.
В предпочтительном варианте осуществления настоящего изобретения подача прокладок в систему обертывания/складывания происходит снизу с помощью вакуумного средства, предназначенного для временного удерживания гигиенических прокладок 20 у нижней стороны конвейера. При такой конфигурации крылышки 28 гигиенических прокладок 20 могут быть загнуты вниз поверх верхних листов 22, так что поверхности крылышек 28, по существу имеющие одинаковую протяженность с задним листом 24, оказываются открытыми для воздействия и обращенными вниз, когда прокладка поступает в механизм складывания прокладки.
В предпочтительном варианте осуществления настоящего изобретения операция складывания прокладки предусматривает использование средства в виде проталкивающего ножа. Использование такого средства фальцевания (складывания) хорошо известно в данной области техники и раскрыто, например, в патенте США 5176615, выданном на имя Munsch. На фиг.2 показано такое средство 50 складывания прокладок, которое изображено в виде средства, в котором применяется проталкивающий нож 52 для инициирования складывания гигиенической прокладки 20, когда прокладка перемещается вдоль конвейерного средства 60.
На фиг.2 не показано наличие загнутых сложенных крылышек на нижней стороне прокладки, когда она поступает в средство складывания прокладок. Как правило, наличие крылышек, загнутых и сложенных в этом положении, требует обязательного приклеивания язычка поверх крылышек перед осуществлением процесса складывания прокладки, чтобы предотвратить раскрывание и/или перекашивание крылышек. Хотя эта проблема является более острой в случае крылышек на нижней стороне прокладки, следует отметить, что при определенной скорости перемещения прокладки вдоль конвейера раскрывание/перекашивание крылышек может иметь место даже в том случае, если производственный процесс осуществляется таким образом, что сила тяжести способствует удерживанию крылышек в их загнутом сложенном положении (например, когда прокладка находится на верхней поверхности конвейера и крылышки загнуты поверх верхней стороны прокладки). Настоящее изобретение применимо для любого относительного положения крылышек и, как указано выше, благодаря удерживанию крылышек в их загнутом сложенном положении устраняет необходимость в использовании материала для язычков.
Как показано на фиг.3, в предпочтительном варианте осуществления изобретения используют один или более штифтов 70, которые проходят поперек траектории 72 перемещения штифтов в виде замкнутого контура вокруг средства 50 для складывания прокладок. Длина траектории перемещения штифтов определена таким образом, что в случае наличия только одного штифта он будет проходить всю траекторию перемещения штифта в течение периода времени, соответствующего шагу прокладок 20 при их перемещении по конвейеру. В предпочтительном варианте осуществления изобретения имеются два или более штифта, и длина траектории перемещения штифтов такова, что, когда следующие друг за другом прокладки приближаются к средству складывания прокладок, штифт входит в контакт с крылышками прокладки по существу в одной и той же точке «А» контакта на траектории конвейера. Возможность синхронизировать такую механическую операцию относительно длительности шага хорошо известна из предшествующего уровня техники.
Эта точка «А» контакта находится в том месте вдоль конвейерного средства, к которому прокладка приближается уже в том виде, когда крылышки прокладки загнуты к нижней стороне прокладки. Такое загибание крылышек хорошо известно из предшествующего уровня техники и рассмотрено, например, в патенте США 5714027, выданном на имя Taub.
В предпочтительном варианте осуществления настоящего изобретения и как дополнительно показано на фиг.3, эта точка контакта штифта находится на небольшом расстоянии от того места, где конвейер, используемый для создания опоры для нижней стороны прокладки, поворачивается вниз, прокладка в этом случае располагается внизу и перемещается с помощью следующего конвейерного механизма, в котором используется действие вакуума для крепления прокладки.
Как показано на фиг.4, штифт 70 затем продолжает перемещаться вдоль траектории перемещения штифта, в результате чего он остается по существу параллельным конвейерному средству 60, когда прокладка 20 перемещается от положения «А» до точки, в которой проталкивающий нож входит в контакт с прокладкой, а именно точки «В». Когда прокладка проходит это расстояние, крылышки прокладки удерживаются в их загнутом сложенном положении с помощью штифта.
В предпочтительном варианте осуществления изобретения и как показано на фиг.5, штифт 70 остается в контакте с гигиенической прокладкой 20 до тех пор, пока прокладка не будет сложена – что показано позицией С. В качестве примера можно указать на вариант, при котором, как показано на фиг.1, поперечная концевая часть 38 прокладки будет загнута вдоль линии 36 сгиба, в результате чего она окажется расположенной над сложенными крылышками прокладки и, следовательно, будет удерживать крылышки в их загнутых сложенных положениях.
Как дополнительно показано на фиг.5, в точке «С» траектория перемещения штифта перестает проходить по существу параллельно конвейерному средству. Более того, как показано на фиг.6, в точке «D» направление перемещения штифта отклоняется от направления перемещения прокладки 20, в результате чего обеспечивается возможность дальнейшего перемещения сложенной прокладки вдоль конвейерного средства для последующей обработки без контакта ее со штифтом. Такая последующая обработка может включать в себя дополнительные операции складывания и упаковывания, но может быть не ограничена указанными операциями.
Как показано на фиг.7, штифт содержит два параллельных зубчатых ремня, каждый из которых имеет, по меньшей мере, один выступающий элемент 82, причем указанные выступающие элементы расположены парами между зубчатыми ремнями. Стержень 80 штифта закреплен между взаимосвязанными парами указанных выступающих элементов. Каждый зубчатый ремень образует замкнутый контур с длиной шага, которая кратна расстоянию между стержнями. Таким образом, положение стержня штифта всегда одно и то же после каждого цикла.
Как было отмечено выше и как показано на фиг.3, 6 и 8, траектория 72 перемещения штифта спроектирована таким образом, что штифт перемещается по той же траектории, что и прокладка, от того момента, когда прокладка поступает на операцию складывания прокладки (позиция А на фиг.3), до того момента, когда прокладка выйдет из средства для сгибания (складывания) (позиция D на фиг.6). По мере того, как ремень совершает движение по заданной для него траектории, он совершает повороты внутрь и наружу для образования замкнутого контура.
Как хорошо известно в данной области техники, движение штифта относительно конвейерного средства может быть рассчитано математически. Этот анализ начинается с того, что определяют расчетную линию 88 как геометрический центр зубчатого ремня 86. Как показано на фиг.7, поддержание расстояния в перпендикулярном направлении или расстояния D, определяемого высотой выступающего элемента, от стержня 80 штифта до расчетной линии 88, равным радиусу R кривизны расчетной линии на повороте внутрь (то есть D=R), приводит к задержке штифта на этом внутреннем радиусе с продолжительностью, определяемой углом обхвата, где угол обхвата соответствует длине дуги контакта зубчатых ремней для штифтов со звездочкой или шкивом. Продолжительность остановки будет пропорциональна углу обхвата. Кроме того, если угол обхвата составляет 90 градусов, штифт совершит поворот на прямой угол.
Работа этого механизма задержки в предпочтительном варианте осуществления настоящего изобретения отражена на фиг.7. Выступающий элемент штифта находится в положении, соответствующем 9 часам на циферблате часов, когда он перемещается в точку «D», показанную на фиг.6. Когда затем выступающий элемент перемещается из этого положения, соответствующего 9 часам, в положение, соответствующее 12 часам, стержень штифта остается неподвижным. После этого траектория движения штифта проходит в направлении, перпендикулярном конвейеру для прокладок, и в сторону от него. Следовательно, эта задержка и движение под прямым углом приводят к тому, что штифт выходит из контакта с прокладкой, когда прокладка продолжает перемещаться по конвейеру за позицией D.
Вышеприведенные описание и варианты осуществления представлены для того, чтобы способствовать полному и неограничивающему пониманию раскрытого здесь изобретения. Поскольку множество модификаций и вариантов осуществления изобретения может быть выполнено, не отходя от идеи и объема изобретения, изобретение определяется приложенными ниже пунктами формулы изобретения.
Формула изобретения
1. Устройство для загибания полосы материала крылышек для наложения ее на основное тело гигиенической прокладки, содержащее конвейерное средство, имеющее по существу постоянную скорость и предназначенное для транспортирования указанной гигиенической прокладки, которая имеет полосу проходящего в поперечном направлении материала крылышка, средство загибания крылышек, предназначенное для загибания материала крылышек на указанное основное тело гигиенической прокладки, средство шагового перемещения, содержащее пару расположенных на определенном расстоянии друг от друга зубчатых ремней для штифта, каждый из которых имеет прикрепленный к нему выступающий элемент и штифт между указанными выступающими элементами, при этом указанный штифт имеет два конца, каждый конец закреплен на соответствующем выступающем элементе, причем указанные зубчатые ремни для штифта выполнены с возможностью сообщения переменной скорости движения указанному штифту и создания воспроизводимых линейных и нелинейных зависимостей между скоростями указанного штифта и указанного конвейерного средства, средство складывания прокладки, предназначенное для складывания гигиенической прокладки таким образом, чтобы после завершения складывания поперечная концевая часть указанной гигиенической прокладки лежала на указанной полосе материала крылышек, в котором указанный штифт выполнен с возможностью входа в контакт с указанной полосой материала крылышек и удерживания полосы материала крылышек на указанном основном теле гигиенической прокладки от указанного средства загибания крылышек до указанного средства складывания прокладки, при этом после завершения складывания гигиенической прокладки на указанном средстве складывания прокладки указанный штифт имеет скорость, которая меньше скорости указанного конвейерного средства, в результате чего прекращается контакт между указанным штифтом и указанной гигиенической прокладкой.
2. Устройство по п.1, в котором указанное средство шагового перемещения имеет множество указанных штифтов.
3. Устройство по п.2, в котором каждый указанный штифт выполнен с возможностью перемещения в течение первого интервала, по существу, параллельно конвейерному средству и с той же скоростью, что и конвейерное средство, в течение второго интервала перемещение каждого указанного штифта отсутствует, в течение третьего интервала каждый указанный штифт выполнен с возможностью перемещения в сторону от конвейерного средства.
4. Устройство по п.3, в котором указанное средство складывания прокладки включает в себя средство в виде проталкивающего ножа.
5. Устройство по п.4, в котором указанное средство шагового перемещения содержит зубчатый ремень для штифта, образующий замкнутый контур вокруг указанного средства в виде проталкивающего ножа, причем указанный замкнутый контур образует траекторию перемещения штифта.
6. Устройство по п.5, в котором указанное конвейерное средство обеспечивает транспортирование множества гигиенических прокладок, причем указанное конвейерное средство имеет шаг, при котором между соответствующими точками соседних гигиенических прокладок имеется, по существу, постоянное расстояние в продольном направлении и указанный замкнутый контур совершает полный циклический оборот, кратный шагу, при этом каждый указанный штифт оказывается на том же месте после каждого цикла.
7. Устройство по п.6, в котором штифт выполнен с возможностью проходить, по существу, по той же траектории, что и конвейерное средство, от момента, когда гигиеническая прокладка поступает на указанное средство складывания прокладки, до того момента, когда она оставит указанное средство.
8. Устройство по п.7, в котором указанное средство загибания крылышек обеспечивает загибание указанного материала крылышек на обращенную к телу сторону указанного основного тела гигиенической прокладки.
9. Устройство по п.1, в котором указанные способные повторяться линейные и нелинейные зависимости между скоростями указанного штифта и указанного конвейерного средства, по меньшей мере, частично создаются благодаря заранее заданным угловым положениям указанного выступающего элемента по отношению к соответствующему ему зубчатому ремню для штифта.
10. Способ загибания полосы материала крылышек для наложения ее на основное тело гигиенической прокладки при непрерывном производственном процессе изготовления абсорбирующих изделий, при котором осуществляют транспортирование следующих одна за другой гигиенических прокладок вдоль конвейерного средства, при этом каждая прокладка имеет полосу проходящего в поперечном направлении материала крылышек, загибание указанного материала крылышек на указанное основное тело гигиенической прокладки, обеспечение средства шагового перемещения, имеющего пару расположенных на определенном расстоянии друг от друга зубчатых ремней для штифта, причем каждый из указанных ремней имеет один прикрепленный к нему выступающий элемент, и штифт между указанными выступающими элементами, имеющий два конца, причем каждый конец закреплен на соответствующем выступающем элементе, указанные зубчатые ремни для штифта сообщают переменную скорость движения указанному штифту и создают воспроизводимые линейные и нелинейные зависимости между скоростями указанного штифта и указанного конвейерного средства, складывание указанной гигиенической прокладки таким образом, чтобы после завершения складывания поперечная концевая часть гигиенической прокладки лежала на указанной полосе материала крылышек, введение указанного штифта в контакт с гигиенической прокладкой, чтобы удерживать указанную полосу материала крылышек на основном теле гигиенической прокладки между операциями загибания материала крылышек и складывания гигиенической прокладки, выведение указанного штифта из контакта с гигиенической прокладкой после завершения операции складывания гигиенической прокладки.
11. Способ по п.10, при котором операция выведения из контакта указанного штифта включает в себя операцию уменьшения скорости штифта до скорости, которая меньше скорости указанного конвейерного средства.
12. Способ по п.11, при котором указанная операция складывания гигиенической прокладки предусматривает использование средства в виде проталкивающего ножа.
13. Способ по п.12, при котором указанная операция складывания дополнительно включает в себя загибание материала крылышек на обращенную к телу сторону основного тела гигиенической прокладки.
РИСУНКИ
MM4A – Досрочное прекращение действия патента СССР или патента Российской Федерации на изобретение из-за неуплаты в установленный срок пошлины за поддержание патента в силе
Дата прекращения действия патента: 05.09.2007
Извещение опубликовано: 20.07.2010 БИ: 20/2010
|
|