|
|
(21), (22) Заявка: 2004137581/14, 22.12.2004
(24) Дата начала отсчета срока действия патента:
22.12.2004
(45) Опубликовано: 27.02.2006
(56) Список документов, цитированных в отчете о поиске:
RU 2139011 C1, 10.10.1999. RU 2204960 C2, 27.05.2003. SU 1718893 A1, 15.03.1992. RU 2233642 C2, 10.08.2004. DE 19726725 A1, 02.01.1998. EP 1059068 A2, 07.06.2000. DE 3922078 C1, 15.11.1990.
Адрес для переписки:
355017, г.Ставрополь, ул. Мира, 310, Медакадемия, патентный отдел
|
(72) Автор(ы):
Долгалев Александр Анатольевич (RU), Брагин Евгений Александрович (RU), Василенко Иван Иванович (RU)
(73) Патентообладатель(и):
Долгалев Александр Анатольевич (RU), Ставропольская государственная медицинская академия (RU)
|
(54) АРТИКУЛЯТОР ИНДИВИДУАЛЬНЫЙ ЧЕЛЮСТНОЙ (АИЧ)
(57) Реферат:
Изобретение предназначено для использования в медицине, а именно в ортопедической стоматологии. Артикулятор состоит из верхней и нижней рам, с удерживающим и возвращающим в исходное состояние устройством, цанговыми устройствами для фиксации моделей челюстей. Верхняя рама снабжена двумя резцовыми стержнями и двумя суставными капсулами. Нижняя рама имеет два суставных стержня и две резцовые капсулы. Верхняя рама устанавливается на нижнюю таким образом, что резцовые стержни попадают в резцовые капсулы нижней рамы, а суставные стержни нижней рамы – в суставные капсулы верхней рамы. Артикулятор может применяться при конструировании искусственных зубных рядов при полной потере зубов, для моделирования окклюзионных поверхностей ортопедических конструкций, для диагностики и прогнозирования тактики лечения зубочелюстных аномалий и деформаций. Настройка артикулятора осуществляется путем регистрации индивидуальных движений нижней челюсти относительно верхней внутриротовым способом и переноса их в быстротвердеющую пластмассу суставных и резцовых капсул артикулятора. Технический результат – точность воспроизведения индивидуальных движений нижней челюсти относительно верхней. 6 ил. 
Изобретение относится к области медицины, а именно к ортопедической стоматологии.
Реабилитация пациентов с различными видами ортопедических нозологий связана с изготовлением съемных и несъемных протезов. Эффективность ортопедического лечения зависит от степени соответствия жевательной поверхности протезов индивидуальным характеристикам строения зубочелюстной системы каждого пациента. Проблема создания протезов с индивидуальными параметрами жевательных поверхностей заключается в необходимости регистрации и воспроизведения индивидуальных движений нижней челюсти относительно верхней в артикуляторах. Применяют различные виды артикуляционных систем. Известны артикуляционные системы, такие как “Протар”, “Стратос”, “Гнатомат” и артикуляторы отечественных авторов Насырова М.М., Сапожникова А.Л., Нападова М.А., Хайта Я.М. (Хватова В.А. Диагностика и лечение нарушений функциональной окклюзии. Нижний Новгород,1996. С.56-85, Сапожников А.Л. Артикуляция и протезирование в стоматологии. Киев, 1984, 95 с.)
Существующие артикуляционные системы не воспроизводят индивидуальных движений нижней челюсти с достаточной точностью, являются сложными, дорогостоящими, применение их не приводит к достаточному улучшению функциональных свойств протезов.
Наиболее близким по технической сути является индивидуальный артикулятор (Авторское свидетельство N RU 2139011 C1 от 27.06.1996, Долгалев А.А., Брагин Е.А.).
Данный аппарат состоит из верхней и нижней рам. Верхняя рама снабжена суставными капсулами и резцовым градуированным стержнем. Нижняя рама имеет градуированные суставные стержни и резцовую капсулу. На градуированных суставных стержнях крепится при помощи винтов межрамочная площадка. Верхняя и нижняя рамы соединены между собой пружинами. Настройка артикулятора осуществляется путем регистрации индивидуальных движений в резцовой и суставных капсулах при помощи быстротвердеющей пластмассы. Запись индивидуальных движений нижней челюсти относительно верхней осуществляется при помощи воскоабразивных валиков с учетом фронтального перекрытия.
Для индивидуальной настройки артикулятора проводят формирование индивидуальных окклюзионных кривых на воскоабразивных валиках в полости рта пациента. Пациенту предлагается совершать артикуляционные движения в сагиттальном и трансверзальных направлениях. В результате формируются индивидуальные окклюзионные кривые Шпея и Уилсона, соответствующие индивидуальным углам скольжения нижней челюсти относительно верхней. Полученная окклюзионная поверхность используется для сопоставления моделей челюстей в межрамочном пространстве артикулятора и регистрации в суставных и резцовой капсулах индивидуальных путей скольжения нижней челюсти относительно верхней.
Однако для данного артикулятора необходим механизм, фиксирующий и возвращающий рамы артикулятора в исходное положение, механизм, позволяющий устанавливать модели челюстей в межрамочном пространстве артикулятора с учетом индивидуальных параметров расположения гнатической части от центра шарнирных движений, с возможностью неоднократно отделять модели челюстей от рам артикулятора. Применение трех опорных элементов для сочленения верхней и нижней рам – два суставных и один резцовый штифт – в артикуляторе приводит к недостаточно стабильному соединению рам. Резцовый штифт нарушает полноценный обзор фронтальной группы зубов. Процесс пригипсовывания моделей челюстей к рамам артикулятора трудоемкий, требует затрат времени на кристаллизацию гипса.
Целью изобретения является повышение функциональной и эстетической эффективности ортопедического лечения, точности воспроизведения индивидуальных движений нижней челюсти относительно верхней.
Поставленная цель достигается индивидуальным артикулятором, воспроизводящим движения нижней челюсти относительно верхней, с учетом асимметрии строения и функции височно-нижнечелюстного сустава и жевательных мышц, индивидуальной выраженности окклюзивных кривых Шпея и Уилсона, индивидуальной глубины резцового перекрытия, состоящим из верхней и нижней рам, с удерживающим и возвращающим их в исходное состояние устройством, соединяющим верхнюю и нижнюю рамы артикулятора. Верхняя рама снабжена двумя резцовыми стержнями и двумя суставными капсулами. Нижняя рама имеет два суставных стержня и две резцовые капсулы. Верхняя рама устанавливается на нижнюю раму таким образом, что резцовые стержни попадают в резцовые капсулы нижней рамы, а суставные стержни нижней рамы – в суставные капсулы верхней рамы. Настройка артикулятора осуществляется путем регистрации индивидуальных движений нижней челюсти относительно верхней внутриротовым способом и переноса их в быстротвердеющую пластмассу суставных и резцовых капсул артикулятора.
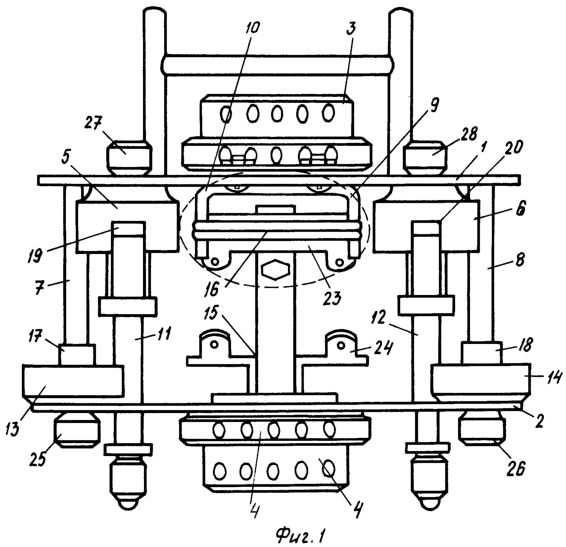
На фиг.1 представлен артикулятор (вид сзади), состоящий из верхней 1, нижней 2 рам с фиксирующими цанговыми устройствами для верхней 3 и нижней 4 моделей челюстей. Верхняя рама 1 снабжена двумя суставными капсулами 5 и 6, соответствующими суставным ямкам у человека, и резцовыми стержнями 7 и 8. На верхней раме укреплена суставная вилка 9 фиксирующего устройства 10. Нижняя рама имеет суставные стержни 11 и 12 и две резцовые капсулы 13 и 14. На нижней раме укреплена стойка 15 с суставным валиком 16 фиксирующего устройства 10. Для суставных и резцовых стержней предусмотрены разобщающие колпачки 17, 18, 19, 20. Верхняя и нижняя рамы соединены при помощи фиксирующего устройства 10. Цанговые устройства верхней и нижней рам артикулятора 3 и 4 снабжены площадками 23 и 24 для укрепления моделей челюстей. Суставные и резцовые капсулы имеют выталкиватели 25, 26, 27, 28 для извлечения быстротвердеющей пластмассы.
Верхняя рама 1 устанавливается на нижнюю 2 таким образом, чтобы суставные стержни 11 и 12 нижней рамы размещались в суставных капсулах 5 и 6 верхней рамы. Верхние резцовые стержни 7 и 8 устанавливаются соответственно в резцовые капсулы 13 и 14 нижней рамы 2.
На фиг.2 представлены вид снизу верхней рамы 1 артикулятора, суставная вилка 9, резцовые капсулы 13 и 14, стойка 15 с суставным валиком 16 фиксирующего устройства 10, пружины 21, 22, площадка для укрепления модели верхней челюсти 23, выталкиватели быстротвердеющей пластмассы из резцовых капсул 25, 26.
Для настройки артикулятора необходимо зарегистрировать индивидуальные движения нижней челюсти относительно верхней.
С этой целью необходимо использовать регистрирующее устройство (фиг.3), (фиг.4). На фиг.3 представлена модель нижней челюсти с нижнечелюстной пластинкой, на фиг.4 – модель верхней челюсти с припасованной верхнечелюстной пластинкой регистрирующего устройства.
Стандартные внутриротовые пластины припасовывают и фиксируют при помощи быстротвердеющей пластмассы на диагностических моделях челюстей. Полученное регистрирующее устройство служит для записи индивидуальных движений нижней челюсти относительно верхней при частичной потере зубов и целостных зубных рядах.
В случае необходимости регистрации индивидуальных движений при полной потере зубов необходимо использовать жесткие индивидуальные ложки с воскоабразивными валиками в боковых отделах альвеолярных дуг и фиксированной высотой нижней трети лица на искусственных зубах, расставленных по трехпунктному контакту Бонвиля (фиг.5).
Методика изготовления и припасовки индивидуальных ложек с воскообразивными валиками, формирование индивидуальных кривых Шпея и Уилсона и получение функционального оттиска под жевательным давлением, описаны в патенте “Индивидуальный артикулятор, способ его настройки и определения положения моделей беззубых челюстей в межрамочном пространстве артикулятора” RU 2139011 С1, 10/10/1999 г. Для достижения лучшей фиксации моделей челюстей в межрамочном пространстве артикулятора и точности воспроизведения индивидуальных движений в артикуляторе, внутриротовое устройство оснащается стандартными пластинами для записи движений нижней челюсти относительно верхней (фиг.6).
Настройка артикулятора осуществляется по внутриротовому регистрату, отображающему индивидуальные углы и амплитуду движений нижней челюсти относительно верхней.
Внутриротовое регистрирующее устройство припасовывают в полости рта и производят регистрацию направлений и амплитуды движений нижней челюсти относительно верхней. Модели челюстей с внутриротовыми регистрирующими устройствами произвольно относительно центра шарнирных движений устанавливают в межрамочном пространстве артикулятора, сняв повышающие колпачки 17, 18, 19, 20 с суставных и резцовых стержней (фиг.1.). Суставные 5, 6 и резцовые 13, 14 капсулы артикулятора заполняют быстротвердеющей пластмассой в тестообразной консистенции. Сопоставляют верхнюю 1 и нижнюю 2 рамы артикулятора, в соответствии с полученными на внутриротовых регистратах путями движений нижней челюсти относительно верхней, формируют в быстротвердеющей пластмассе суставных и резцовых капсул артикулятора направляющие путей индивидуальных движений нижней челюсти относительно верхней.
Этап определения положения моделей челюстей при данном методе настройки артикулятора не является существенным и осуществляется произвольно, так как формирование направляющих путей скольжения в суставных и резцовых капсулах возможно при любом пространственном положении моделей челюстей в межрамочном пространстве. Таким образом, в капсулах артикулятора формируются направляющие путей движения нижней челюсти относительно верхней, соответствующие индивидуальным параметрам движений в височнонижнечелюстном суставе. Осуществляя смещение верхней рамы артикулятора с зафиксированной на ней при помощи цанги верхней моделью, по направляющим путей движения нижней челюсти, полученным в быстротвердеющей пластмассе суставных и резцовых капсул артикулятора, получаем индивидуальные движения моделей челюстей, соответствующие индивидуальным характеристикам строения и функции височно-нижнечелюстного сустава и жевательных мышц.
Для дальнейшей работы с артикулятором извлекают внутриротовые записывающие устройства и приступают к работе по диагностике, конструированию искусственных зубных рядов и восстановлению окклюзионных поверхностей зубов.
Таким образом, предложенный нами артикулятор позволяет проводить диагностику и прогнозирование лечения зубочелюстных аномалий и деформаций, конструировать искусственные зубные ряды с учетом индивидуальных путей скольжения нижней челюсти относительно верхней, индивидуальных окклюзионных кривых, индивидуального резцового перекрытия, индивидуальными особенностями строения и функции височнонижнечелюстного сустава. Ориентация моделей челюстей в межрамочном пространстве артикулятора становится простой манипуляцией, не требующей дополнительных приспособлений, исследований, ориентиров. Модели челюстей могут легко устанавливаться неоднократно в прежнее положение. Фиксация моделей заключается в закреплении четырех винтов на каждой модели, что занимает не более 2 минут.
Артикулятор может применяться при конструировании искусственных зубных рядов при полной потере зубов, для моделирования окклюзионных поверхностей ортопедических конструкций, для диагностики и прогнозирования тактики лечения зубочелюстных аномалий и деформаций. Предлагаемый артикулятор имеет простую конструкцию в сравнении с артикуляционными системами, снабженными сложными считывающими индивидуальные параметры устройствами, требующими компьютерной обработки данных, программного обеспечения. АИЧ легко настраивается, прост в работе, доступен по цене.
Использование четырех сочленений (два суставных и два резцовых элемента) для фиксации верхней и нижней рамы увеличивает стабильность деталей артикулятора в исходном положении и обеспечивает полноценный обзор фронтальной группы зубов верхней и нижней моделей.
Формула изобретения
Артикулятор индивидуальный челюстной (АИЧ), содержащий верхнюю и нижнюю рамы, суставные стержни и капсулы, заполняемые быстротвердеющей пластмассой, настраивающийся по внутриротовой записи, отличающийся наличием двух резцовых стержней и капсул, расположенных на рамах артикулятора по сторонам от моделей челюстей, обеспечивающих устойчивость единой конструкции, фиксирующего устройства, удерживающего и возвращающего в исходное положение верхнюю раму артикулятора, цанговых устройств, фиксирующих модели челюстей, устанавливаемых подвижно на верхней и нижней рамах артикулятора, что позволяет настраивать артикулятор при различных положениях моделей челюстей в межрамочном пространстве.
РИСУНКИ
|
|