|
|
(21), (22) Заявка: 2004130602/14, 20.10.2004
(24) Дата начала отсчета срока действия патента:
20.10.2004
(45) Опубликовано: 27.02.2006
(56) Список документов, цитированных в отчете о поиске:
RU 2002133268 A, 20.06.2004. RU 2028114 C1, 09.02.1995. RU 2051636 C1, 10.01.1996. RU 2197915 C1, 10.02.2003. SU 843965 A, 07.07.1981. SU 1572591 A1, 23.06.1990. US 2002082599 A1, 27.06.2003. US 5702392 A, 31.12.1997. US 5181917 A, 26.01.1993. US 5527314 A, 18.06.1996. US 5437669 A, 01.08.1995. FR 2697743 A1, 13.05.1994. WO 02/02024 A1, 10.01.2002.
Адрес для переписки:
121552, Москва, ул. Оршанская, 3, корп.А, ООО “ИЛЬКОМ”, М.Ю. Коллерову
|
(72) Автор(ы):
Древаль Олег Николаевич (RU), Ильин Александр Анатольевич (RU), Коллеров Михаил Юрьевич (RU), Левченко Сергей Константинович (RU), Мамонов Андрей Михайлович (RU), Рынков Игорь Петрович (RU)
(73) Патентообладатель(и):
Общество с ограниченной ответственностью “ИЛЬКОМ” (RU)
|
(54) ФИКСАТОР ДЛЯ ПОЗВОНОЧНИКА
(57) Реферат:
Изобретение относится к медицине, а именно к нейрохирургии, травматологии и ортопедии, и может быть использовано для стабилизации поврежденных сегментов позвоночника. Фиксатор содержит транспедикулярные винты, продольные и поперечные балки, узлы крепления с двумя взаимно перпендикулярными отверстиями под транспедикулярные винты и продольную балку. Продольные балки выполнены из материала с эффектом памяти формы, обеспечивающего жесткость фиксатора на изгиб в пределах от 10 до 80 Н/мм. Изобретение обеспечивает снижение осложнений в послеоперационный период и стабилизацию травмированного сегмента позвоночника. 4 з.п. ф-лы, 1 ил. 
Изобретение относится к медицине, а именно к нейрохирургии, травматологии и ортопедии, и может быть использовано для стабилизации поврежденных сегментов позвоночника.
Этот недостаток пытаются устранить созданием динамичных конструкций, которые должны амортизировать функциональные нагрузки на оперированный сегмент позвоночника. Так, в изобретении, которое выбрано за прототип (патент РФ №2197915 “Фиксатор для позвоночника”), продольные балки конструкции предложено выполнять с динамическим компенсатором, образованным втулкой с задающими жесткость прорезями, которая выполнена из металла с высоким модулем упругости. Однако такая конструкция балки приводит к увеличению объема, который она занимает в организме и имеет открытые полости, заполняемые биологическими тканями. Последние будут блокировать подвижность динамического компенсатора и травмироваться при действии функциональных нагрузок. Кроме того, наличие динамического компенсатора усложняет процедуру установки фиксатора и затрудняет создание правильной репозиции оперированного сегмента, так как препятствует свободному перемещению узлов крепления по продольной балке. Также следует отметить, что в рассматриваемом изобретении предложено создавать шероховатую поверхность на элементах узла крепления, не контактирующих с продольной балкой и транспедикулярным винтом. Это, по нашему мнению, не обеспечивает достаточный страгивающий момент между элементами конструкции и может приводить к их развороту в процессе эксплуатации.
Задачей предложенного технического решения является повышение надежности стабилизации травмированного сегмента позвоночника за счет снижения жесткости фиксатора на изгиб до величин, характерных жесткости здорового позвоночного сегмента, а также упрощение техники его установки и расширение показаний к применению.
Дополнительной задачей является обеспечение сохранения достигнутой в ходе операции репозиции структур позвоночника за счет повышения страгивающих моментов, предотвращающих поворот продольной балки и транспедикулярного винта относительно узла крепления, а также более полной интеграции винта и костных структур.
Для решения поставленных задач фиксатор для позвоночника содержит транспедикулярные винты, продольные и поперечные балки, узлы крепления с двумя взаимно перпендикулярными отверстиями под транспедикулярные винты и продольную балку, причем продольные балки выполнены из материала с эффектом памяти формы, обеспечивающего жесткость фиксатора на изгиб в пределах от 10 до 80 Н/мм.
Повышение страгивающих моментов при повороте продольной балки и транспедикулярного винта относительно узла крепления для обеспечения надежности фиксации может быть реализовано тем, что балка имеет, по крайней мере, одну лыску, а отверстие под балку в узле крепления имеет сечение, по форме соответствующее поперечному сечению продольной балки, и/или тем, что поверхность узла крепления, находящаяся в контакте с продольной балкой и транспедикулярным винтом, выполняется с шероховатостью поверхности в интервале Rz от 10 до 60 мкм.
Использование в конструкции фиксатора продольных балок с пониженной жесткостью позволяет снизить напряжения на границе транспедикулярный винт – костная структура тела позвонка. Это позволяет обеспечить условия для возможной интеграции костных структур и винта. Для ускорения этого процесса поверхность транспедикулярного винта, контактирующую с костными структурами позвонка, желательно выполнять шероховатой с Rz от 10 до 60 мкм.
Кроме того, продольная балка может иметь изгибы, соответствующие анатомически правильным изгибам отдела позвоночника в месте его установки.
Проведенные эксперименты на анатомических препаратах нижнегрудного и поясничного отдела позвоночника показали, что жесткость фиксатора должна находится в пределах от 10 до 80 Н/мм. При более высоких значениях жесткости система позвоночник – фиксатор становится слишком регидна, что приводит к лизису костных структур сегмента и резорбции ткани вокруг транспедикулярных винтов. При меньших значениях жесткости фиксатор не способен обеспечить требуемую стабильность травмированного сегмента позвоночника. Определение жесткости фиксатора для позвоночника на изгиб проводилось в соответствии со стандартом ASTM F1717 (США). Кроме того, использование материала с эффектом памяти формы для изготовления продольных балок позволяет упростить технологию установки фиксатора на позвоночник и расширить показания к применению конструкции. Это достигается тем, что балка перед ее креплением к транспедикулярным винтам охлаждается ниже температуры превращения материала и легко может быть изогнута руками так, чтобы отвечать форме травмированного позвоночника и проходить через места крепления транспедикулярных винтов. После крепления продольной балки к транспедикулярным винтам и ее нагрева до температуры человеческого тела она будет стремиться к своей первоначальной форме и оказывать на позвоночник усилия (дистракции или компрессии), исправляющие положение травмированных позвонков.
Для обеспечения наибольшей эффективности этого процесса исходная форма продольной балки должна отвечать анатомически правильной форме позвоночника в оперируемом отделе. Так, для пояснично-крестцового отдела балки должны быть изогнуты на 20-50 градусов, а для нижнегрудного – прямые. Для повышения усилий страгивания при провороте продольной балки и транспедикулярного винта относительно узла крепления балка выполняется хотя бы с одной продольной лыской, а узел крепления имеет отверстие, форма которого отвечает форме поперечного сечения балки. Кроме того, поверхности узла крепления, контактирующие с продольной балкой и транспедикулярным винтом, выполняются шероховатыми с Rz от 10 до 60 мкм.
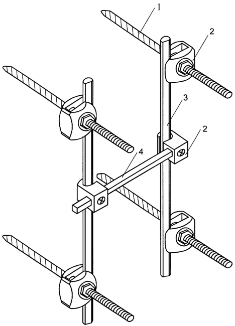
На чертеже изображен общий вид заявленного устройства, где 1 – транспедикулярные винты, 2 – узлы крепления, 3 – продольные балки, 4 – поперечная балка.
Пример использования заявляемого устройства. Больной П. поступил в клинику с диагнозом осложненный компрессионный перелом тела позвонка L1 в результате падения с высоты. В процессе операции из заднего доступа проведена ляминэктомия с ревизией спинно-мозгового канала и декомпрессией корешков спинного мозга и стабилизация травмированного сегмента фиксатором с продольными балками из материала с памятью формы (сплава на основе никелида титана, Ti-55,6% Ni). С этой целью под рентгеновским контролем через ножки (педикулы) в тела позвонков Т12 и L2 попарно ввели транспедикулярные винты, имеющие поверхность с шероховатостью Rz=30 мкм, на которые установили узлы крепления. Прямые продольные балки с одной лыской охлаждали в стерильном физиологическом растворе с температурой 5°С. Охлажденные балки руками изгибали в соответствии с формой сегмента позвоночника Т12-L2. Этот сегмент в норме имеет анатомическую ось, близкую к прямой, но в результате травмы приобрел кифотическую деформацию около 20 градусов. Поэтому балки изгибали так, чтобы их концы составляли между собой угол около 20 градусов. В таком состоянии балки с помощью узлов крепления установили на транспедикулярных винтах. В результате за счет тепла человеческого тела продольные балки нагреваются до температуры 35-37°С, при которой они стремятся вернуться к исходной прямой форме и оказывают дистракционное действие на позвонки, к которым они закреплены транспедикулярными винтами. Рана дренировалась и послойно ушивалась. Контрольные рентгеновские снимки, сделанные на следующий день после операции, показали, что продольные балки полностью выпрямились, а кифотическая деформация травмированного сегмента отсутствует. Через 10 дней больной П. выписан для амбулаторного лечения, а через 3 месяца приступил к трудовой деятельности.
Таким образом, использование заявленного фиксатора при операциях на позвоночнике позволяет снизить осложнения в послеоперационный период и стабилизировать травмированный сегмент позвоночника. Кроме того, использование изобретения упрощает технику установки фиксатора, обеспечивает надежность его фиксации, а также расширяет показания к его применению, т.к. позволяет использовать фиксатор в случаях, когда у больного наблюдается остеопороз, а также для создания постоянно действующей дистракции или компрессии, что особенно важно при лечении сколиозов. И, наконец, в сравнении с прототипом предложенный фиксатор занимает значительно меньший объем.
Формула изобретения
1. Фиксатор для позвоночника, содержащий транспедикулярные винты, продольные и поперечные балки, узлы крепления с двумя взаимно перпендикулярными отверстиями под транспедикулярный винт и продольную балку, отличающийся тем, что продольные балки выполнены из материала с эффектом памяти формы, обеспечивающего жесткость фиксатора на изгиб в пределах от 10 до 80 Н/мм.
2. Фиксатор для позвоночника по п.1, отличающийся тем, что продольная балка имеет, по крайней мере, одну лыску, а отверстие под балку в узле крепления имеет сечение, по форме соответствующее поперечному сечению продольной балки.
3. Фиксатор для позвоночника по п.1 или 2, отличающийся тем, что поверхность узла крепления, находящаяся в контакте с продольной балкой и транспедикулярным винтом, выполнена с шероховатостью поверхности в интервале Rz от 10 до 60 мкм.
4. Фиксатор для позвоночника по п.1, отличающийся тем, что продольная балка имеет изгибы, соответствующие анатомически правильным изгибам отдела позвоночника в месте его установки.
5. Фиксатор для позвоночника по п.1, отличающийся тем, что поверхность транспедикулярного винта, контактирующая с костными структурами позвонка, выполнена с шероховатостью поверхности в интервале Rz от 10 до 60 мкм.
РИСУНКИ
|
|