|
|
(21), (22) Заявка: 2004121230/14, 12.07.2004
(24) Дата начала отсчета срока действия патента:
12.07.2004
(45) Опубликовано: 27.02.2006
(56) Список документов, цитированных в отчете о поиске:
SU 728838 А, 25.04.1980. SU 561556 А, 14.07.1977. DE 3301864 A1, 02.08.1984. US 3712294 A, 23.01.1973. US 5609162 A, 11.03.1997.
Адрес для переписки:
190121, Санкт-Петербург, ул. Декабристов, 35, ГОУВПО Санкт-Петербургская академия физической культуры им. П.Ф. Лесгафта, патентный отдел
|
(72) Автор(ы):
Иванова Галина Павловна (RU), Биленко Александр Григорьевич (RU)
(73) Патентообладатель(и):
ГОУ ВПО Санкт-Петербургская государственная академия физической культуры им. П.Ф. Лесгафта (RU), Биленко Александр Григорьевич (RU), Иванова Галина Павловна (RU)
|
(54) ПЛАТФОРМА ДЛЯ ИССЛЕДОВАНИЯ ОПОРНЫХ РЕАКЦИЙ
(57) Реферат:
Изобретение относится к медицинской технике, а именно к устройствам для изучения опорных реакций и диагностики функции равновесия, а также к области спорта для биомеханических исследований опорно-двигательного аппарата и тренировки функции равновесия. Платформа для исследования опорных реакций содержит недеформируемые пластины, силоизмерительные элементы, оснащенные датчиками деформации и центральную опору. Центральная опора установлена в геометрическом центре пластин. Силоизмерительные элементы расположены по осям, проходящим через середины противоположных сторон платформы. Высота опоры должна быть больше высоты силоизмерительных элементов настолько, чтобы векторы деформирующих усилий всех силоизмерительных элементов имели одинаковую направленность, противоположную вектору усилия центральной опоры. Обе пластины жестко стянуты между собой через силоизмерительные элементы. Технический результат – расширение функциональных возможностей, упрощение конструкции, повышение точности, достоверности и оперативности измерения. 1 з.п. ф-лы, 4 ил. 
Изобретение относится к медицинской технике, а именно к устройствам для изучения опорных реакций и диагностики функции равновесия, а также к области спорта для биомеханических исследований опорно-двигательного аппарата и тренировки функции равновесия.
Известны конструкции динамометрических [1] и стабилодинамометрических [2] платформ, которые имеют обязательно две пластины, при этом верхняя свободно расположена на силоизмерительных элементах, жестко закрепленных на нижней пластине.
Например, устройство для измерения опорных реакций [3], являющееся стабилометром, представляет собой две горизонтально расположенные одна под другой квадратные плиты с упорами. По углам квадратов между плитами расположено четыре упругих тензоизмерительных элемента, воспринимающих вертикальные нагрузки, а между торцами верхней плиты и упорами нижней плиты расположено восемь тензометрических элементов, воспринимающих продольную и поперечную составляющие нагрузки, действующей в горизонтальной плоскости.
Это устройство обеспечивает определение мгновенного положения проекции общего центра тяжести в плоскости платформы, однако оно требует предварительной юстировки по высоте силоизмерительных элементов, установки ее относительно горизонта, длительной процедуры приведения установки в рабочее состояние.
Известно также устройство для определения мгновенного положения проекции центра тяжести человека [4], состоящее из опорной площадки прямоугольной формы, опирающейся на четыре кольцевых силоизмерительных устройства.
Это устройство обеспечивает автоматическое измерение положения проекции центра тяжести с высокой степенью точности, однако оно также требует предварительной юстировки и кропотливых установок, что усложняет процесс измерения и снижает его оперативность.
Наиболее близким по технической сущности и выбранным в качестве прототипа является устройство для измерения опорных реакций [5]. Это устройство содержит две треугольные плиты, расположенные друг над другом, тензоизмерительные элементы, размещенные в вершинах углов плит. Кроме того, оно имеет дополнительную третью плиту, расположенную между верхней и нижней плитами, причем на нижних поверхностях верхней и средней плит во взаимно перпендикулярных плоскостях укреплены направляющие планки, а на верхних поверхностях средней и нижней плит установлены соответственно по две пары опор и упоры. Тензоизмерительные элементы расположены между упорами и торцами направляющих планок и между боковыми поверхностями направляющих планок верхней плиты.
Недостатком приведенного устройства является сравнительная сложность приведения его в рабочее состояние. Это связано с тем, что указанная платформа, состоящая из трех независимых пластин, достаточно сложна по конструкции и требует квалифицированной сборки и стыковки различных самостоятельных ее деталей.
Другим недостатком устройства является сложность процесса оценки опорных реакций из-за треугольной формы пластин, так как возможен только виртуальный переход к традиционной декартовой системе координат с также традиционным анализом реакций в вертикальной, фронтальной и сагиттальной плоскостях. Кроме того, данное устройство оценивает величину момента результирующей силы веса, а не параметры стабилометрического сигнала в статике и полностью исключает оценку запаса устойчивости в динамике.
Предлагаемое в качестве изобретения устройство решает задачу упрощения конструкции измерительной платформы при одновременном повышении точности и достоверности измерений. Кроме того, процесс измерения становится технологичным и высокооперативным. Также предлагаемая конструкция позволяет измерять не только стабилосигналы, но и одновременно регистрировать мгновенное значение силы опорной реакции, что расширяет функциональные возможности, заключающиеся в ее универсальности и возможности непосредственного прямого определения стабилометрических показателей в статических и динамических режимах.
Эта задача достигается за счет того, что в известной платформе, содержащей не менее двух недеформируемых пластин, к одной из которых жестко прикреплены, по крайней мере, три силоизмерительных элемента, оснащенные датчиками деформации, а пластины жестко стянуты между собой через силоизмерительные элементы.
Кроме того, в геометрическом центре пластин установлена дополнительная центральная опора, при этом ее высота должна быть больше высоты силоизмерительных элементов настолько, чтобы векторы деформирующих усилий всех силоизмерительных элементов имели одинаковую направленность и противоположную вектору усилий центральной опоры.
Также центральной опорой является силоизмерительный элемент.
В этом устройстве юстировка всех элементов конструкции достигается автоматически путем создания жесткой, предварительно напряженной механической конструкции платформы за счет введения центральной опоры, установленной в геометрическом центре пластин, что упрощает процесс подготовки к работе и саму процедуру измерений.
Точность измерений повышается, так как минимум деталей создает особую надежность устройства. Высокие чувствительность, линейность и стабильность установки определяются дифференциальной схемой включения датчиков.
Анализ существующего уровня техники не выявил совокупность признаков, совпадающих с отличительными от прототипа признаками заявленного устройства. Результаты поиска показали, что заявленное изобретение не вытекает явным образом из известного уровня техники и, следовательно, соответствует критерию «изобретательский уровень».
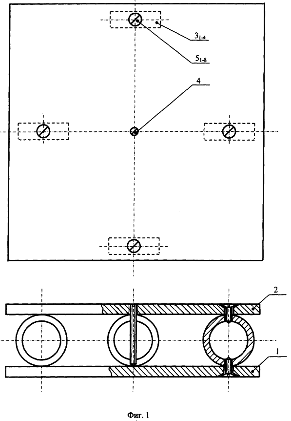
Предлагаемая конструкция устройства по п.1, 2 изображена на фиг.1, где:
1 – нижняя пластина;
2 – верхняя пластина;
31-4 – силоизмерительные элементы в виде колец;
4 – центральная опора;
51-8 – крепежные винты.
На фиг.2 представлен фрагмент центральной опоры (4) устройства по п.1, 2.
Платформа состоит из недеформируемых нижней (1) и верхней (2) пластин. По осям, проходящим через середины противоположных сторон платформы, расположены силоизмерительные элементы (3), в частности, в виде колец, к которым притягиваются винтами (6) нижняя (1) и верхняя (2) пластины. В геометрическом центре пластин устанавливают резьбовую центральную опору (4), которая заворачивается в верхнюю пластину (2) и упирается в нижнюю (1). Причем центральная опора (4) заворачивается так, чтобы ее высота (длина) обеспечивала такое распирающее усилие, при котором векторы деформирующих усилий всех силоизмерительных элементов были направлены в одну сторону, противоположную вектору усилия центральной опоры (4). Силоизмерительные элементы (3) изготавливают из пружинной стали, что обеспечивает высокую линейность в диапазоне допустимых нагрузок. Силоизмерительные элементы (3) оснащены датчиками деформации, в частности, возможно использование проволочных тензорезисторов по два (один – на наружной, другой – на внутренней поверхности каждого кольца) на элемент. Датчики противоположно расположенных силоизмерительных элементов (3) объединены в две мостовые измерительные схемы для фронтальной и сагиттальной осей. Причем датчики каждой мостовой схемы объединены так, чтобы измерять не суммарное усилие на силоизмерительные элементы (3), а дифференциальное значение разности усилий на них, что вызвано отклонениями мгновенного положения проекции общего центра тяжести (ОЦТ) испытуемого в плоскости платформы.
Предлагаемая конструкция устройства по п.3 изображена на фиг.3, где:
1 – нижняя пластина;
2 – верхняя пластина;
31-4 – силоизмерительные элементы в виде колец;
4 – центральная опора в виде силоизмерительного кольца;
51-9 – крепежные винты;
6 – опорный шарик.
На фиг.4 представлен фрагмент центральной опоры в виде силоизмерительного кольца (4) устройства по п.3.
Платформа по п.3 отличается наличием центральной опоры (4) в виде силоизмерительного элемента, в частности кольца, аналогичного четырем периферийным (3). Центральный силоизмерительный элемент (кольцо) также жестко крепится винтом (5) к нижней (1) пластине. Диаметрально противоположно нижнему резьбовому отверстию на наружной поверхности центрального кольца делают лунку, в которую помещают опорный стальной шарик (6). Верхняя пластина (2) в геометрическом центре с внутренней стороны имеет аналогичную лунку под шарик (6). Глубину лунок и диаметр шарика (6) выбирают из условия, что после стягивания винтами (5) обеих пластин на всех периферийных кольцах возникают деформирующие усилия, векторы которых имеют одинаковое направление, противоположное вектору усилия центрального кольца. Кроме указанных по п.2 восьми датчиков деформации, на внутренней и наружной поверхностях всех пяти колец с боковых сторон наклеивают дополнительно датчики деформации, которые соединяют в мостовую схему для измерения суммарной деформации последних, что соответствует величине суммарного усилия опорной реакции.
Устройство работает следующим образом. Перед началом измерений датчики деформации подключают к усилительному устройству и блоку обработки информации. Испытуемый встает на платформу так, чтобы геометрический центр пластин (1, 2) находился между стоп, а фронтальная и сагиттальная оси установки совпадали с переднезадней и боковой осями тела человека. Верхняя пластина (2) как бы “качается” на центральной опоре (4) за счет микродеформаций силоизмерительных колец (3). Данное устройство позволяет при исследовании опорных реакций определить две характеристики: мгновенное значение силы опорной реакции (динамометрические измерения) и мгновенное положение точки приложения результирующей этой силы в плоскости платформы (стабилометрический сигнал).
Величина силы опорной реакции оценивается благодаря тому, что в конструкцию (по п.3) в качестве центральной опоры (4) введен силоизмерительный элемент. При внешнем воздействии на верхнюю пластину (2) со стороны испытуемого, который на ней располагается, все пять силоизмерительных колец деформируются. Суммарный сигнал от датчиков всех пяти колец соответствует величине мгновенного опорного усилия. При неподвижном, то есть статическом положении испытуемого, сила опорной реакции равна его весу. В динамике при выполнении каких-либо движений (упражнений) величина мгновенного значения силы опорной реакции (сила давления на платформу) будет меняться. Кроме того, за счет жесткой, напряженной конструкции платформы можно регистрировать мгновенное значение суммарного усилия с учетом нормальной (вертикальной) и тангенциальной (касательной) составляющих, что важно при выявлении наиболее травмоопасных положений тела и конечностей. Подобная информация необходима для оценки качества выполнения спортивных упражнений и изучения механизмов отталкивания, а также при проектировании эргономичной обуви для здоровых людей или при протезировании.
Испытуемый, располагающийся на платформе, постоянно совершает микро- и макроколебания, при этом, очевидно, что сила давления на периферические кольца изменяется в зависимости от того, в какую сторону и на какое расстояние от центра сместилось мгновенное положение проекции на плоскость платформы точки приложения опорного усилия. При использовании предлагаемой платформы с центральной опорой (4) виртуальный центр площадки превращается одновременно в физический. Противоположно расположенные периферийные кольца (3) и центральный силоизмерительный элемент (4) образуют равноплечий рычаг первого рода. За счет дифференциального включения датчиков противоположно расположенных периферийных колец (3), сигналы с выходов мостовых схем соответствуют величине разностного сигнала, который равен моменту силы реакции опоры относительно виртуального центра (точки отсчета) площадки. В статическом положении реакция опоры равна весу испытуемого, поэтому в этом случае измеряемый платформой момент силы пропорционален по величине стабилосигналу. Коэффициент пропорциональности в рассматриваемом статическом режиме, вводимый в блок обработки информации, неизменен и корректируется только для каждого нового испытуемого.
В динамике при выполнении движений установка позволяет определить мгновенное положение проекции результирующей силы и оценить так называемый запас устойчивости испытуемого, например, при приседаниях в различном темпе. В результате можно определить величину мгновенного отклонения результирующего вектора проекции ОЦТ в абсолютных значениях с учетом соответствующей величины мгновенного значения реакции опоры, которая в динамическом режиме не является величиной постоянной.
Полученная информация о мгновенном положении проекции ОЦТ в блоке обработки может быть представлена либо в стандартном для стабилограммы виде, либо в соответствии с предложенным алгоритмом расчета запаса устойчивости.
Жестко стягиваемая конструкция (п.1) по сравнению с известной платформой [5] позволяет создать беззазорную механическую систему, не требующую высокоточной обработки поверхностей и юстировки по высоте силоизмерительных элементов, для площадок любой формы. Предлагаемая конструкция платформы, являясь автономно независимой, может быть установлена в любом положении относительно горизонта.
Кроме того, центральная опора (4), введенная в конструкцию (по п.2), является одновременно и виртуальным и физическим центром (точкой отсчета) и создает изначально напряженную систему, которая позволяет обеспечить однозначную ориентацию испытуемого в плоскости площадки и исключить постоянную составляющую сигнала, обусловленную отклонением центра тяжести испытуемого от центра опорной пластины [2]. Центральная опора (4) позволяет использовать дифференциальное включение датчиков, расположенных по осям противоположных сторон опорной площадки [4], что повышает чувствительность, термо и временную стабильность измерительной системы. Предлагаемая конструкция (в данной конфигурации) стабилоплатформы позволяет определить дифференциацию опорных реакций в плоскости площадки или мгновенное положение проекции общего центра тяжести.
Таким образом, рассматриваемая площадка является универсальной стабилодинамометрической платформой. Универсальная конструкция платформы позволяет, в частности, корректировать получаемые статические стабилометрические данные в соответствии с весом испытуемого (динамометрическими измерениями), а также оценивать стабилометрические параметры в динамике при выполнении различных движений.
Предложенная конструкция стабилодинамометрической площадки была апробирована при выполнении ряда научных работ на базе городского медицинского реабилитационного центра, в лаборатории эргономики ВНИИТЭ, при работе комплексных научных бригад в сборных командах по синхронному плаванию и прыжкам в воду и внедрена в учебный процесс академии физической культуры им. П.Ф.Лесгафта.
Источники информации
2. Пат. 306835 СССР, МКИ А 61 В 5/10. Стабилограф / В.Ф.Азеев, Ю.Н.Береда. – №1353158/31-16; Заявлено 13.07.1969; Опубл. 21.06.1971.
3. Рощин, Р.И. Метод и прибор для исследования механики ходьбы здорового и протезированного человека: Труды/ Институт машиноведения АН СССР., 1955. вып.59 – т.15.
4. Пат. 337115 СССР, МКИ А 61 В 5/10. Устройство для определения положения центра тяжести человека / Р.А.Гуревич, И.Ф.Тютюнник. – №1448683/31-16; Заявлено 15.06.1970; Опубл. 05.05.1972.
5. Пат. 728838 СССР, МКИ А 61 В 5/10. Устройство для измерения опорных реакций / М.В.Кудрявцев, В.А.Логунов, А.С.Мамченко. – №2134041/28-13; Заявлено 29.04.1975; Опубл. 25.04.1980.
Формула изобретения
1. Платформа для исследования опорных реакций, содержащая недеформируемые пластины и силоизмерительные элементы, оснащенные датчиками деформации, отличающаяся тем, что содержит центральную опору, установленную в геометрическом центре пластин, при этом силоизмерительные элементы расположены по осям, проходящим через середины противоположных сторон платформы, а высота опоры должна быть больше высоты силоизмерительных элементов настолько, чтобы векторы деформирующих усилий всех силоизмерительных элементов имели одинаковую направленность, противоположную вектору усилия центральной опоры, при этом обе пластины жестко стянуты между собой через силоизмерительные элементы.
2. Платформа по п.1, отличающаяся тем, что центральной опорой является силоизмерительный элемент.
РИСУНКИ
MM4A – Досрочное прекращение действия патента СССР или патента Российской Федерации на изобретение из-за неуплаты в установленный срок пошлины за поддержание патента в силе
Дата прекращения действия патента: 13.07.2006
Извещение опубликовано: 20.08.2007 БИ: 23/2007
|
|