|
|
(21), (22) Заявка: 2005101310/14, 18.01.2005
(24) Дата начала отсчета срока действия патента:
18.01.2005
(45) Опубликовано: 27.02.2006
(56) Список документов, цитированных в отчете о поиске:
DE 19506677 А, 29.08.1996. RU 2128837 C1, 13.01.1994. SU 1690678 A1, 15.11.1991. Электроника. Энциклопедический словарь. – М.: Советская энциклопедия, 1991, с.325, 506. ПОНОМАРЕНКО Г.Н. Электромагнитотерапия и светолечение. СПб.: Мир и семья, 1995, с.12.
Адрес для переписки:
191040, Санкт-Петербург, а/я 40, пат.пов. О.Л.Сандигурскому
|
(72) Автор(ы):
Коротков Константин Георгиевич (RU)
(73) Патентообладатель(и):
Коротков Константин Георгиевич (RU), АВЕДА КОРПОРЭЙШН (US)
|
(54) СПОСОБ ИЗМЕРЕНИЯ ИНТЕНСИВНОСТИ СВЕТОВОГО ИЗЛУЧЕНИЯ ВОЛОС ДЛЯ ОПРЕДЕЛЕНИЯ ИХ СОСТОЯНИЯ
(57) Реферат:
Изобретение относится к медицине и предназначено для измерения интенсивности светового излучения волос для определения их состояния. Воздействуют электромагнитным полем на волосы со стороны их торцов. Измеряют интенсивность эмитируемого волосами светового излучения, исходящего с торцов волос, приходящуюся на единицу суммарной площади торцов волос (I1), после чего совместно с воздействием на торцы волос электромагнитным полем воздействуют на боковую поверхность пучка волос электрическим полем или электромагнитным полем. Повторно измеряют интенсивность эмитируемого волосами светового излучения, исходящего с торцов волос, приходящуюся на единицу суммарной площади торцов волос (I2). Определяют I2-I1. По величине I2-I1 судят о состоянии волос. Способ позволяет повысить интенсивность эмиссии облученных волос. 3 ил., 1 табл. 
Изобретение относится, преимущественно, к области косметологии и может быть, в частности, использовано для выбора наиболее подходящих средств по уходу за волосами.
В настоящее время выявлен ряд признаков волос, характеризующих определенные их свойства, которые можно объединить в 4 группы:
1. Признаки морфологического характера – размеры, форма, строение концов волос, характер пигмента, рисунка кутикулы, особенности строения сердцевины, поперечных срезов, наличие повреждений и заболеваний волос.
2. Признаки биологического характера – групповая, ферментная специфичность, половая принадлежность.
3. Признаки химических свойств волос – элементный состав, изменения волос на протяжении и на срезах под действием солей тяжелых металлов, кислот, щелочей и др.
4. Признаки физических свойств волос – эластичность, рефракция, удельный вес, прозрачность, электрические и другие свойства.
Наиболее полно изучены и широко используются при определении состояния волос морфологические признаки, однако наибольшую эффективность при исследовании волос можно получить путем тщательного комплексного изучения большого количества признаков, в том числе электрофизических.
Известен способ определения состояния волос путем исследования их макроскопических свойств.
Исследование цвета волос
Этот признак является важным при проведении судебно-медицинской экспертизы волос и зависит от количества и цвета пигмента в волосах, характера кутикулы: чем она ровнее, тем большее светорассеивание и тем светлее кажется волос. Наличие пузырей воздуха в волосах также придает им светлый оттенок. Однако цвет зависит и от субъективного восприятия, что усложняет исследование волос, даже одним человеком.
Согласно классификации Брока существует 54 нюанса цветовых оттенков. А.К.Туманов определяет цвет волос в пучке как белокурые, светло-русые, русые, темно-русые, черные, седые, рыжие (см. Туманов А.К. Основы судебно-медицинской экспертизы. М., 1976, с.308-382). Г.Т.Автандилов рекомендует пользоваться семичленной шкалой: светло-белокурые, белокурые, темно-белокурые, светло-русые, русые, черные. Цвет волос по отдельности определяется как белый, желтый, светло-коричневый, коричневый, темно-коричневый, черный, но может иметь другой оттенок вследствие искусственной окраски, действия температуры и гниения (см. Автандилов Г.Г. Морфометрия и патология. М., 1976, с.1-246).
Известны различные физические способы исследования состояния волос.
Определение прочности на разрыв и эластичности
Эластичность волоса зависит от толщины коркового слоя, внешних воздействий, патологических состояний. Прочность и эластичность можно измерить на гидравлическом динамометре с самозаписывающим устройством, позволяющим получить диаграмму разрыва волоса (см. Кишиневский А.Н. О судебно-медицинском значении объективной микрофотометрии волос человека. Материалы 4-й Всесоюзной конференции судебных медиков. Рига, 1962, с.400-401). При разрыве удлинение волоса происходит неравномерно: вначале оно нарастает соответственно нагрузке, затем резко увеличивается до какой-то величины нагрузки, дальнейшее же удлинение волоса до момента разрыва незначительное. Диаграммы разрыва волос разных людей отличаются по характеру и величине, зависят от регионального происхождения. Например, при разрыве подмышечных волос стадия повторного удлинения отсутствует.
Средняя прочность волос с головы разных людей колеблется от 14 до 157 г, волос подмышечной области – от 35 до 132, волос лобковой области – от 95 до 200 г. Удлинение волос к моменту разрыва у разных лиц составляет в среднем 34% для волос с головы, 25% для волос подмышечной области и 24% для волос лобковой области. Разница в прочности волос с головы одного человека в среднем не превышает 15-25 г и лишь редко достигает 40 г; удлинение волоса составляет не более 10-15%, т.е. примерно 1 мм. Различие в прочности на 40 г, удлинение волоса на 1,5 мм указывают на принадлежность данных волос разным лицам.
Определение скорости погружения
Способ заключается в измерении времени погружения отрезков волос на стандартную глубину (10 см) в цилиндр с дистиллированной водой. Волосы при этом располагаются строго горизонтально и должны быть примерно одинаковой толщины и структуры (наличие сердцевины). Колебание среднего времени погружения у разных лиц составляет от 24,6±0,7 до 58,8±1,8 с (размах 34,2 с), с разных областей головы одного человека – от 41,9±1,3 до 44,1±1,3 с (размах 3,2 с), достигая в редких случаях 16 с. Корреляционная зависимость между толщиной и скоростью погружения волос отрицательная и равна 0,77±0,07 с (t=2). Седые волосы погружаются более медленно (44,6±1,3 с). Цвет волос не влияет на скорость их погружения (см. Кишиневский А.Н. О судебно-медицинском значении объективной микрофотометрии волос человека. Материалы 4-й Всесоюзной конференции судебных медиков. Рига, 1962, с.402-403).
Известны также способы фотометрических исследований состояния волос.
Микрофотометрия
Метод микрофотометрии основан на объективной регистрации степени пропускания света различными участками волоса. Изучаемое оптическое свойство волос можно рассматривать лишь условно, так как волос представляет собой необычайно сложную оптическую систему, не обладающую правильной конфигурацией и вызывающую многократные преломления, отражения и рассеивания светового пучка по мере прохождения его через толщу волоса; проводят микрофотометрию волос головы и региональных областей при ширине осветительной и измерительной щели 0,3 мм; каждый волос измеряют в 10 участках с интервалом в 2 мм; отклонения величины показателя светопропускания на протяжении одного волоса незначительны; величина колебаний среднего коэффициента светопропускания волос, взятых с различных участков головы одного человека, не превышает 4%, а в случае волос, взятых с головы у разных людей, колеблется от 5,9±0,4% до 14±1,4% (см. Кузнецов Л.Е. Судебно-медицинское исследование влажных минерализатов волос головы человека (комплексное спектрофотометрическое, фотоэлектроколориметрическое и микрофотометрическое исследования). Автореферат кандидатской диссертации, Барнаул, 1973, с.1-23).
Фотометрическое исследование мокрых минерализатов волос
Способ основан на свойстве окрашенных растворов поглощать цветовые волны. Световой луч, проходя через раствор, частично поглощается им, что регистрируется рядом приборов: фотоэлектроколориметрами, микрофотометрами, спектрофотометрами. Установлено, что величина оптической плотности мокрых минерализатов волос с различных участков одной головы не является постоянной, но эта разница статистически недостоверна. В волосах же с головы разных людей она более чем в 2 раза превышает максимальную разницу оптической плотности волос с одной головы (см. А.Н., Кузнецов Л.Е., Каукаль В.Г. Фотометрия волос человека в видимой и ультрафиолетовой областях спектра. Вопросы теории и практики судебной медицины. Казань, 1973, с.200-203).
Известен способ измерения удельного электрического сопротивления состояния волос путем определения их состояния (см. Мамедов М.З. Удельное электрическое сопротивление волос при экспертизе их сходства. Суд.мед.эксперт, 1986, №4, с.45-47).
Сущность способа состоит в измерении общего электрического сопротивления, напряжения и силы тока, проходящего через предварительно обезжиренные, промытые и просушенные волосы. При измерении общего сопротивления волос Rоб для каждого участка создаются омические контакты из эвтектики галлия и индия (1:1). Сила тока измеряется с помощью электрометрического усилителя ВК 2-16. В основу способа положен принцип измерения слабых токов по величине падения напряжения.
Удельное электрическое сопротивление волос может служить в качестве самостоятельного объективного признака, на основании которого возможно проведение судебно-медицинской экспертизы сходства волос, при этом оно колеблется у различных индивидуумов в пределах от 104 до 1010 Ом·м, а волос различных участков головы одного человека колеблется по коэффициенту вариации от 3 до 39%. Установлено статистически достоверное различие между удельным электрическим сопротивлением пигментированных и седых, тонких и толстых волос.
Удельное электрическое сопротивление волос не коррелирует с возрастом человека, не связано с его половым диморфизмом и цветом волос, но достоверно зависит от их регионарного происхождения.
Рассмотренные выше способы эффективны главным образом при проведении экспертизы сходства волос, позволяют практически исключить ошибочный вывод в случае происхождения волос от другого человека даже при совпадении групповой принадлежности и сходном морфологическом строении.
Однако описанные выше способы малоинформативны при определении состояния волос, их качества.
Известен способ оценки состояния волос по количественной характеристике свойств волос, включающей измерение информационно-значимого параметра испытуемого образца волоса и последующее определение количественной характеристики свойств волос с использованием измеренного параметра; состояние волос оценивают по степени набухания волос в воде, при этом для измерения используют образец волоса длиной не менее 18 мм, измеряют толщину образца в сухом состоянии и после предельного насыщения его водой определяют степень набухания волос в воде с использованием измеренной толщины, причем степень набухания Н образца волоса вычисляют по формуле , RU 2128837 C1.
Недостатком данного способа является то обстоятельство, что свойства волос резко меняются под воздействием воды, поскольку она действует и как химический реагент, и как физический – разрушает структуру волоса вследствие его набухания.
Известен способ измерения интенсивности светового излучения волос для определения их состояния, при котором на образец волос в поперечном направлении воздействуют электромагнитным полем в диапазоне от 100 до 750 нм; при этом возбуждается свечение волос; интенсивность эмитируемого волосами светового излучения с их поверхности измеряют и по измеренным значениям судят о состоянии волос, DE 19506677.
Это техническое решение принято в качестве прототипа настоящего изобретения.
Недостатком прототипа является то обстоятельство, что при использовании в качестве возбуждающего свечение волос электромагнитного поля в диапазоне от 100 до 750 нм (световой диапазон) эмитируемое волосами световое излучение недостаточно интенсивно, что обусловливает малые значения отношения сигнал/шум в измерительном тракте и, соответственно, недостаточно высокую точность и надежность измерений. Кроме того, при реализации способа-прототипа, предусматривающего поперечное облучение волос электромагнитным полем, вследствие большой нерегулярности структуры поверхности разных волос одного и того же человека наблюдается весьма большой разброс значений эмитируемого каждым отдельным волосом светового излучения; это в конечном счете может обусловить значительную ошибку измерений и, соответственно, привести к неправильной оценке состояния волос.
Кроме того, способ-прототип не позволяет оценить скорость процесса деградации волос после их удаления с кожного покрова.
В основу настоящего изобретения положено решение задачи повышения интенсивности эмиссии облученных электромагнитным полем волос и, соответственно, повышения значений отношения сигнал/шум в измерительном тракте, а также выравнивания значений возбужденного светового излучения от разных волос одного и того же человека; кроме того, изобретение позволяет оценить скорость деградации волос после их удаления с кожного покрова.
Согласно изобретению в способе измерения интенсивности светового излучения волос для определения их, включающем воздействие на пучок волос возбуждающим свечение волос электромагнитным полем с последующим измерением интенсивности эмитируемого волосами светового излучения, электромагнитным полем воздействуют на волосы со стороны их торцов, затем измеряют интенсивность эмитируемого волосами светового излучения, исходящего с торцов волос, приходящуюся на единицу суммарной площади торцов волос (I1), после чего совместно с воздействием на торцы волос электромагнитным полем воздействуют на боковую поверхность пучка волос электрическим полем или электромагнитным полем, затем повторно измеряют интенсивность эмитируемого волосами светового излучения, исходящего с торцов волос, приходящуюся на единицу суммарной площади торцов волос (I2), определяют I2-I1 и по величине I2-I1 судят о состоянии волос.
Заявителем не выявлены источники, содержащие информацию о технических решениях, идентичных настоящему изобретению, что позволяет сделать вывод о его соответствии критерию “новизна”.
Благодаря реализации отличительных признаков изобретения резко вырастает интенсивность возбужденного светового излучения, выравниваются полученные от разных волос одного и того же человека значения этого параметра; впервые появляется возможность определить степень деградации волоса после его удаления с кожного покрова.
Заявителем не обнаружены какие-либо источники информации, содержащие сведения о влиянии заявленных отличительных признаков на достигаемый вследствие их реализации технический результат. Это, по мнению заявителя, свидетельствует о соответствии данного технического решения критерию «изобретательский уровень».
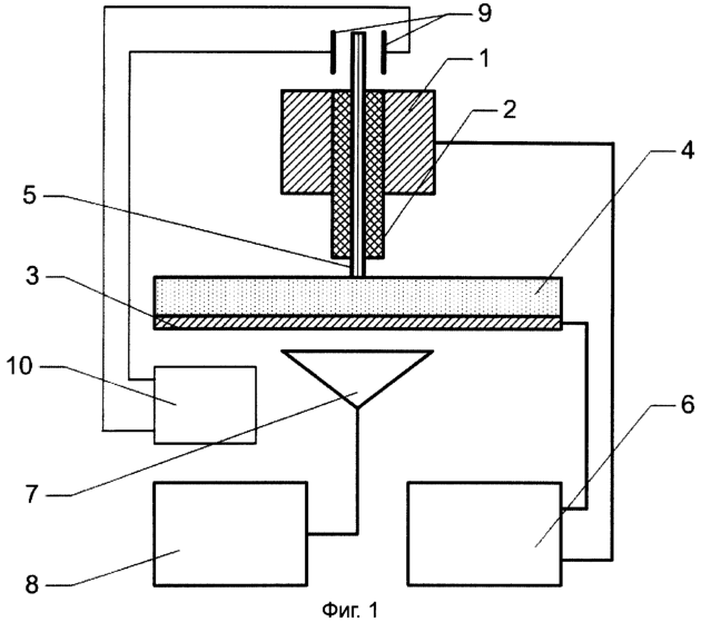
Для осуществления заявленного способа и достижения указанного выше технического результата может быть использовано устройство, изображенное на фиг.1;
на фиг.2 изображен график зависимости относительной интенсивности эмитируемого волосами светового излучения в зависимости от напряженности электрического поля, воздействующего на боковую поверхность пучка волос при разном времени после их удаления с кожного покрова;
на фиг.3 – то же, что на фиг.2, для магнитного поля.
Устройство включает излучатель электромагнитного поля, выполненный в виде совокупности двух электродов, одним из которых является держатель 1 волос; между волосами и держателем 1 размещен слой 2 диэлектрического материала; второй электрод выполнен в виде оптически прозрачного токопроводящего слоя 3, нанесенного на одну сторону пластины 4 из оптически прозрачного материала, в частности стекла. Другая сторона пластины 3 обращена к торцам пучка волос 5. Электроды соединены с генератором 6 электромагнитной энергии. В конкретном примере применен генератор электрических импульсов «Корона», выпускаемый российской фирмой ЗАО «Кирлионикс Технолоджис Интернейшнл» (Санкт-Петербург). Генератор обеспечивает создание электрических импульсов с амплитудой 10-20 кВ, длительностью 10 мкс, скважностью 1000 Гц, подающихся пачками длительностью 0,5 с.
Приемник 7 светового излучения связан с измерителем 8 его интенсивности, который представляет, в конкретном примере, электронный блок, описанный в кн. «От эффекта Кирлиан к биоэлектрографии»./Под ред. К.Г.Короткова. СПб, 1998, с.238-240.
Электрическое или электромагнитное поле, воздействующее на боковую поверхность волос, создается между электродами 9, соединенными с источником 10 напряжения (100 В). В случае электрического поля электроды 9 представляют собой пластины, а источник 10 выдает напряжение постоянного тока. В случае электромагнитного поля электроды 9 представляют собой индукторы, а источник 10 выдает напряжение переменного тока.
Пучок волос 5 вводят в держатель 1 таким образом, что торцы (концы) волос контактируют со свободной поверхностью пластины 4. На электроды (держатель 1 волос и токопроводящий слой 3) от генератора 6 подают электромагнитные импульсы с длиной волны от 10-2 м до 3×108 м и напряженностью электромагнитного поля 104-106 В/см0 и воздействуют на волосы со стороны их торцов. Поток электромагнитной энергии возбуждает газоразрядное свечение, исходящее с торцов волос 5. Эмитируемый световой поток проходит через прозрачную пластину 4, оптически прозрачный слой и попадает на приемник 7 светового излучения. С выхода приемника 7 сигнал поступает в измеритель 8, где определяется интенсивность I1 светового излучения.
После этого совместно с воздействием на торцы волос электромагнитным полем воздействуют на боковую поверхность пучка волос электрическим полем или электромагнитным полем, которое создается между электродами 9.
Затем повторно измеряют интенсивность эмитируемого волосами светового излучения, исходящего с торцов волос, приходящееся на единицу суммарной площади торцов волос (I2); далее определяют I2-I1 и по величине I2-I1 судят о состоянии волос. В таблице приведены значения I2-I1 для волос одного и того же человека через разные промежутки времени после их удаления с кожного покрова головы.
| |
| Время после удаления волос с кожного покрова |
I2-I1 электрическое поле Е=150 В/см |
I2-I1 магнитное поле Н=мТл |
| 5 минут |
1.80 |
-6.6 |
| 3 часа |
1.33 |
-6.2 |
| 24 часа |
1.25 |
-5.7 |
| 74 часа |
1.09 |
-3.9 |
Из таблицы видно, что по мере деградации волос со временем после их удаления с кожного покрова значения абсолютной величины I2-I1 уменьшаются. Таким образом, по значению I2-I1 можно судить о степени деградации волос. Эти результаты могу использоваться в косметологии, в медицине и в судебно-медицинской экспертизе.
Формула изобретения
Способ измерения интенсивности светового излучения волос для определения их состояния, включающий воздействие на пучок волос возбуждающим свечение волос электромагнитным полем с последующим измерением интенсивности эмитируемого волосами светового излучения, отличающийся тем, что электромагнитным полем воздействуют на волосы со стороны их торцов, затем измеряют интенсивность эмитируемого волосами светового излучения, исходящего с торцов волос, приходящуюся на единицу суммарной площади торцов волос (I1), после чего совместно с воздействием на торцы волос электромагнитным полем воздействуют на боковую поверхность пучка волос электрическим полем или электромагнитным полем, затем повторно измеряют интенсивность эмитируемого волосами светового излучения, исходящего с торцов волос, приходящуюся на единицу суммарной площади торцов волос (I2), определяют I2-I1 и по величине I2-I1 судят о состоянии волос.
РИСУНКИ
|
|