|
|
(21), (22) Заявка: 2001125663/13, 18.09.2001
(24) Дата начала отсчета срока действия патента:
18.09.2001
(30) Конвенционный приоритет:
19.09.2000 DE 20016321.3
(43) Дата публикации заявки: 20.12.2004
(45) Опубликовано: 27.02.2006
(56) Список документов, цитированных в отчете о поиске:
DE 19757311 А, 01.07.1999. DE 3020167 А, 03.12.1982. RU 2101956 С, 20.01.1998. RU 2155485 C, 10.09.2000. SU 1311690 А, 23.05.1987.
Адрес для переписки:
129010, Москва, ул. Б.Спасская, 25, стр.3, ООО “Юридическая фирма Городисский и Партнеры”, пат.пов. Е.И.Емельянову
|
(72) Автор(ы):
ГХАНИЗАДЕХ КХОУБ Мохаммад Хасхем (DE)
(73) Патентообладатель(и):
ДИОСНА ДИРКС УНД ЗЕНЕ ГМБХ (DE)
|
(54) МАШИНА ДЛЯ ЗАМЕШИВАНИЯ И ПЕРЕМЕШИВАНИЯ
(57) Реферат:
Изобретение относится к устройствам для замешивания и перемешивания теста, пищевых продуктов и т.п. материалов. Во вращающуюся вокруг вертикальной оси дежу заходит по крайней мере один рабочий орган, также вращающийся вокруг вертикальной оси. В днище дежи входит запирающее устройство, которое для выгрузки замешанного содержимого перемещается вертикально в промежуточное положение, а затем поворачивается вокруг горизонтальной оси внутри дежи в положение выгрузки. Возможность поворота запирающего устройства для выгрузки внутри дежи позволяет ускорить выгрузку содержимого дежи после его замеса благодаря тому, что запирающее устройство, остающееся после поворота в деже, выполняет помимо прочего функцию направляющего органа. Это же предохраняет детали устройства, контактирующие с содержимым дежи, от загрязнения и повреждения в процессе выгрузки. 6 з.п. ф-лы, 4 ил. 
Изобретение касается машины для замешивания и перемешивания теста, пищевых продуктов и пр.
Из DE 19757311 А1 известна машина такого типа, содержащая приводимую в движение, вращающуюся вокруг вертикальной оси вращения дежу, по меньшей мере один заходящий в нее рабочий орган, приводимый в движение и вращающийся вокруг оси, параллельной оси дежи, и закрывающее коаксиальное отверстие в днище дежи запирающее устройство, которое для выгрузки замешенного содержимого дежи при помощи подъемного приспособления перемещается вертикально в промежуточное положение, а затем при помощи установочного приспособления поворачивается вокруг горизонтальной оси качания в положение выгрузки.
Недостатком такой машины является замедленная выгрузка дежи после замеса теста. Кроме того, детали, находящиеся в рабочем пространстве дежи и контактирующие с содержимым дежи, подвержены загрязнениям и повреждениям в процессе выгрузки.
Задача изобретения заключается в том, чтобы на основе машины этого типа (DE 19757311 А1) усовершенствовать выгрузку теста. Изобретение решает эту задачу за счет получения машины с признаками по пункту 1. Другие существенные элементы исполнения приводятся в пп.2-7 формулы изобретения.
Машина согласно изобретению способствует и ускоряет выгрузку содержимого дежи после замеса теста при помощи остающегося в деже запирающего устройства, выполняющего функцию направляющего органа, причем запирающее устройство, как и все другие детали, контактирующие с содержимым дежи, защищены от загрязнения, а также от повреждения в процессе выгрузки, оставаясь в рабочем пространстве дежи.
Согласно изобретению запирающее устройство из положения запирания перемещается вверх в промежуточное положение, а затем внутри дежи поворачивается в положение выгрузки.
Установочное приспособление для запирающего устройства опирается на головную часть машины, на которой также размещены один или несколько рабочих органов и одно или несколько приводных средств к ним, и все это вместе перемещается при помощи подъемного привода между нижним рабочим положением, в котором запирающее устройство находится в закрытом положении, и верхним положением чистки и обслуживания, в котором запирающее устройство находится поверх края дежи.
В закрытом положении запирающее устройство заходит сужающимся внизу в виде конуса краем в конусное гнездо в днище дежи и находится с дежей в уплотняющем и поводковом сцеплении.
Запирающее устройство выполнено в верхней своей части в виде коаксиального, входящего в рабочее пространство дежи, ротационно-симметричного направляющего органа, к которому в верхней части коаксиально примыкает управляющий шток, который проходит через поворачивающийся вокруг горизонтальной оси качания (S) для запирающего устройства подшипник и на своем верхнем конце находится в кинематическом соединении с поворотным приводом.
Участок направляющего органа, граничащий с наружным краем запирающего устройства, имеет конфигурацию, соответствующую контуру рабочего участка рабочего органа или рабочих органов.
После достижения запирающим устройством промежуточного положения и не позже достижения положения выгрузки переключатель реверсирует привод дежи.
Запирающее устройство во время выгрузки содержимого дежи совершает при помощи повортного привода попеременные колебательные движения.
Другие подробности и функциональные возможности приводятся в нижеследующем описании и чертеже, на котором представлен схематично пример исполнения предмета изобретения.
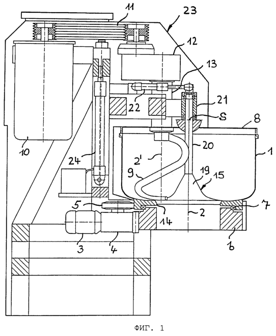
Фиг.1 – вид сбоку машины для замешивания и перемешивания теста согласно изобретению, частично в разрезе, с запирающим устройством в закрытом положении.
Фиг.2 – вид, аналогичный фиг.1, с запирающим устройством, поднятым в промежуточное положение.
Фиг.3 – вид, аналогичный фиг.1 и 2, на которой запирающее устройство представлено в положении выгрузки.
Фиг.4 – вид, аналогичный фиг.1-3, на которой машина представлена в положении чистки и обслуживания деталей.
Представленная на чертежах машина для замешивания и перемешивания теста, пищевых продуктов и пр. содержит установленную при помощи подшипника 7 на шасси 6 дежу 1, поворачивающуюся вокруг вертикальной оси вращения 2 при помощи приводного двигателя 3, угловой передачи 4 и фрикционного колеса 5. В дежу 1, закрывающуюся сверху крышкой 8, входит по меньшей мере один рабочий орган 9, расположенный поворотно вокруг оси вращения 2′. Как правило, используются два одинаковых или отличающихся друг от друга рабочих органа 9, расположенных на расстоянии один возле другого на дуге вокруг оси 2 дежи. Рабочие органы 9 приводятся в движение от приводного двигателя 10, который, согласно представленному примеру исполнения, через ременную передачу 11 и редуктор 12 приводит в движение расположенный в коробке 13 ведущий вал.
На дне дежи 1 находится коаксиальное донное отверстие 14, закрывающееся при помощи запирающего устройства 15. Это запирающее устройство 15 в закрытом положении (фиг.1) заходит сужающимся внизу в виде конуса краем 16 в конусное гнездо 17 в днище дежи и находится с дежей 1 в уплотняющем и одновременно поводковом сцеплении. Следовательно, запирающее устройство 15 вращается вместе с дежей в одном направлении без отдельного привода.
В верхней части запирающее устройство 15 выполнено в виде коаксиального, входящего в рабочее пространство 18 дежи ротационно-симметричного направляющего органа 19, имеющего конфигурацию на участке, граничащем с наружным краем 16 запирающего устройства 15, соответствующую контуру рабочего участка рабочего органа 9. В приводимом примере исполнения рабочий орган 9 выполнен в форме спирали, но рабочие органы могут быть выполнены также в L-образной, U-образной или иной подходящей форме.
К направляющему органу 19 примыкает отходящий кверху коаксиальный управляющий шток 20, который проходит через поворачивающийся вокруг горизонтальной оси качания S подшипник 21, а на верхнем конце шток находится в кинематическом соединении с поворотным приводом 22, например цилиндром, работающим под давлением.
Запирающее устройство 15 опирается через подшипник 21 вместе с приводом поворота 22 на головную часть машины 23, на которой также размещены рабочие органы 9 и приводные средства к ним 10, 11, 12, 13. Эта головная часть машины 23 перемещается при помощи подъемного цилиндра 24 вдоль не представленных детально вертикальных направляющих вверх и вниз, а именно: между нижним рабочим положением (фиг.1), в котором запирающее устройство 15 находится в закрытом положении, и верхним положением чистки и обслуживания, в котором запирающее устройство 15 находится поверх верхнего края дежи 1. В этом положении рабочие органы и запирающее устройство 15 полностью доступны для чистки и обслуживания, так как при подъеме головной части машины 23 поднимается также крышка 8 дежи.
В показанном на фиг.1 рабочем положении запирающее устройство 15 находится в закрытом положении. После завершения обработки содержимого дежи для его выгрузки запирающее устройство 15 поднятием головной части машины 23 переводится вначале из запирающего положения вверх в промежуточное положение (фиг.2), в котором запирающее устройство 15 нижней стороной лежит прямо поверх внутренней поверхности днища дежи. Для проведения собственно процесса выгрузки запирающее устройство 15 поворачивается в положение выгрузки (фиг.3), в котором оно, оставаясь внутри дежи 1, открывает отверстие 14 в днище дежи, выполняя одновременно в процессе выгрузки направляющую функцию, при этом дежа осуществляет вращательное движение в обратную сторону относительно прежнего рабочего направления. Это достигается при помощи не представленного переключателя не раньше, чем запирающее устройство 15 занимает промежуточное положение согласно фиг.2 и срабатывает не позже, чем запирающее устройство 15 занимает положение выгрузки согласно фиг.3.
Во время выгрузки содержимого дежи запирающее устройство 15 при помощи поворотного привода 22 может совершать движения туда и обратно между промежуточным положением согласно фиг.2 и положением выгрузки согласно фиг.3, чтобы дополнительно сделать процесс выгрузки более интенсивным.
При выгрузке содержимое дежи поступает под собственным весом в дежу на колесиках, на транспортер к следующей обрабатывающей машине или непосредственно подается на машину для последующей обработки, расположенную рядом с машиной для замешивания и перемешивания теста.
Формула изобретения
1. Машина для замешивания и перемешивания, содержащая приводимую в движение, вращающуюся вокруг вертикальной оси вращения дежу, по меньшей мере, один заходящий в нее рабочий орган, приводимый в движение и вращающийся вокруг оси, параллельной оси вращения дежи, и закрывающее коаксиальное отверстие в днище дежи запирающее устройство для выгрузки замешенного содержимого дежи при помощи подъемного приспособления, перемещаемое вертикально в промежуточное положение, а затем при помощи установочного приспособления поворачиваемое вокруг горизонтальной оси качания в положение выгрузки, отличающаяся тем, что запирающее устройство из положения запирания способно перемещаться вверх в промежуточное положение, а затем внутри дежи поворачиваться в положение выгрузки.
2. Машина по п.1, отличающаяся тем, что установочное приспособление для запирающего устройства установлено на головную часть машины, на которой также размещены один или несколько рабочих органов и одно или несколько приводных средств к ним, и все это вместе способно перемещаться при помощи подъемного привода между нижним рабочим положением, в котором запирающее устройство находится в закрытом положении, и верхним положением чистки и обслуживания, в котором запирающее устройство находится поверх края дежи.
3. Машина по п.1 или 2, отличающаяся тем, что в закрытом положении запирающее устройство заходит сужающимся внизу в виде конуса краем в конусное гнездо в днище дежи и находится с дежей в уплотняющем и поводковом сцеплении.
4. Машина по п.1, отличающаяся тем, что запирающее устройство выполнено в верхней части в виде коаксиального, входящего в рабочее пространство дежи, ротационно-симметричного направляющего органа, к которому в верхней части коаксиально примыкает управляющий шток, проходящий через поворачивающийся вокруг горизонтальной оси качания для запирающего устройства подшипник и на своем верхнем конце находящийся в кинематическом соединении с поворотным приводом.
5. Машина по п.4, отличающаяся тем, что участок направляющего органа, граничащий с наружным краем запирающего устройства, имеет конфигурацию, соответствующую контуру рабочего участка рабочего органа или рабочих органов.
6. Машина по п.1, отличающаяся тем, что после достижения запирающим устройством промежуточного положения и не позже достижения положения выгрузки переключатель реверсирует привод дежи.
7. Машина по п.1, отличающаяся тем, что запирающее устройство во время выгрузки содержимого дежи способно совершать при помощи поворотного привода попеременные колебательные движения.
РИСУНКИ
|
|