|
|
(21), (22) Заявка: 2001117548/12, 15.06.2001
(24) Дата начала отсчета срока действия патента:
15.06.2001
(30) Конвенционный приоритет:
15.06.2000 DE 10028778.6
(43) Дата публикации заявки: 27.05.2003
(45) Опубликовано: 27.02.2006
(56) Список документов, цитированных в отчете о поиске:
US 4499908 A, 19.02.1985. DE 1205333 А, 18.11.1965. SU 1731090 A1, 07.05.1992. SU 1209091 А, 07.02.1986. FR 2062267 А, 25.06.1971. FR 2405636 A1, 11.05.1979.
Адрес для переписки:
191186, Санкт-Петербург, а/я 230, “АРС-ПАТЕНТ”, пат.пов. В.М.Рыбакову, рег. № 90
|
(72) Автор(ы):
ШВЕРСМАНН Бертольд (DE)
(73) Патентообладатель(и):
КЛААС Зельбстфаренде Эрнтемашинен ГмбХ (DE)
|
(54) СЕПАРИРУЮЩЕЕ УСТРОЙСТВО ЗЕРНОУБОРОЧНОГО КОМБАЙНА (ВАРИАНТЫ)
(57) Реферат:
Изобретения относятся к сельскохозяйственному машиностроению и могут быть использованы в сепарирующих устройствах зерноуборочных комбайнов. Устройство содержит ротор и частично окружающий его с зазором сепарирующий короб. Сепарирующий короб включает соединенные между собой посредством профилей по меньшей мере два рамных элемента. В профилях выполнены вырезы, в которые заложены приваренные к ним и образующие решето ступенчато изогнутые прутья. Ступенчато выполненное решето обеспечивает разрыхление убранной массы и создает беспрепятственный ее поток. В другом варианте реализации устройства ступенчатое решето образовано изогнутыми под углом и имеющими отверстия листами. 2 н. и 11 з.п. ф-лы, 9 ил. 
Область техники, к которой относится изобретение
Настоящее изобретение относится устройству для сепарирования зерна из убранной массы, содержащему ротор и частично окружающий его с зазором сепарирующий короб, который снабжен по меньшей мере двумя дугообразными рамными элементами, соединенными между собой с помощью проходящих параллельно оси ротора опорных элементов, между которыми поперечно оси ротора проходят стойки, расположенные на расстоянии друг от друга и образующие поверхность решета.
Уровень техники
Устройство такого типа известно, например, из голландской выложенной заявки №7900185. В этом устройстве стойки сепарирующего короба проходят свободно и изогнуты в направлении к оси ротора, так что формируемые ими направляющие поверхности сепарирующего короба образуют ступенчатый путь для прохода слоя убранной массы. Такой ступенчатый путь движения воздействует на убранную массу, разрыхляя ее и способствуя сепарации остаточного зерна. Недостаток указанного устройства состоит в том, что свободно размещенные в пространстве концы стоек, особенно при очень сухой убранной массе, вызывают повышенное измельчение стебельчатых культур, и это неизбежно приводит к перегрузкам при очистке решета и повышенным потерям зерна. Другой недостаток заключается в том, что свободные консольные концы стоек должны изготавливаться очень жесткими, чтобы не допускать неуправляемого раскачивания, а это связано с относительно высокими затратами.
Сущность изобретения
Задача, на решение которой направлено настоящее изобретение, заключается в создании устройства указанного типа, которое при обеспечении беспрепятственного разрыхления убранной массы позволяло бы надежно избежать повышенного измельчения массы. Кроме того, задача состоит в создании технологичного и недорогого в изготовлении устройства.
Поставленная задача решена в устройстве для сепарирования зерна из убранной массы, содержащем ротор и частично окружающий его с зазором сепарирующий короб, который снабжен по меньшей мере двумя дугообразными рамными элементами, соединенными между собой с помощью проходящих параллельно оси ротора профилей, которые снабжены образующими решето стойками, проходящими поперечно оси ротора на расстоянии друг от друга. В соответствии с изобретением решение поставленной задачи достигается за счет того, что образующие решето стойки ступенчато изогнуты и выполнены в виде единых элементов в направлении вращения. Благодаря такому решению проходящий слой убранной массы разрыхляется в процессе очень плавного бережного движения.
Устройство выполнено конструктивно простым. Сепарирующий короб содержит по меньшей мере два рамных элемента, соединенных друг с другом с помощью профилей с вырезами, проходящими в окружном направлении короба. Выполненные в виде прутьев стойки заложены в вырезы и укреплены в них. Для устранения возможности создания помех проходу убранной массы со стороны профилей, стойки в виде прутьев заложены в вырезы на глубину меньше высоты стоек.
Другие особенности изобретения определены более подробно в зависимых пунктах формулы изобретения.
В частности, стойки в области их крепления к профилям предпочтительно проходят параллельно обращенным к оси ротора поверхностям профилей, а обращенные к оси ротора стороны по меньшей мере двух рамных элементов выполнены также ступенчатыми в соответствии со ступенчатой конфигурацией стоек.
Указанные стойки могут быть изогнуты с образованием нескольких ступеней.
Предпочтительно, чтобы по меньшей мере два рамных элемента были соединены друг с другом с помощью профилей, снабженных проходящими в окружном направлении сепарирующего короба вырезами, в которых заложены и закреплены указанные стойки, выполненные в виде прутьев.
Стойки, предпочтительно, выполнены из материала типа проволоки, заложены в вырезы на глубину меньше высоты стоек и приварены к указанным профилям.
В другом варианте реализации устройство для сепарирования зерна из убранной массы, содержащее ротор и частично окружающий его с зазором сепарирующий короб, который снабжен по меньшей мере двумя дугообразными рамными элементами, соединенными между собой с помощью проходящих параллельно оси ротора профилей, которые снабжены образующими решето стойками, проходящими поперечно оси ротора на расстоянии друг от друга, характеризуется тем, что сепарирующий короб состоит по меньшей мере из двух рамных элементов, которые выполнены ступенчатыми, при этом на ступени наложены без зазоров изогнутые под углом снабженные отверстиями листы, которые образуют направляющие убранную массу поверхности решета.
Изогнутые под углом листы предпочтительно образуют соединение по меньшей мере между двумя рамными элементами.
Перечень фигур чертежей
Примеры осуществления настоящего изобретения будут подробнее описаны ниже со ссылками на прилагаемые чертежи, на которых:
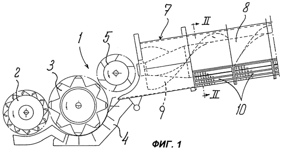
фиг.1 изображает на виде сбоку переднюю часть зерноуборочного комбайна с сепарирующим устройством,
фиг.2 изображает в увеличенном масштабе вид в разрезе по линии II-II на фиг.1,
фиг.3 изображает сепарирующий короб на виде в перспективе,
фиг.4 изображает сепарирующий короб на виде в перспективе под другим углом зрения,
фиг.5 изображает часть сепарирующего короба в увеличенном масштабе,
фиг.6 изображает вид в разрезе по линии VI-VI на фиг.5,
фиг.7 изображает этап установки деталей при изготовлении сепарирующего короба по изобретению,
фиг.8 изображает на виде в перспективе сепарирующий короб в другой модификации,
фиг.9 изображает в разрезе часть сепарирующего короба по фиг.8.
Сведения, подтверждающие возможность осуществления изобретения
На фиг.1 позицией 1 обозначена передняя часть оборудования зерноуборочного комбайна, содержащего сепарирующее устройство. Оно состоит в основном, например, из питающего барабана 2, молотильного барабана 3 с принадлежащим ему подбарабаньем 4 и подающего барабана 5. За подающим барабаном 5 установлено осевое сепарирующее устройство 7, содержащее корпус 8 ротора, в котором установлен приводной ротор 9 с осью 11 ротора. В нижней части корпус 8 ротора снабжен сепарирующими коробами 10.
На фиг.3 и 4 особенно ясно видно, что каждый сепарирующий короб 10 состоит из двух крайних дугообразных рамных элементов 12, 13 и среднего дугообразного рамного элемента 14. Концы рамных элементов 12, 13, 14 соединены между собой с помощью приваренных к ним профильных балок А и В с образованием каркасной рамы. С этой каркасной рамой жестко соединены уголковые профили 15. При этом уголковые профили 15 установлены таким образом, что одна из двух полок каждого уголка проходит по направлению движения убранной массы. Как видно на фиг.6 и 7, в этих полках выполнены вырезы 16. В указанные вырезы 16 заложены проволочные прутья 17, выполненные со множеством ступенчатых изгибов и приваренные к уголковым профилям 15 снизу, как показано на фиг.6. На фиг.6 и 5 видно, что проволочные прутья 17 вставлены в вырезы 16 настолько, что проволочные прутья 17 возвышаются над уголковыми профилями 15 и последние не выступают на путь потока убранной массы.
Другой пример выполнения сепарирующего короба показан на фиг.8 и 9. Этот короб также состоит из каркасной рамы описанного типа с рамными элементами 12, 13 и 14, а также профильными балками А и В.
Однако в данном примере выполнения каркасная рама 18 заполнена изогнутыми под углом перфорированными листами 19. Эти перфорированные листы 19 установлены таким образом, что вершины WS образуемых ими уголков образуют множество ступеней, которые примыкают друг к другу без соединительных стыков и образуют собственно решето сепарирующего короба. Выполненные в виде полос перфорированные листы 19 расположены, например, таким образом, что продольные оси их основных корпусов проходят параллельно оси 11 сепарирующего ротора. Расположенные в ряд отверстия в листах выполнены в виде удлиненных отверстий 20, которые захватывают обе полки 22 и 23 и вершину WS уголкового профиля, занимая на одной полке большую площадь, а на другой меньшую площадь. Относительно направления DR движения убранной массы задние концы отверстий 20 образуют прямые кромки 21, проходящие параллельно оси ротора. Как видно на фиг.8 и 9, проходящие в окружном направлении полки 22 примыкают без зазора к смежным направленным радиально вниз полкам 23 таким образом, что кромка 21 каждого листа 19 расположена на уровне свободного или консольного конца полки 22 соседнего листа 19 и образует с ним одну прямую линию. За счет этого, а также за счет того, что удлиненные отверстия 20 захватывают площадь отогнутой вниз полки листа, предотвращается возможность застревания в отверстиях 20 стеблей убранной массы, что вызвало бы значительное нарушение потока массы и нежелательное интенсивное измельчение стебельчатой массы.
Формула изобретения
1. Устройство для сепарирования зерна из убранной массы, содержащее ротор и частично окружающий его с зазором сепарирующий короб, который снабжен по меньшей мере двумя дугообразными рамными элементами, соединенными между собой с помощью проходящих параллельно оси ротора профилей, которые снабжены образующими решето стойками, проходящими поперечно оси ротора на расстоянии друг от друга, отличающееся тем, что образующие решето стойки ступенчато изогнуты и выполнены в виде единых элементов в направлении вращения.
2. Устройство по п.1, отличающееся тем, что указанные стойки изогнуты с образованием нескольких ступеней.
3. Устройство по п.1 или 2, отличающееся тем, что по меньшей мере два рамных элемента соединены друг с другом с помощью профилей, снабженных проходящими в окружном направлении сепарирующего короба вырезами, в которых заложены и закреплены указанные стойки, выполненные в виде прутьев.
4. Устройство по п.3, отличающееся тем, что стойки заложены в вырезы на глубину меньше высоты стоек.
5. Устройство по п.3, отличающееся тем, что стойки приварены к указанным профилям.
6. Устройство по любому из пп.1, 2, 4, 5, отличающееся тем, что стойки выполнены из материала типа проволоки.
7. Устройство по п.3, отличающееся тем, что стойки в области их крепления к профилям проходят параллельно обращенным к оси ротора поверхностям профилей.
8. Устройство по любому из пп.1 и 2, отличающееся тем, что обращенные к оси ротора стороны по меньшей мере двух рамных элементов выполнены также ступенчатыми в соответствии со ступенчатой конфигурацией стоек.
9. Устройство для сепарирования зерна из убранной массы, содержащее ротор и частично окружающий его с зазором сепарирующий короб, который снабжен по меньшей мере двумя дугообразными рамными элементами, соединенными между собой с помощью проходящих параллельно оси ротора профилей, которые снабжены образующими решето листами с отверстиями, проходящими поперечно оси ротора на расстоянии друг от друга, отличающееся тем, что сепарирующий короб состоит по меньшей мере из двух рамных элементов, которые выполнены ступенчатыми, при этом на ступени наложены без зазоров изогнутые под углом снабженные отверстиями листы, которые образуют направляющие убранную массу поверхности решета.
10. Устройство по п.9, отличающееся тем, что изогнутые под углом листы образуют соединение по меньшей мере между двумя рамными элементами.
11. Устройство по п.9 или 10, отличающееся тем, что через две полки каждого листа проходят перфорация или отверстия.
12. Устройство по п.11, отличающееся тем, что задние относительно направления движения концы указанных отверстий проходят прямолинейно параллельно оси вращения.
13. Устройство по п.12, отличающееся тем, что прямолинейно проходящие задние кромки (21) отверстий листа (19) расположены на одной высоте с обращенными к ним консольными полками (22) примыкающего к нему соседнего листа (19) и образуют с ним прямую линию.
РИСУНКИ
|
|