|
|
(21), (22) Заявка: 2004113228/12, 28.04.2004
(24) Дата начала отсчета срока действия патента:
28.04.2004
(43) Дата публикации заявки: 27.10.2005
(45) Опубликовано: 27.02.2006
(56) Список документов, цитированных в отчете о поиске:
SU 1335160 A1, 07.09.1987. SU 1248548 A1, 07.08.1986. SU 491342 А, 12.02.1976. SU 1547749 A1, 07.03.1990. US 3858660 A, 07.01.1975. DE 3635403 A1, 27.04.1988.
Адрес для переписки:
450001, г.Уфа, ул. 50 лет Октября, 34, Башкирский государственный аграрный университет
|
(72) Автор(ы):
Ахмеров Хасан Хабибъянович (RU), Сагадиев Надир Назифович (RU)
(73) Патентообладатель(и):
Башкирский государственный аграрный университет (БГАУ) (RU)
|
(54) КОПИРУЮЩЕЕ УСТРОЙСТВО АВТОМАТА ВОЖДЕНИЯ КОРНЕПЛОДОУБОРОЧНОЙ МАШИНЫ
(57) Реферат:
Устройство содержит вилку из двух, с возможностью встречного вращения, наконечников и механизм для их привода. Устройство снабжено дифференциальным механизмом, имеющим насос-дозатор (гидромашину) с вращающимся ротором и статором, и распределителем с гидроцилиндром. Один из наконечников активной вилки через шестерню механизма дифференциала связан с ротором. Другой наконечник активной вилки через вторую шестерню механизма дифференциала связан со статором насос-дозатора. Насос-дозатор гидравлически связан с распределителем, а его гидроцилиндр связан с корпусом копирующего устройства и подвеской. Исключаются потери урожая. 1 з.п. ф-лы, 3 ил. 
Изобретение относится к сельскохозяйственному машиностроению, в частности к машинам для уборки корнеклубнеплодов.
Известны корнеклубнеуборочные машины и устройства для ориентации выкапывающих рабочих органов, которые содержат направляющие полозья и гидромеханические следящие системы вождения рабочих органов по рядкам [1].
Недостатком известных корнеклубнеуборочных машин являются большие потери корнеплодов.
Необоснованно большие потери корнеплодов в процессе их уборки связаны с тем, что часть извлекаемых корнеплодов головками расположены ниже уровня поверхности почвы. При этом из-за несовершенности копирующих устройств гидромеханических следящих систем в процессе копирования головок корнеплодов формируется искаженная информация о траектории рядка и из-за отклонений неучтенных корнеплодов, расположенных ниже уровня поверхности почвы, в процессе их извлечения из почвы часть урожая теряется в виде сколов и изломов корнеплодов.
Прототипом изобретения является корнеизвлекающее устройство [2], содержащее вилку из двух с возможностью встречного вращения наконечников и механизм для их привода.
Недостатком прототипа является также низкое качество копирования рядков корнеплодов.
Изобретение позволяет получить новый технический эффект – исключить потери урожая корней за счет точного копирования траекторий рядка.
Этот технический эффект достигается тем, что устройство снабжено дифференциальным механизмом, имеющим насос-дозатор (гидромашину) с вращающимися ротором и статором, и распределителем с гидроцилиндром, при этом один из наконечников активной вилки через шестерню механизма дифференциала связан с ротором, а другой наконечник активной вилки через вторую шестерню механизма дифференциала – со статором насос-дозатора, причем насос-дозатор гидравлически связан с распределителем, а его гидроцилиндр связан с корпусом копирующего устройства и подвеской; что образующие рабочих поверхностей наконечников у основания выполнены в виде вогнутой к оси наконечника кривой.
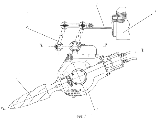
На фиг.1 изображен чертеж копирующего устройства автомата вождения корнеклубнеуборочной машины (сокращенно: “Копир-датчик”), вид сбоку; на фиг.2 – сечение фиг.1 по А-А; на фиг.3 – сечение фиг.1 по Б-Б; на фиг.4 – сечение фиг.3 по Г-Г.
Корпус 1 (фиг.1) копир-датчика через параллелограммную подвеску 2 и кронштейн 3 связан с передним брусом 4 корнеклубнеуборочной машины.
Копир-датчик снабжен щупами в виде активной вилки с наконечниками 5 на валах 6. На корпусе 1 копир-датчика установлена шестерня 7, связанная через вал 8 с гидроприводом 9. Шестерня 7 входит в зацепление с колесом 10 дифференциального механизма (ДМ). При этом сателлиты 11, установленные на осях 12, входят в зацепление с левой 13 и правой 14 выходными шестернями ДМ. Дифференциальный механизм предназначен для сравнения угловых перемещений шестерен 13 и 14, на которые жестко посажены шестерни 15, 16, входящие в зацепление с колесами 17, 18 привода левого и правого наконечников 5 активной вилки. Одновременно левая шестерня 13 ДМ через карданный вал 19 связан с ротором 20, а шестерня 14 – со статором 21 насос-дозатора. При этом трубопроводы 22, 23 насос-дозатора через соединительные устройства 24, 25 связаны соответственно левой 26 и правой 27 торцовыми полостями распределительно-дозирующего устройства.
Распределительно-дозирующее устройство состоит из корпуса 28, плунжера 29 и центрирующей пружины 30. Оно также снабжено штуцерами 31, 32 его соединения соответственно с гидронасосом и сливной магистралью гидросистемы и штуцерами 33, 34 – соединения с полостями 35 и 36 гидроцилиндра поперечных перемещений. Корпус 37 гидроцилиндра жестко связан с корпусом 1 копир-датчика, а его поршень 38, симметрично посаженный на штоке 39, жестко связан со звеном 40 параллелограммного механизма подвески 2. Корпус 1 копир-датчика при помощи ползуна 41 подвижно в поперечной плоскости подвешен к направляющей 42.
На направляющей 42 располагается также выходное устройство копир-датчика – потенциометр перемещений (не показан) системы автовождения. Подвижный контакт этого потенциометра связан с ползуном 41, а резистивная его часть неподвижно прикреплена к направляющей 42 копир-датчика.
Для исключения попаданий пыли, грязи и абразивных элементов на поверхности штока 39 и направляющей 42 в конструкции устройства предусмотрены пыльники 43. Плунжер 29 распределительно дозирующего устройства снабжен хвостовиком 44 ручного управления.
Наконечники 5 активной вилки снабжены сферическими поверхностями с углублениями по многозаходным винтовым линиям, а их образующие у основания выполнены в виде вогнутой к продольной оси наконечника кривой и образуют на копирующей поверхности активной вилки некоторую “Зону разгрузки – В”.
Корнеклубнеуборочная машина работает следующим образом.
При движении корнеклубнеуборочной машины наконечники 5 активной вилки копир-датчика находятся на заданной глубине в почве и совершают вращение относительно своих осей вращения в противоположные стороны. При этом на наконечники 5 активной вилки со стороны почвы будут действовать примерно одинаковые по величине моменты сопротивления Мсл и Мспр. Одновременно активная вилка вместе с корпусом 1 на параллелограммной подвеске 2 совершает колебания и копирует профиль рядка в вертикальной плоскости. Гидропривод 9 копир-датчика через вал 8 и шестерню 7 приводит во вращение зубчатое колесо 10 ДМ. При этом движущий момент Мд через сателлиты 11 передаются левой 13 и правой 14 выходным шестерням ДМ, и через шестерни 15, 16, колеса 17, 18, валы 6 соответствующие движущие моменты Мдл и Мдпр передаются левому и правому наконечникам 5 активной вилки копир-датчика. Одновременно от левой шестерни 13 ДМ через карданный вал 19 приводится во вращение ротор 20, а через шестерню 14 – статор 21 насос-дозатора. При этом, когда наконечники 5 активной вилки копир-датчика вращаются с одинаковой скоростью (между ротором 20 и статором 21 насос-дозатора нет относительных перемещений), плунжер 29 распределительно-дозирующего устройства находится в нейтральном положении.
Когда один из наконечников 5 активной вилки встречается с корнеплодом, расположенным с отклонением от продольной оси активной вилки, на поверхности этого рабочего органа (для примера на правом наконечнике 5) активной вилки возникнет некоторая сила реакции Fпр.
Одна из составляющих этой силы старается перемещать копир-датчик вправо, а другая составляющая силы создает на валу 6 наконечника 5 дополнительный момент сопротивления. При этом момент сопротивления на правом наконечнике 5 станет больше, чем момент сопротивления на левом наконечнике 5 активной вилки, т.е. создается разность моментов М=Мспр-Мсл на выходных шестернях ДМ. В результате этого скорость вращения шестерни 14 ДМ станет меньше, чем скорость вращения шестерни 13, а скорость вращения статора 21 насос-дозатора станет меньше, чем угловая скорость его ротора 20. При этом из-за возникающего углового перемещения ротора 20 относительно статора 21 насос-дозатор подает рабочую жидкость, например, в правую 27 торцовую полость распределительно-дозирующего устройства, забирая ее через соединительное устройство из левой 26 торцовой полости. Плунжер 29, преодолевая сопротивление центрирующей пружины 30, перемещается влево. Правая торцовая полость 27 распределительно-дозирующего устройства соединяется с полостью 36 гидроцилиндра поперечных перемещений копир-датчика, а масло из полости 35 через распределительно-дозирующее устройство поступает в сливную магистраль. Жидкость, нагнетаемая насосом, через левую 26 торцовую полость распределителя поступает в насос-дозатор, из которого через правую 27 торцовую полость направляется в полость 36 гидроцилиндра, и корпус 1 копир-датчика по направляющей 40 перемещается вправо. Такое движение жидкости будет происходить до тех пор, пока при продольно-поперечном перемещении копир-датчика встретившийся с правым наконечником 5 корнеплод не попадет в зону В разгрузки активной вилки. После попадания копируемого корнеплода в зону В моменты сопротивления Мспр, Мсл на наконечниках 5 активной вилки будут равны и шестерни 13 и 14 ДМ получат одинаковую угловую скорость вращения. Давление в левой 26 торцовой полости распределительно-дозирующего устройства станет больше, чем в правой 27 торцовой полости на величину падения давления от сопротивления в двух трубопроводах, соединяющих распределительно-дозирующее устройство с насос-дозатором. Плунжер 29 под действием этого перепада давлений, а также под действием центрирующей пружины 30 переместится в нейтральное положение, полости 35, 36 гидроцилиндра будут заперты, поперечное перемещение копир-датчика прекратится, а жидкость от силового гидронасоса через штуцеры 31, 32 пойдет в сливную магистраль на слив. Ползун 41, перемещаясь по направляющей 42, займет соответствующее обнаруженному корнеплоду положение, а на выходном потенциометре перемещений копир-датчика установится напряжение, соответствующее положению копир-датчика в поперечной плоскости.
Аналогичные процессы будут происходить при появлении корнеплода в зоне работы левого наконечника 5 активной вилки. При появлении корнеплодов в зоне В при равновесии моментов сопротивлений Мспр, Мсл соответственно на правом и левом наконечниках 5 активной вилки шестерни 13 и 14 ДМ получат одинаковую угловую скорость вращения, а ротор 20 и статор 21 насос-дозатора относительных угловых перемещений не имеют. Плунжер 29 распределительно-дозирующего устройства находится в нейтральном положении, а копир-датчик сохраняет соответствующее обнаруженному корнеплоду положение.
Таким образом, при работе копир-датчик корнеклубнеуборочной машины устойчиво копирует рядок корнеплодов при минимальных зазорах между головками корнеплодов и копирующими наконечниками активной вилки, исключаются выбивание и повреждения корнеплодов в процессе копирования рядка и извлечения их из почвы рабочими органами.
Сигналы копир-датчика в виде напряжений с реостатного выхода передаются в цифровую систему управления корнеклубнеуборочной машины и/или сигналы в виде поперечных перемещений вводятся в гидромеханическую следящую систему управления поворотами корнеклубнеуборочной машины.
Источники информации
1. Аванесов Ю.Б., Бессарабов В.И., Русанов И.И. Свеклоуборочные машины. – М.: Колос, 1979.
2. Заявка №2004106384 (006887), М.кл. A 01 D 27/4. Рабочий орган для выкапывания корнеплодов (прототип). Ахмеров Х.Х., Сагадиев Н.Н.
Формула изобретения
1. Копирующее устройство автомата вождения корнеплодоуборочной машины, содержащей вилку из двух с возможностью встречного вращения наконечников и механизм для их привода, отличающееся тем, что оно снабжено дифференциальным механизмом, имеющим насос-дозатор (гидромашину) с вращающимися ротором и статором, и распределителем с гидроцилиндром, при этом один из наконечников активной вилки через шестерню механизма дифференциала связан с ротором, а другой наконечник активной вилки через вторую шестерню механизма дифференциала со статором насос-дозатора, причем насос-дозатор гидравлически связан с распределителем, а его гидроцилиндр связан с корпусом копирующего устройства и подвеской.
2. Устройство по п.1, отличающееся тем, что образующие рабочих поверхностей наконечников у основания выполнены в виде вогнутой к оси наконечника кривой.
РИСУНКИ
MM4A – Досрочное прекращение действия патента СССР или патента Российской Федерации на изобретение из-за неуплаты в установленный срок пошлины за поддержание патента в силе
Дата прекращения действия патента: 29.04.2006
Извещение опубликовано: 27.04.2007 БИ: 12/2007
|
|