|
|
(21), (22) Заявка: 2004113936/09, 05.05.2004
(24) Дата начала отсчета срока действия патента:
05.05.2004
(45) Опубликовано: 20.02.2006
(56) Список документов, цитированных в отчете о поиске:
SU 1215185 A1, 28.02.1986. SU 1449923 A1, 07.01.1989. WO 01/52420 А1, 19.07.2001. US 4763083, 09.08.1988. US 4602220, 22.07.1986.
Адрес для переписки:
111141, Москва, 1-й пр-д Перова поля, 8, ФГУП ЦНИИС
|
(72) Автор(ы):
Давыдкин Павел Николаевич (RU), Колтунов Михаил Натанович (RU)
(73) Патентообладатель(и):
ФГУП Центральный научно-исследовательский институт связи (ФГУП ЦНИИС) (RU)
|
(54) СИСТЕМА СИНХРОНИЗАЦИИ ПЕРВИЧНЫХ ЭТАЛОННЫХ ГЕНЕРАТОРОВ
(57) Реферат:
Изобретение относится к системам синхронизации и может быть использовано в сетях тактовой сетевой синхронизации операторов связи, у которых установлены первичные эталонные генераторы. Достигаемый технический результат – синхронная работа двух и более первичных эталонных генераторов, установленных в сети тактовой сетевой синхронизации без ухудшения их как частотных, так и фазовых характеристик. Система содержит ведущий первичный эталонный генератор, подсоединенный к нему ведомый первичный эталонный генератор, содержащий «п» устройств измерения фазовых отклонений, «п» первичных эталонных источников, «п» устройств синхронизации с фазовой автоподстройкой частоты и вторичный задающий генератор, где «п» – любое целое число больше 2. 2 ил. 
Изобретение относится к системам синхронизации и может быть использовано в сетях тактовой сетевой синхронизации (ТСС) операторов связи, у которых установлены первичные эталонные генераторы (ПЭГ) с целью обеспечения их синхронной работы без ухудшения их временных характеристик.
Для надежного функционирования цифровых сетей электросвязи необходимо синхронизировать генераторное оборудование в этих сетях с помощью синхросигналов высокой точности и стабильности тактовой частоты при минимальных фазовых искажениях. В соответствии с Рекомендацией МСЭ-Т G.811 отклонение действительного значения частоты синхросигналов на выходах ПЭГ для цифровых сетей электросвязи от ее номинального значения не должно превышать 10-11 относительных единиц при заданных допустимых значениях фазовых блужданий. С целью выполнения требований к качественным показателям синхросигналов в качестве источников обычно используются цезиевые или водородные стандарты частоты, отклонение действительного значения частоты которых от ее номинального значения составляет не более нескольких единиц 10-12. Для надежности формирования синхросигналов обычно в состав ПЭГ входят три первичных эталонных источника (ПЭИ) и вторичный задающий генератор (ВЗГ), обеспечивающий выбор исправного ПЭИ с хорошими характеристиками и формирование необходимого числа синхросигналов на его выходах, являющихся одновременно выходами ПЭГ.
Как свидетельствует опыт практической эксплуатации сетей ТСС, территориально разнесенные ПЭГ, работают по отношению друг к другу в псевдосинхронном режиме. Примером тому могут служить межрегиональные сети операторов связи ОАО «Ростелеком», ЗАО «Компания ТрансТелеКом» оборудование цифровой сети, которых располагается на территории всей России, разделенной на регионы по синхронизации и в каждом регионе установлен ПЭГ.
Изменение относительного положения фаз синхросигналов от двух ПЭГ, работающих в псевдосинхронном режиме приводит к появлению, хотя и редких, «проскальзываний» цифровой информации на стыке при переходе из региона в регион по синхронизации, за счет того, что с течением времени происходит неминуемое рассогласование фаз более, чем на 125 мкс, что и приводит к «проскальзованиям», т.е. к потере или повторению информации в системах коммутации, при этом максимально допустимое число псевдосинхронных стыков нормируется в Рекомендациях МСЭ-Т и равняется тринадцати.
Отмеченное обстоятельство обуславливает стремление операторов связи обеспечить синхронную работу ПЭГ в разных регионах по синхронизации цифровой сети электросвязи.
Известны решения взаимного резервирования ПЭГ разных операторов связи посредством простой подачи синхросигналов на входы ВЗГ (в составе ПЭГ) от другого ПЭГ (УДК 621.395.74.072.9 «Взаимное резервирование ПЭГ подсетей сети синхронизации», НТК, Киев, 2001 г.). Однако в данном случае рассматривается аварийная ситуация ПЭГ, и такое включение ухудшает качество синхросигналов на выходе ВЗГ в результате накопления фазовых шумов, которые отражаются на качестве передачи информации по сети.
Известно устройство, с помощью которого определяется ошибка временного интервала (разность фазы и частоты измеряемого и опорного сигнала) «Устройство измерения фазовых отклонений» (SU 1449923), а также «Устройство синхронизации с фазовой автоподстройкой частоты» (SU 1215185), обеспечивающее регулировку фазы сигнала на выходе системы ФАПЧ с шагом по уровню меньшим, чем уровень шумов генератора, которые реализованы, соответственно, в схемах измерителя и имитатора измерительного прибора ИВО-1М (ООО «АЛТО», С-Пб., Россия).
Технический результат изобретения заключается в синхронной работе двух и более ПЭГ, установленных на сети ТСС, без ухудшения их как частотных, так и фазовых характеристик.
Известно устройство, с помощью которого определяется ошибка временного интервала (разность фазы и частоты измеряемого и опорного сигнала) «Устройство измерения фазовых отклонений» (SU 1449923), а также «Устройство синхронизации с фазовой автоподстройкой частоты» (SU 1215185), обеспечивающее регулировку фазы сигнала на выходе системы ФАПЧ с шагом по уровню меньшим, чем уровень шумов генератора, которые реализованы, соответственно, в схемах измерителя и имитатора измерительного прибора ИВО-1М (ООО «АЛТО», С-Пб., Россия).
Поставленная цель достигается тем, что система синхронизации первичных эталонных генераторов содержит ведущий первичный эталонный генератор, соединенный через систему передачи синхросигнала на базе синхронной цифровой иерархии или плезиохронной цифровой иерархии с ведомым первичным эталонным генератором, содержащим «п» устройств измерения фазовых отклонений, «п» первичных эталонных источников, «п» устройств синхронизации с фазовой автоподстройкой частоты и вторичный задающий генератор, где «п» – любое целое число больше 2, при этом первые входы устройств измерения фазовых отклонений соединены с системой передачи синхросигнала, вторые входы устройств измерения фазовых отклонений подключены к выходам соответствующих эталонных источников и первым входам соответствующих устройств синхронизации с фазовой автоподстройкой частоты, вторые входы которых соединены с выходами соответствующих устройств измерения фазовых отклонений, а выходы устройств синхронизации с фазовой автоподстройкой частоты соединены со входами вторичного задающего генератора.
Принцип действия системы синхронизации ПЭГ основан на определении отклонения усредненной частоты и возникающей при этом временной ошибки между сигналом от ведущего ПЭГ и сигналами каждого ПЭИ в ведомом ПЭГ за большой временной интервал (порядка месяца) и по результатам измерения проведение корректировки частоты и фазы синхросигнала на входе ВЗГ без создания фазовых шумов.
Сопоставительный анализ с прототипом показывает, что заявляемая система отличается наличием дополнительных элементов при соответствующем схемном решении. Таким образом, заявляемое техническое решение соответствует критерию изобретения «новизна».
Сравнение заявляемого устройства с другими аналогичными техническими решениями показывает, что наличие измерителя фазовых отклонений с высокой точностью, а также устройства фазовой автоподстройки, не вносящего фазовых шумов известно. Однако благодаря использованию их в составе ПЭГ при соответствующем схемном соединении с другими элементами с целью сравнения опорного от ПЭИ и измеряемого с линии сигналов в заявляемом устройстве появляются новые свойства, заключающиеся в расширении пределов рабочей области использования. Это позволяет сделать вывод о соответствии заявляемого технического решения критерию «изобретательский уровень».
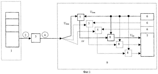
На фиг.1 приведена функциональная схема предлагаемой синхронной системы ПЭГ, где обозначено:
1 – ведущий ПЭГ;
2 – передаваемый синхросигнал;
3 – система передачи синхросигнала на базе синхронной цифровой иерархии (СЦИ) или плезиохронной цифровой иерархии (ПЦИ);
4 – принимаемый синхросигнал;
5 – устройство измерения фазовых отклонений (УИ);
6 – ПЭИ в ведомом ПЭГ;
7 – ВЗГ в ведомом ПЭГ;
8 – устройство синхронизации с фазовой автоподстройкой частоты (УС), содержащий фазовый дискриминатор и управляемый генератор;
9 – ведомый ПЭГ;
Uизм – измеряемый сигнал с линии от ведущего ПЭГ;
Uпэи – сигнал от ПЭИ;
Uвх – входной сигнал ВЗГ;
КУ – команды управления на входе УС.
На УС 8 подается команда от УИ 5 и опорный сигнал от ПЭИ 6. С УС 8 скорректированный сигнал подается на ВЗГ. Частоты повторения команд рассчитываются в УИ, а шаг корректирования фазы не превышает нескольких десятых долей наносекунды, и, следовательно, сигнал ПЭИ практически не искажается.
Алгоритм работы представлен на фиг.2.
Сигнал от ведущего ПЭГ 1 передается по системе передачи СЦИ/ПЦИ к ведомому ПЭГ 9. Например, в виде тактовых импульсов первичной цифровой группы. На выходе оборудования СЦИ/ПЦИ 3 сигнал размножается на необходимое количество выходов, и подается на УИ 5, команды которого подаются на УС 8. УС, работая по принципу сравнения фаз Uизм и Uпэи, определяет усредненную ошибку временного интервала. Команды управления проводя корректировку фазы сигнала Uвх с шагом в доли наносекунд не должны изменять усредненное значение частоты ПЭИ 6 более, чем на несколько единиц 10-12. Скорректированный по частоте сигнал Uвх с УС 8 передается на вход ВЗГ 7. Подстройка частоты на величину 2×10-12 может, например, происходить с периодом 100 с и на значение 0,2 нс. Если происходит пропадание сигнала или резкое изменение его фазы система исключает эти данные из процесса измерения.
При соблюдении этого условия можно сделать вывод, что цель, поставленная перед предлагаемым изобретением, – система синхронизации ПЭГ при передаче сигналов по сети СЦИ/ПЦИ – достигнута.
Несомненным достоинством предложенного изобретения является простота его конструкции, обуславливающая его малую стоимость и высокую надежность в эксплуатации, что обеспечит его возможность широкого практического применения.
Технико-экономический эффект, обусловленный применением предложенной системы, заключается в повышении качества и надежности функционирования цифровой сети электросвязи, а следовательно, и в достижении определенного экономического эффекта от использования данного метода синхронизации ПЭГ и снимет ограничения на дополнительное количество ПЭГ, устанавливаемых на сети.
Количественная величина ожидаемого технико-экономического эффекта от использования предложенного устройства зависит от конкретного его исполнения и важности объектов, на которых оно будет реализовано – ее определение возможно только после реализации на конкретных объектах.
Формула изобретения
Система синхронизации первичных эталонных генераторов, содержащая ведущий первичный эталонный генератор, соединенный через систему передачи синхросигнала на базе синхронной цифровой иерархии или плезиохронной цифровой иерархии с ведомым первичным эталонным генератором, содержащим «п» устройств измерения фазовых отклонений, «п» первичных эталонных источников, «п» устройств синхронизации с фазовой автоподстройкой частоты и вторичный задающий генератор, где «п» – любое целое число больше 2, при этом первые входы устройств измерения фазовых отклонений соединены с системой передачи синхросигнала, вторые входы устройств измерения фазовых отклонений подключены к выходам соответствующих эталонных источников и первым входам соответствующих устройств синхронизации с фазовой автоподстройкой частоты, вторые входы которых соединены с выходами соответствующих устройств измерения фазовых отклонений, а выходы устройств синхронизации с фазовой автоподстройкой частоты соединены со входами соответствующих вторичных задающих генераторов/
РИСУНКИ
|
|