|
|
(21), (22) Заявка: 2004125020/09, 16.08.2004
(24) Дата начала отсчета срока действия патента:
16.08.2004
(45) Опубликовано: 20.02.2006
(56) Список документов, цитированных в отчете о поиске:
RU 2013229 C1, 30.05.1994. RU 98105324 A, 10.01.2000. RU 98104786 A, 10.01.2000. RU 2141153 C1, 10.11.1999. JP 20003-244933 A, 29.08.2003. JP 4-321486 А, 11.11.1992.
Адрес для переписки:
660074, г.Красноярск, ул. Киренского, 26, КГТУ, ПИО
|
(72) Автор(ы):
Артемьев Михаил Ильич (RU), Казьмин Богдан Николаевич (RU)
(73) Патентообладатель(и):
Государственное образовательное учреждение высшего профессионального образования Красноярский государственный технический университет (КГТУ) (RU)
|
(54) ЭЛЕКТРОДИНАМИЧЕСКИЙ ДВИЖИТЕЛЬ
(57) Реферат:
Изобретение относится к электротехнике, к энергетическим транспортным средствам и может быть использовано для привода всех видов транспорта. Электродинамический движитель содержит индуктор, якорь и источник переменного тока. Дополнительно он содержит электровакуумный прибор с тремя парами электродов. Индуктор выполнен в виде магнитопровода с обмотками и с зазором, в котором размещен якорь. Одна из обмоток соединена с якорем, концы другой обмотки соединены с поляризующимися электродами. Средняя точка ее соединена с катодом электрической дуги и заземлена. Симметричные отводы ее соединены с электродами ортогонального электрического поля и противофазно – поляризующимся электродам. Третья обмотка соединена с источником переменного тока и через преобразователь напряжения с электродами электрической дуги, а через конденсаторы – с концами второй обмотки. Технический результат заключается в снижении затрат, негативного влияния электромагнитного поля на окружающую среду и повышении кпд. 1 ил. 
Изобретение относится к энергетическим и силовым транспортным средствам и может быть использовано на сухопутном, водном, воздушном и космическом транспорте.
Широко известны транспортные средства с электрической тягой, работающие за счет получаемой от электросети энергии, это электровозы, трамваи, троллейбусы.
Недостатки этих транспортных средств: требуется строительство специальных дорог и электрических сетей; ограниченность перемещения из-за привязанности к дорогам и электрическим сетям; большие потери энергии при передаче по электрическим сетям и при преобразовании электроэнергии в механическую энергию.
Известны мобильные транспортные средства с электрической тягой [1], работающие на электроэнергии химических аккумуляторов, солнечных батарей, преобразующие электроэнергию с помощью электродвигателя во вращение колес, лопастей винтов, шнеков и др. Недостатки таких транспортных средств: малая мощность, потери энергии в электродвигателе на вращение его механических частей.
Наиболее близким по физической сущности является электродинамический движитель [2], содержащий источник переменного тока, индуктор с параллельными шинами, жестко скрепленный с ним якорь с шинами, перпендикулярными шинам индуктора и соединенными с источником переменного тока. Сущность его заключается в том, что электроэнергия источника переменного тока преобразуется непосредственно в движущую транспортный аппарат силу тяги, возникающую в якоре, при взаимодействии электрического тока якоря с магнитной составляющей поля токов смещения, создаваемого индуктором. Якорь, жестко закрепленный на транспортном аппарате, движет транспортное средство в направлении силы тяги.
Недостатками этого движителя являются большие потери энергии на волновом сопротивлении среды между шинами индуктора, т.к. удельное сопротивление среды на 8-10 порядков больше удельного сопротивления материала шин индуктора, поэтому сила тяги и кпд малы; и негативное влияние мощного высокочастотного поля на пассажиров и персонал транспортного средства (данный движитель наиболее эффективен в ВЧ диапазоне, а также мощное ВЧ поле индуктора создает большой уровень помех радиоканалам).
Задачей электромагнитного движителя является снижение затрат и негативного влияния электромагнитного поля на окружающую среду и повышение кпд движителя.
Задача решается тем, что электродинамический движитель, содержащий индуктор, якорь и источник переменного тока, согласно изобретению дополнительно содержит электровакуумный прибор, наполненный рабочим веществом, с расположенными в нем парами электродов электрической дуги, ортогонального электрического поля и поляризующимися электродами и преобразователь напряжения, а индуктор выполнен в виде магнитопровода с обмотками с зазором, в котором размещен якорь, причем одна из обмоток соединена с якорем, концы другой обмотки соединены с поляризующимися электродами, средняя точка соединена с катодом электрической дуги и заземлена, а симметричные отводы ее подключены к электродам ортогонального электрического поля и противофазно поляризующимся электродам, а третья обмотка соединена с источником переменного тока и, через преобразователь напряжения, с электрической дугой, а через конденсаторы с концами второй обмотки.
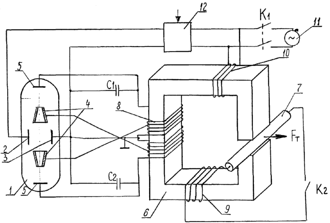
На чертеже приведена схема реализации тягового усилия электродинамического движителя
Электродинамический движитель состоит из электровакуумного прибора 1, наполненного рабочим веществом, внутри которого расположены электроды электрической дуги 2 и 3, электроды ортогонального электрического поля 4 и поляризующиеся электроды 5, индуктор, состоящий из магнитопровода 6 и обмоток 8, 9 и 10, соединенных с электродами электровакуумного прибора, а в зазоре магнитопровода расположен якорь 7, соединенный с обмоткой 9 через выключатель К2. Для запуска движитель содержит также внешний источник переменного тока 11 с выключателем К1 и преобразователь напряжения 12. В электрическую цепь электровакуумного прибора 1 введены конденсаторы С1 и С2.
Работает данная схема следующим образом. Выключателем К1 подключают к схеме источник 11 переменного тока рабочей частоты, например электрическую сеть частотой 50 Гц. Это напряжение через преобразователь напряжения 12, который осуществляет двухполупериодное выпрямление и регулировку напряжения, подается на электроды 2 и 3, между которыми зажигается электрическая дуга, ионизирующая рабочее вещество (например, инертный газ). Переменное напряжение также подается на электроды 5, соединенные с соответствующими частями обмотки 8 индуктора относительно средней точки с нулевым потенциалом. Когда на одном из электродов 4 отрицательная полуволна напряжения, в это время на другом электроде положительная полуволна напряжения. Под действием положительной полуволны электроны выходят из области электрической дуги между электродами 2 и 3, получают потенциал анодного поля, проходят сквозь отверстие в электроде 4 (формирование электронного луча методом “электронной пушки”) и попадают на соответствующий поляризующийся электрод 5, заряжая (поляризуя) его отрицательно. Между электродом 5 и узлом схемы с нулевым потенциалом образуется разность потенциалов, под действием которого в соответствующей части обмотки идет электрический ток, создающий магнитный поток в магнитопроводе 6 индуктора. Этот электрический ток рекомбинирует (восстанавливает) положительные ионы, приходящие на катод 3 электрической дуги, в атомы рабочего вещества вновь подвергаются ионизации электрической дугой.
Когда на том же электроде 4 положительная полуволна напряжения, электрический ток идет по другой части обмотки 8 индуктора, создавая магнитный поток в магнитопроводе 6 индуктора противоположного направления. В магнитопроводе 6 индуктора создается переменный магнитный поток.
Переменный магнитный поток в магнитопроводе 6 индуктора за счет электромагнитной индукции создает в обмотке 10 переменное напряжение, преобразуемое преобразователем напряжения 11, поддерживающее электрическую дугу между электродами 2 и 3, а внешний источник 11 автоматически отключается.
Магнитный поток в магнитопроводе 6 также создает ЭДС в обмотке 9 якоря 7, под действием которой в якоре 7 при замыкании включателя К2 идет электрический ток. Взаимодействие магнитного поля в зазоре магнитопровода 6 индуктора с электрическим током в якоре 7 создает тяговое усилие (FТ), выталкивающее якорь 7 из зазора магнитопровода. Поменяв местами концы соединения обмотки 9 с якорем 7, вектор тягового усилия изменит направление на противоположное, а транспортное средство, снабженное таким движителем, будет перемещаться в направлении результирующего действия силы тяги и силы торможения.
Для повышения кпд и стабильности работы схемы электрическую цепь индуктора с помощью конденсаторов С1 и С2 настраивают в резонанс на рабочую частоту колебаний электромагнитного поля.
Источники информации
1. Васин В.М. Электрический привод. М.: Высшая школа, 1984. – С.6-11.
2. Патент RU 2013229, B 60 L 11/00, 1994.
Формула изобретения
Электродинамический движитель, содержащий индуктор, якорь и источник переменного тока, отличающийся тем, что он дополнительно содержит электровакуумный прибор, наполненный рабочим веществом, с расположенными в нем парами электродов – электрической дуги, ортогонального электрического поля и поляризующимися электродами, и преобразователь напряжения, а индуктор выполнен в виде магнитопровода с обмотками с зазором, в котором размещен якорь, причем одна из обмоток соединена с якорем, концы другой обмотки соединены с поляризующимися электродами, средняя точка соединена с катодом электрической дуги и заземлена, а симметричные отводы ее – с электродами ортогонального электрического поля и противофазно поляризующимся электродам, а третья обмотка соединена с источником переменного тока и через преобразователь напряжения с электродами электрической дуги, а через конденсаторы – с концами второй обмотки.
РИСУНКИ
MM4A – Досрочное прекращение действия патента СССР или патента Российской Федерации на изобретение из-за неуплаты в установленный срок пошлины за поддержание патента в силе
Дата прекращения действия патента: 17.08.2008
Извещение опубликовано: 20.07.2010 БИ: 20/2010
|
|