|
|
(21), (22) Заявка: 2003110016/28, 08.04.2003
(24) Дата начала отсчета срока действия патента:
08.04.2003
(30) Конвенционный приоритет:
09.04.2002 DE 10215660.3
(43) Дата публикации заявки: 10.10.2004
(45) Опубликовано: 20.02.2006
(56) Список документов, цитированных в отчете о поиске:
US 5003226 А, 26.03.1991. US 5198718 А, 30.03.1993. US 6291940 B1, 18.09.2001. US 4954751 A, 04.09.1990. SU 1048956 A, 30.06.1985.
Адрес для переписки:
129010, Москва, ул. Б. Спасская, 25, стр.3, ООО “Юридическая фирма Городисский и Партнеры”, пат.пов. Ю.Д.Кузнецову, рег.№ 595
|
(72) Автор(ы):
ШАРТНЕР Карл-Хайнц (DE), ЛОЕБ Хорст (DE), ЛЯЙТЕР Ханс Юрген (DE), ХАРМАНН Ханс-Петер (DE)
(73) Патентообладатель(и):
ЕАДС СПЕЙС Транспортейшн,ГмбХ, (DE)
|
(54) ВЫСОКОЧАСТОТНЫЙ ИСТОЧНИК ЭЛЕКТРОНОВ, В ЧАСТНОСТИ НЕЙТРАЛИЗАТОР
(57) Реферат:
Использование: высокочастотный источник электронов может быть использован в качестве нейтрализатора ионов. Сущность изобретения: высокочастотный источник электронов содержит разрядное пространство, по меньшей мере, с одним газовпускным отверстием для ионизируемого газа и, по меньшей мере, одним экстракционным отверстием (16) для электронов. Разрядное пространство, по меньшей мере, частично окружено, по меньшей мере, первым электродом и вторым электродом, при этом между электродами приложено электрическое высокочастотное поле. Высокочастотный источник электронов дополнительно содержит пару вспомогательных электродов, между которыми приложено постоянное напряжение в области действия высокочастотного поля. Техническим результатом изобретения является создание высокочастотного источника электронов, который не содержит эмиттера электронов и, тем самым, не требует времени подогрева, не содержит сложных дорогостоящих деталей, которые необходимо защищать от кислорода и влаги, и обладает меньшей потребностью в мощности. 13 з.п. ф-ы, 2 ил. 
Изобретение относится к высокочастотному источнику электронов, в частности в качестве нейтрализатора источника ионов, в частности, ионного привода, содержащему разрядное пространство, по меньшей мере, с одним газовпускным отверстием для ионизируемого газа и, по меньшей мере, одним экстракционным отверстием для электронов.
Везде там, где требуются ускоренные, электрически заряженные частицы, как, например, при обработке поверхности, ионные пучки должны быть нейтрализованы методом ускорения. Так, в космонавтике во все большем объеме используются электродвигатели для приведения в движение спутников или космических зондов после их отделения от ракеты-носителя. Специально для соблюдения траектории движения геостационарных спутников связи уже сегодня используются электродвигатели. Для этого используются прежде всего ионные двигатели и плазменные SPT-двигатели. Оба типа создают свою тягу путем выбрасывания ускоренных ионов. Во избежание, однако, зарядки спутника этот ионный пучок должен быть нейтрализован. Требующиеся для этого электроны получают из источника электронов и вводят в ионный пучок посредством плазменной связи.
В космонавтике для нейтрализации этих электродвигателей (ионные двигатели и плазменные SPT-двигатели) до сих пор используются нейтрализаторы с полым катодом, плазменной перемычкой и эмиттером электронов. Нейтрализатор состоит при этом из трубки катода, которая в направлении потока закрыта катодной шайбой с центральным отверстием, и анодной шайбы также с центральным отверстием. Внутри трубки катода находится эмиттер электронов, пористый материал которого пропитан щелочно-земельными металлами, в том числе барием. Снаружи на трубке катода размещено электронагревательное устройство в виде катушки, которое нагревает трубку катода и эмиттер электронов. Содержащийся в эмиттере электронов барий испускает при этом электроны. За счет приложенного между анодной и катодной шайбами напряжения электроны ускоряются. Если через трубку катода пропустить инертный газ, например ксенон, то электроны будут сталкиваться с нейтральными атомами газа и ионизировать их, в результате чего образуется плазма, выходящая через отверстие в анодной шайбе.
Недостаток этого устройства в том, что содержащийся в эмиттере электронов эмиттерный материал гигроскопичен и к тому же при повышенных температурах вступает в реакцию с кислородом. Это влечет за собой сильные ограничения в хранении перед монтажом, во время монтажа на спутнике и вводе в действие перед запуском в космическое пространство. Другой недостаток подобных сложных и ограниченных по сроку службы источников электронов в том, что включению предшествует занимающий несколько минут подогрев эмиттера.
Далее из US 5198718 известен нейтрализатор для источника ионов, состоящий из плазменной камеры со стенками из диэлектрического материала и окруженный высокочастотной катушкой.
Подобный высокочастотный источник электронов вырабатывает электроны за счет плазмы, которая, будучи вызвана индукцией, поддерживается переменным магнитным полем. Это поле создается высокочастотной катушкой, через которую протекает высокочастотный ток. Имеющиеся в плазме электроны ускоряются за счет индукции до скоростей, которые в случае столкновения с нейтральным атомом в плазме могут вызвать ионизацию последней. При ионизации один или несколько последующих электронов выбиваются нейтральным атомом, в результате чего у протекающего вслед рабочего газа возникает непрерывный поток электронов.
Недостатком подобного источника электронов является то, что большая часть необходимой для поддержания плазмы в плазменной камере мощности теряется за счет того, что обладающие высокой энергией электроны из плазмы попадают на стенку камеры и при этом снова связываются с атомами. В результате этого процесса, во-первых, теряются эти электроны, а во-вторых, за счет этого отдается большая часть энергии, полученной электронами от переменного поля. К тому же высокочастотная катушка индуктирует в стенке плазменной камеры кольцевой ток (вихревой ток), в результате чего теряется энергия, которая не может быть больше отдана плазме.
Задачей настоящего изобретения является создание высокочастотного источника электронов, который, с одной стороны, не содержит эмиттера электронов и тем самым не требует времени подогрева, а также обходится без сложных дорогостоящих деталей, которые приходится защищать от кислорода и влаги. С другой стороны, должен быть создан высокочастотный источник электронов, обладающий меньшей потребностью в мощности.
Решение этой задачи достигается, согласно изобретению, за счет того, что разрядное пространство, по меньшей мере, частично окружено, по меньшей мере, одним электродом и поджигным электродом и что между электродами приложено электрическое высокочастотное поле.
Согласно изобретению, высокочастотный источник электронов работает с холодным дуговым разрядом за счет того, что вырабатывающая электроны плазма создается с емкостным высокочастотным разрядом, который вырабатывается электрическим высокочастотным полем между электродами в разрядном пространстве. Для изобретения необязательно, чтобы электроды окружали разрядное пространство и образовывали полость. Они должны быть лишь пригодны для поджигания плазмы в разрядном пространстве и ее поддержания.
Поджигание разряда высокочастотного источника электронов может происходить толчком давления, создаваемым, например, за счет кратковременного увеличения массового потока через источник электронов. Напряжение зажигания уменьшается, тем самым по так называемой кривой Пашена до своего минимума и газоразрядный промежуток пробивается. Ускоренные электроны тогда снова выбивают новые электроны из нейтральных частиц и ионизируют их. За счет этой непрерывной ионизации образуется плазма, вырабатывающая необходимые электроны.
Преимущества высокочастотного источника электронов заключаются в простой несложной конструкции. Так, отпадает нагрев вместе с электроникой и эмиттером электронов, за счет чего отпадают также ограничения в отношении хранения и окружающих условий при монтаже и эксплуатации. Например, возможна проверка функциональной пригодности в нормальных условиях окружающей среды после изготовления без отрицательного воздействия на срок службы высокочастотного источника электронов. Кроме того, для эксплуатации могут использоваться инертные газы, такие как ксенон, или другие подходящие газы, которые не требуется специально для этого подвергать очистке от кислорода и остаточной влажности. За счет отсутствия времени подогрева и процессов активирования возникает, кроме того, возможность быстрого использования электронов, так что при нейтрализации ионного двигателя он может сразу же развить свою тягу.
Благодаря возможности эксплуатации высокочастотного источника электронов с относительно низкой частотой, со стороны электроники дополнительно можно достичь высокого кпд. Сюда относится и то, что высокочастотный источник электронов, согласно изобретению, обладает очень малой потребностью в мощности.
Предпочтительно разрядное пространство окружено плазменной камерой. Это минимизирует возможные потери газа. В частности, электрод выполнен с возможностью образования плазменной камеры.
Если электрод образует плазменную камеру, то его выполняют предпочтительно в виде полого катода. За счет этого, во-первых, достигается оптимальная геометрия для заключения плазмы, и, кроме того, подобная геометрия поддерживает емкостную связь высокочастотного поля с плазмой.
Ориентация электрического высокочастотного поля по направлению экстракции электронов может быть произвольной, однако предпочтительно электрическое высокочастотное поле параллельно направлению экстракции. В одной альтернативной предпочтительной форме выполнения поле может быть также перпендикулярно направлению экстракции.
Поскольку не приходится использовать эффекты резонанса, частота разряда может быть произвольно выбрана в широких пределах и, таким образом, оптимально согласована с требованиями. Преимущественно частота электрического высокочастотного поля составляет, однако, от 100 кГц до 50 МГц.
Для вырабатывания электрического высокочастотного поля предпочтительным образом между электродом и поджигным электродом включен генератор высокой частоты (ВЧ-генератор), и здесь особенно предпочтительно генератор радиочастоты (РЧ-генератор), причем подключение к электродам осуществляют посредством согласующей цепи. При этом, в частности, предусмотрено, что согласующая цепь представляет собой трансформатор с кольцевым сердечником. При таком выполнении напряженность электрического высокочастотного поля может быть оптимально согласована с условиями разряда.
У устройства в такой форме, что плазменная камера выполнена в виде электрода, оказалось, что предпочтительно подключать поджигной электрод к активному выходу ВЧ-генератора, а электрод – к потенциалу массы.
Для электрического экранирования от окружающего пространства при этом предпочтительно, что электрод и поджигной электрод окружают экранирующим электродом.
В другой предпочтительной форме выполнения электрод подключен к активному выходу ВЧ-генератора, а поджигной электрод – к потенциалу массы. Здесь экранирующий электрод может быть не нужен.
Для повышения кпд высокочастотного источника электронов дополнительно к нагружению электрическим высокочастотным полем между электродами может быть приложено постоянное напряжение. Это облегчает выход электронов плазмы из источника электронов.
В одной альтернативной форме выполнения постоянное напряжение может быть приложено также через вспомогательные электроды, для чего их группируют вокруг разрядного пространства.
Для электродов может быть выбран, в принципе, любой подходящий материал, отвечающий требованиям к такому источнику электронов и его особой области применения. Предпочтительно электроды изготовлены, однако, из металлического материала, такого как титан, молибден, вольфрам, сталь, специальная нержавеющая сталь, а также алюминий или тантал. В качестве неметаллических материалов рассматриваются особенно графит, углеродистые композиты или проводящая керамика.
Изобретение более подробно описано ниже с помощью двух изображенных на чертежах примеров выполнения, из которых следуют другие подробности, признаки и преимущества.
На чертежах представляют:
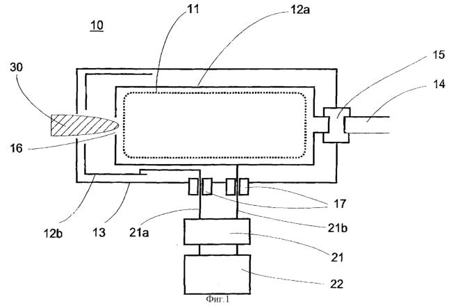
– фиг.1: схематично конструкцию высокочастотного источника электронов согласно изобретению в варианте с выполненной в виде полого катода плазменной камерой и экранирующим электродом;
– фиг.2: схематично конструкцию в варианте с электрически изолированной от электродов плазменной камерой.
Изображенный на фиг.1 высокочастотный источник 10 электронов содержит электрод 12а, образующий выполненную в виде полого катода плазменную камеру и окружающий разрядное пространство 11. Она имеет кругообразное сечение и на одной стороне газовпускное отверстие 14 для ионизируемого рабочего газа, например ксенона. На другом конце плазменной камеры коаксиально расположено экстракционное отверстие 16 для выхода плазмы вместе с электронами. Выполненный в виде плазменной камеры электрод 12а частично окружен поджигным электродом 12b. Последний дополнительно окружен экранирующим электродом 13. При этом поджигной 12b и экранирующий 13 электроды имеют соосно с экстракционным отверстием 16 в плазменной камере отверстие для обеспечения выхода плазмы с электронами. Для полного охвата плазменной камеры 12а экранирующим электродом газовпускное отверстие 14 проходит сквозь экранирующий электрод 13. Для устранения электрической связи газовпускное отверстие 14 электрически отделено от электродов 12а, 13 изолятором 15.
Проводящие зоны, в частности выполненный в виде плазменной камеры электрод 12а, помимо своей первичной функции для обеспечения электростатического заключения электронов должен удовлетворять другим условиям. Во-первых, он должен быть стойким к плазме с тем, чтобы отработать требуемый срок эксплуатации с приемлемой потерей качества, а во-вторых, он не должен экранировать связь с электрическим высокочастотным полем и связанное с этим поддержание плазмы. Во время эксплуатации на электрод 12а непрерывно попадают ионы, что приводит к эрозии. Кроме того, температура высокочастотного источника электронов может составлять 300-400°С. При применении в космической технике существуют к тому же относительно жесткие требования к высокочастотному источнику электронов. Так, для применения высокочастотного источника электронов в качестве нейтрализатора для ионных двигателей в космонавтике следует гарантировать в настоящее время срок эксплуатации 8000-15000 часов. К тому же высокочастотный источник электронов эксплуатируется в глубоком вакууме, из-за чего материал во избежание выгазовывания должен иметь низкое давление пара. Наконец, высокочастотный источник электронов должен выдерживать стартовые нагрузки при доставке в космическое пространство устройства, содержащего такой высокочастотный источник электронов. Для этого есть, в частности, некоторые металлические и неметаллические материалы, которые отвечают этим требованиям, так что проводящие зоны, в частности электрод 12а, изготовлены из титана, молибдена, вольфрама, стали, алюминия, тантала, графита, проводящей керамики или углеродистых композитов.
Управление электродом 12а и поджигным электродом 12b для вырабатывания электрического высокочастотного поля с частотой, например, 1 МГц для получения плазмы происходит посредством РЧ-генератора 22, который через трансформатор 21 с кольцевым сердечником подключен к электродам 12а, 12b подводящими проводами 21а, 21b. При этом подводящий провод 21а и тем самым плазменная камера 12а присоединены к потенциалу массы, а подводящий провод 21b и тем самым также поджигной электрод 12b – к активному выходу радиочастотной сети. Поскольку не используются эффекты резонанса, частота разряда может быть произвольно выбрана в широких пределах, так что вместо 1 МГц возможны также значения от 100 кГц до 50 МГц. Дополнительно к электрическому высокочастотному полю через подводящий провод 21b к поджигному электроду 12b приложено постоянное напряжение. За счет этого можно облегчить выход электронов из плазмы разряда и повысить кпд источника электронов. Для обеспечения электрической изоляции между различными электродами подводящие провода 21а, 21b экранированы дополнительными изоляторами 17 от экранирующего 13 и поджигного 12b электродов.
Для поджигания плазмы рабочий газ ксенон течет через газовпускное отверстие 14 в разрядное пространство 11. Между выполненным в виде плазменной камеры электродом 12а и поджигным электродом 12b приложено электрическое высокочастотное поле. Оно емкостным образом вводится в разрядное пространство 11. За счет этого немногие свободные электроны, имеющиеся в рабочем газе в термическом равновесии, ускоряются и при достаточной энергии электрического высокочастотного поля подвергают ударной ионизации рабочий газ. За счет этой ионизации вырабатываются вторичные электроны, участвующие в процессе. Возникает, таким образом, электронная лавина, приводящая в конце концов к плазме. Плазма в разрядном пространстве 11 не находится, однако, в термическом равновесии, поскольку почти вся мощность электрического высокочастотного поля поглощается электронами плазмы и они из-за своей малой массы по сравнению с ионами потребляют больше мощности, чем ионы. Вследствие этого температура электронов более чем на коэффициент 100 превышает температуру ионов и нейтральных частиц.
Через экстракционное отверстие 16 ксеноновая газовая струя выходит наружу. В данном примере она выполнена в виде сверхзвуковой реактивной струи 30 (заштрихована). Газовая струя 30 транспортирует, таким образом, высокочастотную плазму наружу. Там она может быть использована в качестве источника электронов для запуска двигателя или в качестве мостика для связи электронов с ионным пучком. За счет постоянной подачи рабочего газа через газовпускное отверстие постоянно подается новый ионизируемый газ, так что система, несмотря на отбор части плазмы, остается в равновесии.
На фиг.2 изображен высокочастотный источник 10 электронов с электродами 12а, 12b, между которыми имеется электрическое переменное поле. Переменное поле при этом перпендикулярно направлению экстракции электронов, выходящих за счет плазменной реактивной струи 30. Разрядное пространство электрически изолировано от электродов 12а, 12b диэлектрической разрядной камерой 19. Для поддержания экстракции между электрически изолированными друг от друга вспомогательными электродами 18а, 18b приложено постоянное напряжение, вырабатываемое блоком 23 питания.
Формула изобретения
1. Высокочастотный источник (10) электронов, в частности в качестве нейтрализатора источника ионов, в частности ионного привода, содержащий разрядное пространство (11), по меньшей мере, с одним газовпускным отверстием (14) для ионизируемого газа и, по меньшей мере, одним экстракционным отверстием (16) для электронов, причем разрядное пространство (11), по меньшей мере частично, окружено, по меньшей мере, первым электродом (12а) и вторым электродом (12b), при этом между электродами приложено электрическое высокочастотное поле, отличающийся тем, что высокочастотный источник (10) электронов дополнительно содержит пару вспомогательных электродов (18а, 18b), между которыми приложено постоянное напряжение в области действия высокочастотного поля.
2. Источник по п.1, отличающийся тем, что разрядное пространство (11) окружено плазменной камерой.
3. Источник по п.2, отличающийся тем, что плазменная камера выполнена в виде электрода (12а, 12b).
4. Источник по п.3, отличающийся тем, что электрод (12а) выполнен в виде полого катода.
5. Источник по любому из пп.1-4, отличающийся тем, что электрическое высокочастотное поле приложено параллельно направлению экстракции электронов.
6. Источник по любому из пп.1-4, отличающийся тем, что электрическое высокочастотное поле приложено перпендикулярно направлению экстракции электронов.
7. Источник по любому из пп.1-4, отличающийся тем, что электрическое высокочастотное поле имеет частоту от 100 кГц до 50 МГц.
8. Источник по любому из пп.1-4, отличающийся тем, что электрическое высокочастотное поле вырабатывает генератор высокой частоты, в частности радиочастотный генератор (22), с согласующей цепью, в частности трансформатором (21) с кольцевым сердечником.
9. Источник по п.8, отличающийся тем, что второй электрод (12b) присоединен к активному выходу генератора (22) высокой частоты, а первый электрод (12а) имеет потенциал массы.
10. Источник по п.9, отличающийся тем, что второй электрод (12b) окружен экранирующим электродом (13).
11. Источник по п.8, отличающийся тем, что первый электрод (12а) присоединен к активному выходу генератора (21) высокой частоты, а второй электрод (12b) имеет потенциал массы.
12. Источник по любому из пп.1-4, отличающийся тем, что между первым электродом (12а) и вторым электродом (12b) дополнительно к электрическому высокочастотному полю приложено указанное постоянное напряжение.
13. Источник по любому из пп.1-4, отличающийся тем, что у разрядного пространства (11) размещены вспомогательные электроды (18а, 18b), между которыми приложено указанное постоянное напряжение.
14. Источник по п.13, отличающийся тем, что первый электрод (12а), и/или второй электрод (12b), и/или вспомогательные электроды (18а, 18b) состоят из металлического материала из группы титан, молибден, вольфрам, алюминий, тантал, сталь или из неметаллического материала из группы графит, углеродистый композит, керамика.
РИСУНКИ
|
|