|
(21), (22) Заявка: 2004126999/28, 10.09.2004
(24) Дата начала отсчета срока действия патента:
10.09.2004
(45) Опубликовано: 20.02.2006
(15) Информация о коррекции:
Версия коррекции № 1 (
Изобретение относится к измерительной технике, а именно к устройствам измерения (преобразования) давления газообразных веществ, и может быть использовано на подвижных и стационарных объектах для преобразования скорости ветра и атмосферного давления в электрические сигналы.
Известна автоматическая система для измерения и вычисления параметров ветра, патент России №2210096, МПК7 G 01 W 1/00, опубл. в 2003 году, которая состоит из измерительной части, включающей в себя измерители скорости, давления и направления с электрическими датчиками, и вычислительной части, включающей в себя два множительных и одно делительное устройство для вычисления мощности ветрового потока.
Однако известная система из-за своих значительных габаритов может использоваться только стационарно.
Наиболее близким аналогом к заявляемому является датчик ветра емкостной ДВ-Е (техническое описание БЛ2.320.076 ТО, л.1, 4, 7, 8, 15, 16, 21, 27, ОАО «Красногорский завод им. С.А.Зверева», 1993 г.), предназначенный для преобразования поперечной составляющей скорости ветра в электрический сигнал, содержащий обтекатель, блок чувствительных элементов, электромагнит и блок управления электромагнитом. Обтекатель предназначен для восприятия воздушного потока и представляет собой корпус, верхняя часть которого имеет одну пару входных отверстий. Каждое из отверстий соединено системой входных каналов с блоком чувствительных элементов, который представляет собой два мембранно-емкостных преобразователя. Разность давлений во входных отверстиях обтекателя датчика, создающаяся при обдуве, преобразовывается с помощью мембранно-емкостных преобразователей в изменение их емкости, которое электронной схемой преобразовывается в электрический сигнал в виде напряжения постоянного тока, содержащий информацию об амплитуде и направлении поперечной составляющей скорости ветра.
Однако известный датчик ветра позволяет измерять только поперечную составляющую скорости ветра и не позволяет измерять продольную составляющую скорости ветра, что сказывается на точности измерений, а также не позволяет измерять атмосферное давление.
Задачей изобретения является создание датчика ветра и давления с расширенными функциональными возможностями.
Технический результат – увеличение числа и расширение рабочего диапазона измеряемых параметров (поперечной и продольной составляющих скорости ветра и атмосферного давления), а также повышение точности измерений.
Это достигается тем, что в датчик ветра и давления, содержащий блок чувствительных элементов, обтекатель, корпус которого выполнен с одной парой входных отверстий, оси которых расположены в одной вертикальной плоскости, проходящей через ось симметрии датчика ветра и давления, каждое из отверстий соединено соответствующим входным каналом с блоком чувствительных элементов, электромагнит, блок управления электромагнитом, в отличие от известного дополнительно введены датчик атмосферного давления, канал статического давления, четыре датчика перепада давления, конструктивно объединенные в блок чувствительных элементов. В корпусе обтекателя дополнительно выполнена вторая пара входных отверстий, оси которых расположены в одной вертикальной плоскости, проходящей через ось симметрии датчика ветра и давления перпендикулярно плоскости, в которой расположена первая пара отверстий, каждое из отверстий первой и второй пары через соответствующие входные каналы корпуса соединено с первым входом соответствующего датчика перепада давления, а вторые входы датчиков перепада давления и датчик атмосферного давления соединены с каналом статического давления. В нижней части корпуса выполнен ряд отверстий, расположенных вплотную к образующей цилиндра в узкой части обтекателя, соединенных с каналом статического давления и предназначенных для забора усредненного значения статического давления.
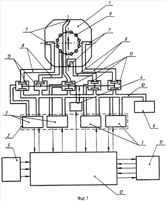
На фиг.1 изображена схема датчика ветра и давления.
На фиг.2 изображен общий вид обтекателя датчика ветра и давления.
На фиг.3 изображен обтекатель датчика ветра и давления в разрезе.
Датчик ветра и давления (фиг.1) состоит из обтекателя 1, блока чувствительных элементов 2, конструктивно объединяющего четыре датчика перепада давления 3, электромагнита 4, блока управления электромагнитом 5, датчика атмосферного давления 6. Корпус обтекателя 1 имеет две пары входных отверстий 7 (фиг.2), которые через систему входных каналов 8 (фиг.3) в корпусе обтекателя 1 соединены каждое с первым входом соответствующего датчика перепада давления 3. В нижней части корпуса обтекателя 1 выполнен ряд отверстий 9, например двенадцать, расположенных вплотную к образующей цилиндра в узкой части обтекателя 1. В нижней части датчика ветра и давления расположены блок питания 11 и распределительный блок 12. Входные каналы 8 и каналы статического давления 10 содержат верхние клапаны 13 и нижние клапаны 14.
Устройство работает следующим образом.
При обдуве датчика ветра и давления во входных отверстиях 7 обтекателя 1 создаются разности давления относительно канала статического давления 10. Преобразование давления, создающегося при обдуве, осуществляется по трехвходовой схеме, т.е. измеряется разность давлений между каждым из четырех входных отверстий обтекателя и каналом статического давления, соединенного с окружающей средой рядом отверстий в нижней части корпуса, предназначенных для забора усредненного значения статического давления. При отключенном электромагните 4 верхние клапаны 13 закрыты, и давление во входных каналах 8 каждого из датчиков перепада давления 3 уравновешено. При срабатывании электромагнита 4 верхние клапаны 13 открываются, и давление от четырех входных каналов 8 и канала статического давления 10 передается на датчики перепада давления 3 и датчик атмосферного давления 6. Одновременно нижние клапаны 14 закрываются, прерывая воздушное сообщение между первыми входами датчиков перепада давления 3. Открытие и закрытие клапанов 13, 14 осуществляется электромагнитом 4, которым управляет блок управления электромагнитом 5.
Датчики перепада давления 6Г2.320.486 ТУ и датчик атмосферного давления 6Г2.320.473 ТУ, разработанные и изготавливаемые предприятием «Аэроприбор-Восход», представляют собой выполненные в виде законченных изделий мембранно-индуктивные чувствительные элементы, в которых изменение прогиба мембран под действием перепада давлений преобразовывается в выходные напряжения постоянного тока.
Преимущества предложенного технического решения по сравнению с аналогом состоят в следующем:
– датчик ветра и давления позволяет определять две компоненты скорости ветра благодаря тому, что обтекатель имеет четыре входных отверстия, предназначенных для восприятия воздушного потока с четырех направлений;
– снижена погрешность преобразования скорости ветра в электрический сигнал благодаря использованию трехвходовой схемы измерения;
– расширен диапазон преобразования скорости ветра благодаря применению индуктивных датчиков перепада давления;
– датчик ветра и давления позволяет определять атмосферное давление благодаря применению встроенного датчика атмосферного давления.
Формула изобретения
Датчик ветра, содержащий блок чувствительных элементов, обтекатель, корпус которого выполнен с одной парой входных отверстий, оси которых расположены в одной вертикальной плоскости, проходящей через ось симметрии датчика ветра, каждое из отверстий соединено соответствующим входным каналом с блоком чувствительных элементов, электромагнит, блок управления электромагнитом, отличающийся тем, что в него дополнительно введены датчик атмосферного давления, канал статического давления, четыре датчика перепада давления, конструктивно объединенные в блок чувствительных элементов, а в корпусе обтекателя дополнительно выполнена вторая пара входных отверстий, оси которых расположены в одной вертикальной плоскости, проходящей через ось симметрии датчика ветра перпендикулярно плоскости, в которой расположена первая пара отверстий, каждое из отверстий первой и второй пары через соответствующие входные каналы корпуса соединено с первым входом соответствующего датчика перепада давления, а вторые входы датчиков перепада давления и датчик атмосферного давления соединены с каналом статического давления, при этом в нижней части корпуса выполнен ряд отверстий, расположенных вплотную к образующей цилиндра в узкой части обтекателя, соединенных с каналом статического давления и предназначенных для забора усредненного значения статического давления.
РИСУНКИ
TH4A – Переиздание описаний изобретений к патентам Российской Федерации
Причина переиздания: Коррекция библиографических данных
Извещение опубликовано: 27.01.2007 БИ: 03/2007
|
|