|
|
(21), (22) Заявка: 2004123332/28, 28.07.2004
(24) Дата начала отсчета срока действия патента:
28.07.2004
(45) Опубликовано: 20.02.2006
(56) Список документов, цитированных в отчете о поиске:
JP 58117477 А, 13.07.1983. JP 57132076 А, 16.08.1982. RU 2109308 С1, 20.04.1998. SU 1836643 A3, 23.08.1993.
Адрес для переписки:
620002, г.Екатеринбург, ул. Мира, 19, УГТУ-УПИ, центр интеллектуальной собственности, Т.В. Марксу
|
(72) Автор(ы):
Шульгин Борис Владимирович (RU), Черепанов Александр Николаевич (RU), Королева Татьяна Станиславна (RU), Иванов Владимир Юрьевич (RU), Слесарев Анатолий Иванович (RU), Анипко Алла Владимировна (RU), Джолдошов Базаркул Кошоевич (KG), Педрини Кристиан (FR), Отэфёий Бенуа (FR), Фурмиг Жан Мари (FR)
(73) Патентообладатель(и):
ГОУ ВПО Уральский государственный технический университет – УПИ (RU)
|
(54) ТЕРМОЛЮМИНЕСЦЕНТНЫЙ ДОЗИМЕТРИЧЕСКИЙ КОМПЛЕКС
(57) Реферат:
Предложен термолюминесцентный дозиметрический комплекс, пригодный для регистрации рентгеновского, гамма- и электронного излучения. Сущность: в качестве термолюминесцентного детектора в комплексе используют термолюминесцентный детектор, выполненный в виде кристаллического волокна на основе термолюминофорных фторидных, оксидных или сульфидных материалов, со светоотражающим покрытием по всей длине волокна, один конец которого снабжен зеркальным отражателем, а другой имеет стыковочный узел, через который высвечиваемая волоконным термолюминесцентным детектором светосумма поступает в волоконно-оптический кабель связи, соединенный с фотоприемником и блоком управления и обработки сигналов. Нагреватель выполнен в виде чехла из металлической фольги, плотно охватывающей волоконный термолюминесцентный детектор. Технический результат изобретения: повышение удельной (на единицу массы или объема) чувствительности детектора за счет обеспечения светосбора в полном телесном угле, близком к 4 , и создания условия для удаленного расположения фотоприемника, при котором защитные светофильтры и микрохолодильники, применяемые в известных дозиметрических комплексах, не требуются, возможность работы в полях ионизирующих излучений повышенной интенсивности и в смешанных полях излучений. 1 ил. 
Изобретение относится к области ядерного приборостроения, оно связано с разработкой дозиметрических комплексов интегрирующего типа, а именно с разработкой термолюминесцентных дозиметрических комплексов для регистрации рентгеновского, гамма- и электронного излучения, комплексов, используемых в стационарных условиях, в том числе и для индивидуальной дозиметрии, а также в качестве контролирующих дозиметрических комплексов сопровождения транспортных ядерно-энергетических установок наземного, подводного и космического базирования.
Все известные термолюминесцентные дозиметрические комплексы (ТЛД-комплексы) включают в себя термолюминесцентный детектор (ТЛД), нагреватель ТЛД-детектора, фотоприемник, а также электронный блок управления и обработки сигналов. Во всех известных ТЛД-комплексах в качестве ТЛД используют радиационно-чувствительные термолюминофорные материалы (например, LiF, NaF, CaF2, SrF2, BeO, Al2О3, Li2B4O7, Bi4Ge3O12 и другие) в виде монокристаллических или поликристаллических дисков (таблеток) со стандартными размерами: диаметром 5 мм, толщиной 1 мм. Во всех известных термолюминесцентных дозиметрических комплексах фотоприемник, как правило, измеряет только часть (не более половины) светосуммы, высвечиваемой детектором со стороны ТЛД-диска (таблетки), обращенной к фотоприемнику, то есть фотоприемник регистрирует термолюминесценцию в телесном угле, не превышающем 2 (2 -геометрия).
В предлагаемом термолюминесцентном дозиметрическом комплексе принципиально новым техническим решением является использование термолюминесцентных детекторов не в виде дисков, а в виде кристаллических волокон из радиационно-чувствительных светозапасающих термолюминофорных материалов, хранящих информацию о дозе облучения.
Известен термолюминесцентный дозиметрический комплекс – автоматизированный комплекс индивидуального дозиметрического контроля АКИДК-201 (Рекламный листок Ангарского электролизного химического комбината), пригодный для регистрации фотонного (гамма- и рентгеновского) излучения. Термолюминесцентный детектор известного комплекса представляет собой диск из монокристаллического фторида лития, активированного магнием и титаном – ТЛД-детектор марки ДТГ-4. Нагрев термолюминесцентного дискообразного детектора в известном комплексе осуществляют с помощью генератора тока высокой частоты. Считывание дозиметрической информации с ТЛД-детектора при его термовысвечивании осуществляют с помощью фотоприемника (фотоэлектронного умножителя), расположенного в непосредственной близости от нагретого детектора. Для снижения температуры фотоприемника в известном термолюминесцентном дозиметрическом комплексе используют микрохолодильник, что усложняет и удорожает конструкцию детектора. Кроме того, в известном термолюминесцентном дозиметрическом комплексе обеспечивается светособирание ТЛД детектора только в 2 телесном угле. При этом теряется не менее 50% высвечиваемой детектором светосуммы, что уменьшает почти в два раза удельную чувствительность ТЛД-детектора в сравнении с таковой при светособирании в 4 -геометрии.
Известен термолюминесцентный дозиметрический комплекс – система «Сапфир 001» (Russian State Standard Committee Certificate №2024 on approval of measurement means dated 18.01.1996. Рекламный листок). Система предназначена для измерения дозы рентгеновского и гамма-излучения в диапазоне 0,01-200 мЗв. Известный термолюминесцентный дозиметрический комплекс имеет кассету, содержащую 4 ТЛД-детектора (ТЛД-500К) в виде таблеток из Al2О3 диаметром 5 мм и толщиной 1 мм, с нагревателем в виде пластины накального типа. Однако известный термолюминесцентный дозиметрический комплекс обеспечивает светособирание с термолюминесцентного детектора только в 2 -геометрии. При этом теряется не менее 50% высвечиваемой детектором светосуммы, что уменьшает почти в два раза удельную чувствительность детектора в сравнении с таковой при светособирании в 4 -геометрии. В известном детекторе нагреватель с термолюминофором располагаются вблизи от фотоприемника, что повышает уровень тепловых шумов фотоприемника и снижает чувствительность ТЛД-комплекса в целом. В известном комплексе не предусмотрена возможность передачи высвечиваемой детектором светосуммы на удаленный от нагревателя фотоприемник.
В других известных аналогичных термолюминесцентных дозиметрических комплексах (например, Модель №»2000D фирмы Harshaw Chemical Company USA, каталог 1982 г.; патент Великобритании №1059514, кл. С 09 К 1/06, 1967) термолюминесцентные детекторы, входящие в состав ТЛД-комплексов, имеют вид дисков, с которых собирается светосумма в условиях 2 -геометрии, то есть теряется до 50% информации, фотоприемники расположены в непосредственной близости от нагревателей, что не обеспечивает высокой удельной чувствительности ТЛД-детекторов и дозиметрических комплексов в целом.
Известен термолюминесцентный дозиметрический комплекс (К.К.Шварц, М.М.Грубе. Некоторые вопросы техники измерения в термолюминесцентной дозиметрии. В сб. Радиационная физика. Рига: Зинатне. 1967. Вып.5, С.237-257), содержащий детектор на основе дискообразного кристаллического LiF (или порошкообразного LiF, сбрикетированного в таблетку) и нагревательный элемент в виде тонкой металлической пластины (0,15×4×10 мм) и фотоприемник. Однако в известном термолюминесцентном комплексе фотоприемник расположен непосредственно перед нагревателем, что создает сильный тепловой фон.
Для уменьшения теплового фона известный комплекс содержит светофильтр, что снижает чувствительность комплекса из-за неизбежных потерь в светофильтре. Недостатком известного термолюминесцентного дозиметрического комплекса является также то, что светособирание с ТЛД-детектора в нем осуществляется в 2 -геометрии. При этом теряется не менее 50% высвечиваемой детектором светосуммы, что уменьшает почти в два раза удельную чувствительность детектора в сравнении с таковой при светособирании в 4 -геометрии.
Наиболее близким к заявляемому является термолюминесцентный дозиметрический комплекс (L.Albert, O.Roy, S.Magne, L.Dusseau, J.C.Gaucher, J.Fesquet, J.Gassion and J.C.Bessiere / Optical fiber sensor based on optically stimulated luminescence for  =858 нм), играющего роль нагревателя. Фотоприемником в известном термолюминесцентном дозиметрическом комплексе служит фотоэлектрический умножитель, который принимает сигнал с ТЛД-детектора через стыковочный узел (connector) с помощью волоконно-оптического кабеля связи. Сигналы с фотоприемника обрабатываются блоком управления и обработки сигналов. Однако известный термолюминесцентный дозиметрический комплекс имеет ТЛД-датчик, выполненный из термолюминофорного материала в виде диска. Недостатком такого комплекса является то, что светособирание с дискообразного ТЛД-детектора в нем осуществляется в 2 -геометрии, при которой теряется значительная часть высвечиваемой детектором светосуммы, что уменьшает удельную чувствительность детектора.
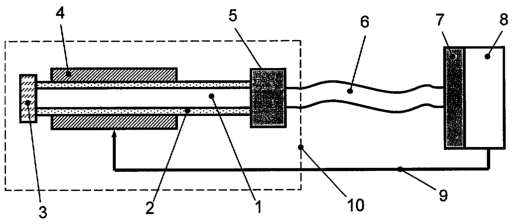
Предлагаемое устройство – термолюминесцентный дозиметрический комплекс, схема которого приведена на чертеже, содержит волоконный термолюминесцентный детектор 1 со светоотражающим покрытием 2 и зеркальным торцом 3, на одном из краев волокна закреплен плотно прилегающий к нему нагреватель 4 в виде чехла из металлической фольги, волоконный термолюминесцентный детектор 1 через стыковочный узел 5 соединен с помощью волоконно-оптического кабеля 6 с фотоприемником 7, сигнал с которого поступает на электронный блок управления (нагревателем) и обработки сигналов 8; блок управления соединен с нагревателем с помощью кабеля 9. Волоконный термолюминесцентный детектор 1 вместе с отражающим покрытием по всей длине 2, зеркальным торцом 3, нагревателем 4 и стыковочным узлом образует термолюминесцентный датчик 10.
Предлагаемое устройство работает следующим образом. После облучения волоконного термолюминесцентного детектора 1 при температуре 300К рентгеновским или гамма-излучением или электронами в нем накапливается информация о дозе облучения в виде запасенной светосуммы. По сигналу с микропроцессорного блока управления и обработки информации 8 включается нагреватель 4, обеспечивающий заданную скорость нагрева (например, 0,1-0,4 К/с) термолюминесцентного детектора. При определенной температуре (температуре пика термостимулированной люминесценции (ТСЛ)) происходит высвечивание светосуммы, запасенной в детекторе под действием излучения. Если в качестве термолюминесцентного детектора используют волокно на основе NaF-U, Cu, то основной пик ТСЛ ( =540-670 нм) наблюдается при температуре 360-420 К. Для волокна Bi4Ge3O12 пик ТСЛ ( =505 нм) наблюдается при температуре 355-390 К, а для волокна Al2O3 ( =410, 510 и 693 нм) при температуре 448 К. Таким образом, позиции пиков ТСЛ для волоконных ТЛД-детекторов (изготовленных на основе известных фторидных или оксидных материалов NaF-U, Cu; NaF-U; LiF-U,Cu; LiF-U; LiF-Ti; Mg, Al2О3; Bi4Ge3O12 или щелочноземельных сульфидов) в виде волокон такие же, как и для дискообразных ТЛД-детекторов, изготовленных из тех же материалов. Высвечиваемая светосумма собирается с помощью светоотражающего покрытия 2 и торцевого зеркала 3 в телесном угле, близком к 4 , и по волокну 1 через стыковочный узел 5 поступает в волоконно-оптический кабель 6, с помощью которого она поступает на фотоприемник, изготовленный, например, в виде матрицы из приборов с переносом заряда: ПЗС-матрицы, имеющей достаточно высокую чувствительность в видимом диапазоне. Последняя обеспечивает регистрацию ТСЛ для всех вышеуказанных ТЛД-детекторов, излучающих в видимом диапазоне спектра. Далее сигналы с ПЗС матрицы поступают на блок управления и обработки сигналов, который выдает информацию о дозе облучения.
Принципиальное преимущество предлагаемого термолюминесцентного дозиметрического комплекса заключается в том, что в нем в качестве сенсорного элемента используют кристаллические волокна из неорганических радиационно-чувствительных материалов, по сути из тех же материалов, которые применялись для традиционных дискообразных ТЛД-детекторов с теми же самыми позициями пиков ТСЛ. Использование волокна в качестве ТЛД-детекторов повышает удельную (на единицу массы или объема) чувствительность детектора, поскольку обеспечивает светосбор в полном телесном угле, близком к 4 , и создает условия для удаленного расположения фотоприемника, при котором защитные светофильтры и микрохолодильники, применяемые в известных дозиметрических комплексах, не требуются.
Повышение удельной чувствительности ТЛД создает условия для микроминиатюризации датчиков, которые могут быть использованы при определении и контроле дозозатрат космонавтов, работающих в открытом космосе, или при определении дозозатрат конструкционных элементов, солнечных батарей или оптико-электронных схем, расположенных на поверхности космических аппаратов, работающих в радиационных поясах Земли.
Дополнительным преимуществом предлагаемого устройства является особенность его работы в полях ионизирующих излучений повышенной интенсивности и в смешанных полях излучений. В первом случае волокно не только запасает в себе светосумму, продолжая работать в режиме накопления и запоминания информации о дозе и флюенсе облучения, но и начинает работать в режиме on line как люминесцентный токовый детектор, информируя о превышении опасных пороговых уровней излучения. Во втором случае при работе в смешанных полях излучений термолюминесцентные волоконные детекторы изготавливают из разных веществ. Например, из 6LiF-U, Cu изготавливаются ТЛД-детекторы для регистрации нейтронов и фотонного излучения, а из 7LiF-U, Cu, из анион-дефектного корунда Al2О3, из Bi4Ge3O12 или сульфидов щелочноземельных металлов изготавливают для регистрации рентгеновского и гамма-излучения. В этом случае применяют несколько термолюминесцентных датчиков типа датчика 10, изображенного на чертеже. Каждый датчик снабжен своим ТЛД-детектором, избирательно чувствительным к тому или иному виду ионизирующего излучения, а также индивидуальными кабелями волоконно-оптической связи, сигналы с которых обрабатываются одним общим фотоприемником и электронным блоком управления и обработки сигналов.
Формула изобретения
Термолюминесцентный дозиметрический комплекс, включающий термолюминесцентный детектор, нагреватель термолюминесцентного детектора, волоконно-оптический кабель связи, фотоприемник, электронный блок управления и обработки сигналов, отличающийся тем, что в качестве термолюминесцентного детектора используют детектор, выполненный в виде кристаллического волокна на основе термолюминофорных фторидных, оксидных или сульфидных материалов, со светоотражающим покрытием по всей длине волокна, один конец которого снабжен зеркальным отражателем, а другой имеет стыковочный узел волоконно-оптического кабеля связи, соединенного с фотоприемником и блоком управления и обработки сигналов, а нагреватель выполнен в виде чехла из металлической фольги, плотно охватывающей волоконный термолюминесцентный детектор.
РИСУНКИ
MM4A – Досрочное прекращение действия патента СССР или патента Российской Федерации на изобретение из-за неуплаты в установленный срок пошлины за поддержание патента в силе
Дата прекращения действия патента: 29.07.2006
Извещение опубликовано: 27.02.2008 БИ: 06/2008
|
|