|
|
(21), (22) Заявка: 2004105311/28, 24.02.2004
(24) Дата начала отсчета срока действия патента:
24.02.2004
(43) Дата публикации заявки: 10.08.2005
(45) Опубликовано: 20.02.2006
(56) Список документов, цитированных в отчете о поиске:
Рудь А.И. Совершенствование инкубатора. Фундаментальные и прикладные проблемы современной техники. Сборник. СКНЦВШ, Ростов-на-Дону, 1998, с.15-25. SU 1402312 A1, 15.06.1988. SU 1826898 A3, 07.07.1993. SU 1287129 A1, 30.01.1987. SU 727185 A, 25.04.1980. SU 1312095 A1, 23.05.1987.
Адрес для переписки:
346428, Ростовская обл., г. Новочеркасск, ГСП-1, ул. Просвещения, 132, ГОУ ВПО ЮРГТУ (НПИ), ОИС
|
(72) Автор(ы):
Карчков Владимир Алексеевич (RU), Фандеев Евгений Иванович (RU), Гветадзе Светлана Варденовна (RU), Карчкова Лариса Владимировна (RU), Коломиец Валерий Васильевич (RU), Тришечкин Петр Федорович (RU), Тришечкин Сергей Петрович (RU)
(73) Патентообладатель(и):
Государственное образовательное учреждение высшего профессионального образования “Южно-Российский государственный технический университет (Новочеркасский политехнический институт)” (RU)
|
(54) УСТРОЙСТВО ДЛЯ ОБЕСПЕЧЕНИЯ ТЕРМОКОНТРАСТНОГО РЕЖИМА В ИНКУБАТОРЕ
(57) Реферат:
Изобретение относится к технике приборостроения, а именно к технике проектирования устройств для автоматического управления тепловыми режимами работы инкубаторов. Технический результат – повышение устойчивости поддержания параметров термоконтрастного режима инкубации. Для достижения данного результата дополнительно введен термонезависимый резистор, периодически подсоединяющийся параллельно штатному термопреобразователю терморегулятора инкубатора с помощью контакта реле таймера. Причем реле имеет слаботочный контакт, а нагреватель и охладитель инкубатора подключены к его терморегулятору постоянно. 2 ил. 
Изобретение относится к сельскому хозяйству, в частности, к устройствам для автоматического управления тепловыми режимами работы инкубаторов при инкубации яиц сельскохозяйственной птицы и других биологических объектов.
Известны различные устройства, предназначенные для поддержания в инкубаторе определенного теплового режима с допускаемым отклонением не более 0,1…0,2°С, например регулятор температуры РТИ-3, аналого-тиристорный регулятор ТЭЗП, цифровой микропроцессорный регулятор БМИ-Ф-15, регулятор МПР51-Щ4 и другие [1). Справочник по инкубации яиц. Ю.З. Буртов, Ю.Н. Владимирова, Ю.С. Голдин и др. Сост. Г.К. Отрыганьев. Под ред. Ю.Н. Владимировой, 2-е изд. перер. и доп. – М.: Колос, 1983. – 176 с.; 2). Каталог продукции ОВЕН. Контрольно-измерительные приборы и средства автоматизации. 2003. – С.71]. Они содержат в себе электронный терморегулятор, ко входу которого подсоединен штатный резистивный термопреобразователь, а к выходу – нагреватель и, часто, электромагнитный орган управления охладителем. Недостатком использования таких терморегуляторов в инкубационном процессе является стабильный режим температуры, часто не обеспечивающий высокой выводимости яиц. Более эффективным является термоконтрастный режим.
Во-первых, простое отключение нагревателя не дает возможности автоматически регулировать и управлять «глубиной» охлаждения воздуха в инкубаторе, поскольку нижний уровень температуры в шкафу зависит от:
– температуры воздуха, окружающего инкубационный шкаф, которая может значительно изменяться в зависимости от времени суток и года;
– степени открытия вентиляционных заслонок;
– стадии процесса инкубации;
– настройки таймера, т.е. продолжительности периода нагрева и охлаждения, которые устанавливаются произвольно.
Во-вторых, монтируя прерыватель, приходится внедряться в структуру силовых электрических цепей, связывающих терморегулятор с нагревателем и охладителем. Как следствие этого, реле таких устройств должны иметь сильноточные контакты.
Предлагаемое изобретение направлено на повышение устойчивости поддержания параметров термоконтрастного режима инкубации, упрощение устройства-прототипа и его монтажа.
Поставленная цель достигается тем, что в устройство для обеспечения термоконтрастного режима в инкубаторе дополнительно введен термонезависимый резистор, который через контакт реле таймера периодически подключается параллельно штатному термопреобразователю инкубатора. Таким образом достигается участие терморегулятора инкубатора в формировании как верхнего, так и нижнего уровней температуры, которые определяются только настройкой терморегулятора и сопротивлением дополнительного термонезависимого резистора и не зависят от изменения внешних факторов. Упрощение устройства достигается за счет использования слаботочного реле, а облегчение его монтажа – за счет того, что отпадает необходимость в перемонтаже сильноточных цепей соединения терморегулятора с нагревателем и охладителем инкубатора.
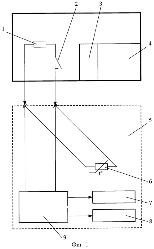
Сущность предлагаемого изобретения поясняется фиг.1, на которой изображена структурная схема устройства для обеспечения термоконтрастного режима, подключенного к терморегулятору инкубатора. Устройство содержит термонезависимый резистор 1, соединенный с контактом 2 реле 3 таймера 4. Термонезависимый резистор 1 в определенные периоды времени подсоединяется параллельно штатному термопреобразователю 6 терморегулятора 9 с нагревателем 7 и охладителем 8 инкубатора 5.
Принцип действия устройства графически поясняется фиг.2, где в координатах RТП В и t (время) изображена взаимосвязь состояния контакта 2, сопротивления термонезависимого резистора 1 (RД) и штатного термопреобразователя 6 (RТП), настройки RТР терморегулятора 9 с температурой В воздуха в инкубационном шкафу 5. Предлагаемое устройство построено по принципу периодической подачи на вход терморегулятора 9 «ложной» информации, т.е. «обмана» терморегулятора 9 его «эквивалентным» термопреобразователем со статической характеристикой «bc», который реализуется циклическим включением термонезависимого резистора 1 параллельно штатному термопреобразователю 6, что приводит к периодическому искажению статической характеристики «ad» штатного термопреобразователя 6.
Рассмотрим работу устройства. Пусть при разомкнутом контакте 2 терморегулятор 9 настроен на сопротивление штатного термопреобразователя 6, равное RТР, что согласно входной статической характеристике терморегулятора (прямая «ad») соответствует точке “а” и температуре В.МИН. В момент t=0 срабатывает таймер 4, контакт 2 замыкается и параллельно сопротивлению штатного термопреобразователя 6 (RТП) включается сопротивление добавочного термонезависимого резистора 1 (RД), подобранное таким образом, чтобы суммарное сопротивление «эквивалентного» термопреобразователя (RТП параллельно RД) ушло в точку “b”, лежащую на новой, “ложной” статической характеристике – прямой, проходящей через точки “b” и “с”, уже иной, чем входная характеристика терморегулятора 9. Последний начинает изменять (увеличивать) температуру В в инкубационном шкафу 5 до тех пор, пока суммарное сопротивление параллельно соединенных RТП и RД (за счет увеличения сопротивления RТП) не достигнет точки “с”. Однако точка “с” соответствует настройке терморегулятора 9, равной RТР. Дальнейший рост температуры В в шкафу 5 прекращается и затем она поддерживается на уровне В.МАКС до тех пор, пока вновь не сработает таймер 4 и в момент t1 разомкнет контакт 2. Размыкание контакта 2, в свою очередь, отключает RД от RТП и ко входу терморегулятора 9 оказывается подключенным только штатный термопреобразователь 6. Такое состояние входных цепей соответствует точке “d”, которая расположена на статической характеристике выше настройки терморегулятора 9 (точка “а”). Включается охладитель 8 и начинается охлаждение воздуха в шкафу инкубатора 5 до температуры В.МИН, при этом происходит снижение сопротивления термопреобразователя 6, что отражено на фиг.2 перемещением RТП по статической характеристике от точки “d” к первоначальной настройке – точке “а”. Приняв температуру В.МИН, штатный термопреобразователь 6 посредством терморегулятора 9 поддерживает ее на указанном уровне до тех пор, пока в момент t2 не сработает таймер 4 и вновь не замкнется контакт 2. Таким образом сопротивление на входе терморегулятора 9 в процессе цикла инкубации изменяется в направлении стрелок по контуру “abcd”, где “а” – точка первоначальной настройки терморегулятора 9 и происходит цикл “нагрев – охлаждение” с заранее заданными пределами нижнего ( В.МИН) и верхнего ( В.МАКС) уровней температуры.
Следует отметить, что предлагаемое устройство может быть использовано для создания термоконтрастного режима не только в инкубаторах, но и на других объектах регулирования температуры, например, при искусственном старении элементов и деталей средств измерений.
Предлагаемое устройство было изготовлено в ЮРГТУ (НПИ) и испытано на Шахтинской инкубаторно-птицеводческой станции в инкубаторе типа “ИУП-Ф-45-21”. Следует отметить, что результаты проведенных экспериментальных исследований показали его работоспособность и эффективность.
Формула изобретения
Устройство для создания термоконтрастного режима в инкубаторе, включающее в себя таймер и реле с контактом, отличающееся тем, что оно дополнительно содержит термонезависимый резистор, периодически подсоединяющийся параллельно штатному термопреобразователю терморегулятора инкубатора с помощью контакта реле таймера, причем реле имеет слаботочный контакт, а нагреватель и охладитель инкубатора подключены к его терморегулятору постоянно.
РИСУНКИ
MM4A – Досрочное прекращение действия патента СССР или патента Российской Федерации на изобретение из-за неуплаты в установленный срок пошлины за поддержание патента в силе
Дата прекращения действия патента: 25.02.2006
Извещение опубликовано: 27.04.2007 БИ: 12/2007
|
|