|
|
(21), (22) Заявка: 2004110772/28, 12.04.2004
(24) Дата начала отсчета срока действия патента:
12.04.2004
(43) Дата публикации заявки: 20.09.2005
(45) Опубликовано: 20.02.2006
(56) Список документов, цитированных в отчете о поиске:
SU 1758546 A1, 30.08.1992. RU 2211456 С1, 27.08.2003. SU 905771 A, 15.02.1982. RU 2031404 С1, 20.03.1995. SU 991285 A, 23.01.1983. GB 1321413 A, 27.06.1973. WO 03067247 A1, 14.08.2003. US 6009756 A, 04.01.2000.
Адрес для переписки:
162611, Вологодская обл., г. Череповец, ул. Бардина, 15, ООО “Компания Нординкрафт”, Л.Г. Делюсто
|
(72) Автор(ы):
Кувшинников Олег Александрович (RU), Кириков Андрей Васильевич (RU), Забродин Александр Николаевич (RU)
(73) Патентообладатель(и):
ООО “Компания “Нординкрафт” (RU)
|
(54) ЭЛЕКТРОМАГНИТНО-АКУСТИЧЕСКИЙ ПРЕОБРАЗОВАТЕЛЬ
(57) Реферат:
Использование: для ультразвуковых неразрушающих испытаний материалов. Сущность: заключается в том, что электромагнитно-акустический преобразователь снабжен, по меньшей мере, одним усилителем электрических сигналов, возникающих в катушках индуктивности при их взаимодействии с вторичными электромагнитными волнами, образующимися в результате ультразвуковых колебаний слоев металла в постоянном магнитном поле под воздействием зондирующих электромагнитных импульсов высокой частоты. Вместе с тем усилитель электрических сигналов, имеющий с катушками индуктивности электрическую связь, может быть выполнен, например, в виде микросхемы на кристаллах, при этом в усилителе от части магнитного потока, представляющего собой поток рассеяния, пересекающий усилитель, индуцируется ток, складывающийся по величине и направлению с током, который возникает в катушках индуктивности. Технический результат: повышение чувствительности преобразователя. 3 ил. 
Предлагаемый ЭМАП относится к области ультразвуковых неразрушающих испытаний материалов и изделий и может быть использован, в частности, для контроля качества листов и полос.
Известен ЭМАП, содержащий источник магнитного поля (электромагнит), высокочастотную катушку индуктивности [1]. В известном ЭМАП повышение его чувствительности достигается за счет того, что он снабжен двумя электропроводящими пластинами, расположенными в плоскости катушки индуктивности с двух сторон от нее на прямой, пересекающей катушку параллельно одной из ее осей.
Недостатком известного устройства является использование для подмагничивания электромагнита С-образной формы, сложность конструкции, большие затраты энергии, наличие значительных потоков рассеяния, невозможность надежного контроля по ширине зоны контролируемого объекта.
Известен электродинамический преобразователь [2], состоящий из магнитной цепи с кольцевым зазором, образуемым ее полюсами, в котором размещена силовая катушка с возможностью перемещения под действием протекающего по ней переменного тока, а поверхность полюсов покрыта материалом с высокой теплопроводностью.
Недостатком известного ЭМАП являются большие габариты магнитной системы и обмотки силовой катушки, что не позволяет снизить расход мощности без снижения надежности и долговечности преобразователя.
Известен ЭМАП [3], который, с целью упрощения конструкции, уменьшения габаритов, повышения надежности контроля, снабжен магнитопроводом с вертикальными каналами, внутри которых размещены концентраторы магнитного потока, а катушки индуктивности установлены в пазах, выполненных в основании преобразователя.
К недостатку известного ЭМАП следует отнести недостаточную чувствительность полезного сигнала по отношению к внешним помехам.
Известен преобразователь, принятый нами за прототип, который содержит обмотку, магнитопровод, генератор зондирующих импульсов, высокочастотную катушку, в которой прохождение наведенных токов в составных частях катушки происходит в фазе, в результате чего суммарный электрический сигнал поступает далее на вход усилителя.
Недостаток известного преобразователя заключается в невозможности использования при этом энергии части магнитного потока, а именно потока рассеяния, не пересекающего витки катушки [4].
Цель изобретения – повышение чувствительности преобразователя.
Для этого предлагаемый преобразователь, содержащий магнитопровод, основание, катушки индуктивности и источник постоянного поля, дополнительно снабжен по меньшей мере, одним усилителем электрических сигналов, возникающих в катушках индуктивности при их взаимодействии с вторичными электромагнитными волнами, образующимися в результате ультразвуковых колебаний слоев металла в постоянном магнитном поле под воздействием зондирующих электромагнитных импульсов высокой частоты, выполненный, например, в виде микросхемы на кристаллах и имеющий с катушками индуктивности электрическую связь, при этом в усилителе от части магнитного потока, представляющего собой поток рассеяния, пересекающий усилитель, индуцируется ток, складывающийся по величине и направлению с током, который возникает в катушках индуктивности.
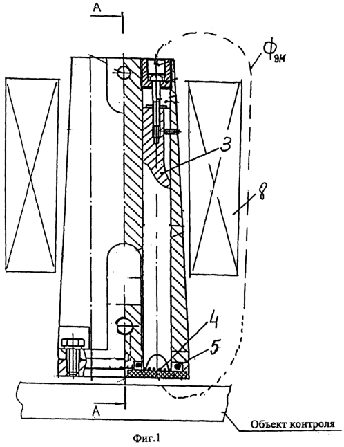
На фиг.1 показан поперечный разрез преобразователя, на фиг.2 показан продольный разрез преобразователя (сеч. А-А), на фиг.3 показана функциональная схема преобразователя совместно с усилителем. Принятые обозначения: Фм – вторичный магнитный поток, Фэм – зондирующий магнитный поток.
Преобразователь содержит магнитопровод 1, основание-подложку 2, концентраторы 3, катушки индуктивности 4, усилитель 5, приемник электрических сигналов 6, электрическую связь 7, электромагнитную катушку 8.
Преобразователь работает следующим образом.
Катушками индуктивности 4 излучаются первичные электромагнитные волны (зондирующие импульсы высокой частоты), вызывающие в объекте контроля ультразвуковые волны той же частоты, вызывающие в свою очередь, механические колебания частиц металла, которые приводят в постоянном магнитном поле Фэм к возникновению вторичных магнитных волн Фм, пересекающих катушки индуктивности. При этом часть магнитного потока Фмк пересекает катушки индуктивности, в которых возникает электрический ток Iмк, а другая часть магнитного потока, представляющая собой поток рассеяния Фму, пересекает усилитель, в котором индуцируется ток Iму, складывающийся по величине и направлению с током Iмк.
Таким образом, результирующий ток будет равен сумме токов Iмк+Iму и принимаемый сигнал будет за счет этого усилен, а преобразователь иметь большую чувствительность.
Источники информации
1. Авторское свидетельство СССР № 564595, кл. G 01 N 29/04. Бюл. № 25 от 05.07.77 г.
2. Патент РФ № 2131163, кл. H 01 R 9/00, В 06 В 1/04.
3. Заявка РФ № 2002120271 от 31.07.2002 г.
4. SU 1758546 A1.
Формула изобретения
Электромагнитно-акустический преобразователь, содержащий магнитопровод, основание, катушки индуктивности и источник постоянного магнитного поля, отличающийся тем, что он снабжен, по меньшей мере, одним усилителем электрических сигналов, возникающих в катушках индуктивности при их взаимодействии с вторичными электромагнитными волнами, образующимися в результате ультразвуковых колебаний слоев металла в постоянном магнитном поле под воздействием зондирующих электромагнитных импульсов высокой частоты, выполненный, например, в виде микросхемы на кристаллах и имеющий с катушками индуктивности электрическую связь, при этом в усилителе от части магнитного потока, представляющего собой поток рассеяния, пересекающий усилитель, индуцируется ток, складывающийся по величине и направлению с током, который возникает в катушках индуктивности.
РИСУНКИ
PC4A – Регистрация договора об уступке патента Российской Федерации на изобретение
(73) Патентообладатель(и):
Общество с ограниченной ответственностью «Компания «Нординкрафт»
(73) Патентообладатель:
Открытое акционерное общество «Нординкрафт»
Дата и номер государственной регистрации перехода исключительного права: 25.01.2007 № РД0017213
Извещение опубликовано: 20.03.2007 БИ: 08/2007
PC4A – Регистрация договора об уступке патента Российской Федерации на изобретение
(73) Патентообладатель(и):
Открытое акционерное общество “Нординкрафт”
(73) Патентообладатель:
Общество с ограниченной ответственностью “Нординкрафт Санкт-Петербург”
Дата и номер государственной регистрации перехода исключительного права: 28.08.2008 № РД0040247
Извещение опубликовано: 10.10.2008 БИ: 28/2008
QB4A Регистрация лицензионного договора на использование изобретения
Лицензиар(ы): Общество с ограниченной ответственностью “Нординкрафт Санкт-Петербург”
НИЛ
Лицензиат(ы): АВИВА АГ (CH)
Договор № РД0053504 зарегистрирован 10.08.2009
Извещение опубликовано: 20.09.2009 БИ: 26/2009
* ИЛ – исключительная лицензия НИЛ – неисключительная лицензия
|
|