|
|
(21), (22) Заявка: 2004110500/28, 08.04.2004
(24) Дата начала отсчета срока действия патента:
08.04.2004
(43) Дата публикации заявки: 20.09.2005
(45) Опубликовано: 20.02.2006
(56) Список документов, цитированных в отчете о поиске:
US 3418445 А, 24.12.1968. SU 369449 А, 08.02.1973.
Адрес для переписки:
140180, Московская обл., г. Жуковский, ул. Жуковского, 1, ФГУП “ЦАГИ”, отдел 80
|
(72) Автор(ы):
Куршин Анатолий Петрович (RU), Плотников Михаил Аркадьевич (RU)
(73) Патентообладатель(и):
Федеральное государственное унитарное предприятие “Центральный аэрогидродинамический институт им. проф. Н.Е. Жуковского” (ФГУП “ЦАГИ”) (RU)
|
(54) СПОСОБ ПОЛУЧЕНИЯ ГИПЕРЗВУКОВОГО ПОТОКА ДЛЯ АЭРОДИНАМИЧЕСКИХ ИСПЫТАНИЙ И УСТРОЙСТВО ДЛЯ ЕГО ОСУЩЕСТВЛЕНИЯ (ВАРИАНТЫ)
(57) Реферат:
Изобретения относятся к области экспериментальной аэродинамики и могут быть использованы при исследовании характеристик летательных аппаратов. Разогрев рабочего газа в замкнутом объеме производят с помощью кауперного подогревателя газа, после чего выталкивают его при постоянных параметрах торможения через аэродинамическое сопло. Рабочий газ поступает из малого цилиндра мультипликатора. Устройство содержит мультипликатор давления, кауперный подогреватель газа, пусковое устройство и аэродинамическое сопло. При этом кауперный подогреватель газа установлен между мультипликатором давления и пусковым устройством. В вариантах устройства оно может быть снабжено дросселем, установленным между кауперным подогревателем газа и пусковым устройством; клапаном и дросселем, последовательно установленным между мультипликатором давления и кауперным подогревателем газа; клапаном и двумя дросселями, причем клапан и один дроссель установлены между мультипликатором давления и кауперным подогревателем газа, а другой дроссель – между кауперным подогревателем и пусковым устройством. Технический результат заключается в увеличении более чем на порядок исходного запаса рабочего газа, увеличении продолжительности рабочего режима или диаметра рабочего потока, а также упрощении устройства и снижения загрязнения рабочего газа. 2 н. и 3 з.п. ф-лы, 4 ил. 
Изобретения относятся к области экспериментальной аэродинамики и могут быть использованы для получения гиперзвуковых потоков газа для аэродинамических исследований.
Наиболее близким из известных решений к заявленному способу является способ получения гиперзвукового потока газа, основанный на сжатии рабочего газа, разогрева его и выталкивании при постоянных параметрах торможения через аэродинамическое сопло.
Устройство для осуществления этого способа содержит нагреватель газа, мультипликатор давления, пусковое устройство и аэродинамическое сопло (см. патент США №3418445, кл.219-121).
Недостатком указанных решений является то, что из-за разогрева сжатого рабочего газа в малом цилиндре мультипликатора с помощью электроимпульсного разряда от источника высокого напряжения существует ограничение по допустимым размерам малого цилиндра, устройство усложнено за счет высоковольтной системы электроразряда и имеет место загрязнение газа вследствие эрозии электродов при разряде.
Задачей данных изобретений является увеличение исходного запаса рабочего газа в малом цилиндре мультипликатора давления, упрощение устройства, снижение загрязнения газа.
Технический результат, достигаемый при этом – либо увеличение диаметра гиперзвукового потока, а значит и числа Рейнольдса, либо увеличение продолжительности рабочего режима, а также снижение загрязнения потока.
Решение поставленной задачи и технический результат достигаются тем, что в способе получения гиперзвукового потока, основанном на сжатии рабочего газа, разогреве его и выталкивании при постоянных параметрах торможения через аэродинамическое сопло, рабочий газ, поступающий из малого цилиндра мультипликатора в аэродинамическое сопло, разогревают с помощью кауперного подогревателя.
Указанный результат достигается тем, что в устройстве для получения гиперзвукового потока для аэродинамических исследований, предназначенном для осуществления способа и содержащем мультипликатор давления, нагреватель газа, пусковое устройство и аэродинамическое сопло, нагреватель газа выполнен в виде кауперного подогревателя газа, установленного между мультипликатором давления и пусковым устройством.
Технический результат также может быть достигнут тем, что в варианте выполнения устройства для получения гиперзвукового потока нагреватель выполнен в виде кауперного подогревателя газа, установленного между мультипликатором давления и пусковым устройством, устройство снабжено дросселем, установленным между кауперным подогревателем газа и пусковым устройством.
Технический результат также может быть достигнут тем, что в варианте выполнения устройства для получения гиперзвукового потока нагреватель выполнен в виде подогревателя газа, установленного между мультипликатором давления и пусковым устройством, устройство снабжено клапаном и дросселем, установленными между мультипликатором давления и подогревателем газа.
Технический результат также может быть достигнут тем, что в варианте выполнения устройства для получения гиперзвукового потока нагреватель выполнен в виде кауперного подогревателя газа, установленного между мультипликатором давления и пусковым устройством, устройство снабжено клапаном и двумя дросселями, причем клапан и один дроссель установлены между мультипликатором давления и кауперным подогревателем газа, а другой дроссель между кауперным подогревателем и пусковым устройством.
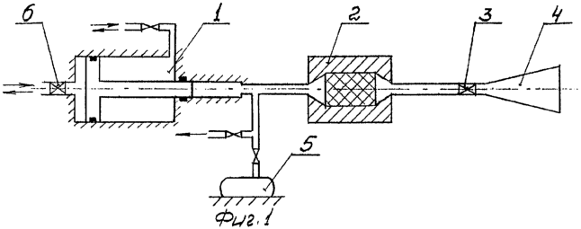
Схемы устройств для получения гиперзвукового потока газа по предлагаемому способу приведены на фиг.1-4.
Устройство для осуществления способа, приведенное на фиг.1, содержит мультипликатор давления 1, кауперный подогреватель газа 2, пусковое устройство 3, аэродинамическое сопло 4, компрессор 5 для закачки рабочего газа в малый цилиндр мультипликатора и подогреватель, клапан 6, через который подается толкающий газ в большой цилиндр мультипликатора.
Устройство для осуществления способа, приведенное на фиг.2, содержит те же элементы, которые показаны на фиг.1, и, кроме того, снабжено дросселем 7, установленным между кауперным подогревателем газа 2 и пусковым устройством 3.
Устройство для осуществления способа, приведенное на фиг.3, содержит те же элементы, которые показаны на фиг.1, и, кроме того, снабжено клапаном 8 и дросселем 7, которые последовательно установлены между мультипликатором давления и подогревателем газа.
Устройство для осуществления способа, приведенное на фиг.4, содержит те же элементы, которые показаны на фиг.1, и, кроме того, снабжено клапаном 8 и двумя дросселями, причем клапан 8 и дроссель 9 установлены между мультипликатором давления 1 и подогревателем газа 2, а другой дроссель 7 между подогревателем 2 и пусковым устройством 3.
Устройство, приведенное на фиг.1, работает следующим образом.
Поршни мультипликатора давления 1 отводят в крайнее левое положение и перекрывают пусковым устройством 3 выход газа в сопло 4. С помощью компрессора 5 закачивают рабочий газ в малый цилиндр мультипликатора и подогреватель газа до требуемого давления рН, включают электропитание кауперного подогревателя и разогревают теплоаккумулирующую насадку подогревателя до температуры торможения потока Т0. При этом давление рабочего газа в подогревателе и в малом цилиндре подогревателя поднимается до давления торможения потока р0. Подают требуемое давление толкающего газа, открыв клапан 6, под поршень большого цилиндра мультипликатора.
Для пуска установки открывают пусковое устройство 3 и рабочий газ поршнями мультипликатора выталкивается из малого цилиндра мультипликатора через сопло 4 при постоянных параметрах торможения р0, Т0.
Устройство, приведенное на фиг.2, работает следующим образом.
Поршни мультипликатора давления 1 отводят в крайнее левое положение и перекрывают пусковым устройством 3 выход газа в сопло 4. С помощью компрессора 5 закачивают рабочий газ в малый цилиндр мультипликатора и подогреватель газа до требуемого давления рН, включают электропитание кауперного подогревателя и разогревают теплоаккумулирующую насадку подогревателя до температуры ТН, которая меньше температуры торможения потока. При этом давление рабочего газа в подогревателе и в малом цилиндре мультипликатора возрастает до значения рН, которое превышает значение давления торможения р0. Подают требуемое давление толкающего газа, открыв клапан 6, под поршень большого цилиндра мультипликатора.
Для пуска установки открывают пусковое устройство 3 и рабочий газ поршнями мультипликатора выталкивается из малого цилиндра мультипликатора через подогреватель 2, дроссель 7 и сопло 4 при постоянных параметрах. При этом в ходе движения газа через дроссель 7 его давление уменьшается до давления торможения р0, а температура в соответствии с эффектом Джоуля-Томсона повышается до температуры торможения Т0.
Устройство, приведенное на фиг.3, работает следующим образом.
Поршни мультипликатора давления 1 отводят в крайнее левое положение и перекрывают пусковым устройством 3 выход газа в сопло 4. С помощью компрессора 5 закачивают рабочий газ в малый цилиндр мультипликатора и подогреватель газа 2 до требуемого давления, закрывают клапан 8 и продолжают закачивать газ в малый цилиндр мультипликатора до максимально допустимого для мультипликатора давления рм. Включают электропитание кауперного подогревателя и разогревают теплоаккумулирующую насадку подогревателя до температуры торможения потока Т0. При этом давление в подогревателе повышается до определенной величины. Подают требуемое давление толкающего газа, открыв клапан 6, под поршень большого цилиндра мультипликатора.
Для пуска установки открывают клапан 8, пусковое устройство 3 и рабочий газ поршнями мультипликатора выталкивается из малого цилиндра мультипликатора через дроссель 7 и подогреватель газа 2 в аэродинамическое сопло 4 при постоянных параметрах торможения р0, Т0.
Устройство, приведенное на фиг.4, работает следующим образом.
Поршни мультипликатора давления 1 отводят в крайнее левое положение и перекрывают пусковым устройством 3 выход газа в сопло 4. С помощью компрессора 5 закачивают рабочий газ в малый цилиндр мультипликатора и подогреватель газа 2 до требуемого давления, закрывают клапан 8 и продолжают закачивать газ в малый цилиндр мультипликатора до максимально допустимого для мультипликатора давления рм. Включают электропитание кауперного подогревателя и разогревают теплоаккумулирующую насадку подогревателя до требуемой температуры ТН. При этом давление в подогревателе поднимается до определенной величины. Подают требуемое давление толкающего газа, открыв клапан 6, под поршень большого цилиндра мультипликатора.
Для пуска установки открывают клапан 8, пусковое устройство 3 и рабочий газ поршнями мультипликатора выталкивается из малого цилиндра мультипликатора через дроссель 9, подогреватель 2 и дроссель 7 в сопло 4 при постоянных параметрах торможения р0, Т0. При этом у рабочего газа при прохождении через дроссель 9 понижается давление и повышается температура, при прохождении через подогреватель 2 повышается температура до температуры ТН термоаккумулирующей насадки, при прохождении через дроссель 7 понижается давление до давления торможения р0 и повышается температура до температуры торможения Т0.
Использование изобретений освобождает от необходимости использовать высоковольтную систему электроразряда, позволяет освободиться от недостатков, которые сопутствуют это использование и, в итоге, позволяют существенно (в разы) увеличить исходное количество рабочего газа в малом цилиндре мультипликатора и, следовательно, увеличить продолжительность рабочего режима или диаметр рабочего потока. При этом уплощается конструкция устройства и снижается загрязнение рабочего газа.
Формула изобретения
1. Способ получения гиперзвукового потока для аэродинамических исследований, основанный на сжатии рабочего газа, разогреве его и выталкивании при постоянных параметрах торможения через аэродинамическое сопло, отличающийся тем, что рабочий газ, поступающий из малого цилиндра мультипликатора в аэродинамическое сопло, разогревают с помощью кауперного подогревателя газа.
2. Устройство для получения гиперзвукового потока для аэродинамических исследований, содержащее мультипликатор давления, нагреватель газа, пусковое устройство и аэродинамическое сопло, отличающееся тем, что нагреватель газа выполнен в виде кауперного подогревателя газа, установленного между мультипликатором давления и пусковым устройством.
3. Устройство для получения гиперзвукового потока для аэродинамических исследований по п.2, отличающееся тем, что снабжено дросселем, установленным между кауперным подогревателем газа и пусковым устройством.
4. Устройство для получения гиперзвукового потока для аэродинамических исследований по п.2, отличающееся тем, что оно снабжено клапаном и дросселем, которые последовательно установлены между мультипликатором давления и кауперным подогревателем газа.
5. Устройство для получения гиперзвукового потока для аэродинамических исследований по п.2, отличающееся тем, что оно снабжено клапаном и двумя дросселями, причем клапан и один дроссель установлены между мультипликатором давления и кауперным подогревателем газа, а другой дроссель – между кауперным подогревателем и пусковым устройством.
РИСУНКИ
|
|