|
|
(21), (22) Заявка: 2004110499/28, 08.04.2004
(24) Дата начала отсчета срока действия патента:
08.04.2004
(43) Дата публикации заявки: 20.09.2005
(45) Опубликовано: 20.02.2006
(56) Список документов, цитированных в отчете о поиске:
US 3418445 А, 24.12.1968. SU 369449 А, 08.02.1973. Н.Ф.Краснов и др. Прикладная аэродинамика. Под. Ред. Краснова Н.Ф. Учеб. пособие для втузов. – М.: Высшая школа, 1974, с. 31-36. SU 359565 А, 21.11.1972.
Адрес для переписки:
140180, Московская обл., г. Жуковский, ул. Жуковского, 1, ФГУП “ЦАГИ”, отдел 80
|
(72) Автор(ы):
Куршин Анатолий Петрович (RU), Плотников Михаил Аркадьевич (RU)
(73) Патентообладатель(и):
Федеральное государственное унитарное предприятие “Центральный аэрогидродинамический институт им. проф. Н.Е. Жуковского” (ФГУП “ЦАГИ”) (RU)
|
(54) СПОСОБ ПОЛУЧЕНИЯ ГИПЕРЗВУКОВОГО ПОТОКА ДЛЯ АЭРОДИНАМИЧЕСКИХ ИСПЫТАНИЙ И УСТРОЙСТВО ДЛЯ ЕГО ОСУЩЕСТВЛЕНИЯ (ВАРИАНТЫ)
(57) Реферат:
Изобретения относятся к области экспериментальной аэродинамики и могут быть использованы при исследовании характеристик летательных аппаратов. Разогрев рабочего газа в замкнутом объеме производят с помощью резистивного нагревателя, после чего выталкивают его при постоянных параметрах торможения через аэродинамическое сопло. Устройство содержит мультипликатор давления с нагревателем в малом цилиндре, пусковое устройство и аэродинамическое сопло. В малом цилиндре мультипликатора размещены элементы тепловой защиты деталей мультипликатора. Нагреватель выполнен в виде резистивного элемента. В вариантах устройства между мультипликатором давления и пусковым устройством установлен дроссель. Технический результат заключается в увеличении более чем на порядок исходного запаса рабочего газа, увеличении продолжительности рабочего режима или диаметра рабочего потока, а также упрощении устройства и снижении загрязнения рабочего газа. 2 н. и 1 з.п. ф-лы, 2 ил. 
Изобретение относится к области экспериментальной аэродинамики и может быть использовано для получения гиперзвуковых потоков газа для аэродинамических исследований.
Наиболее близким из известных решений к заявленному способу является способ получения гиперзвукового потока газа, основанный на разогреве сжатого рабочего газа в замкнутом объеме и выталкивании его при постоянных параметрах торможения через аэродинамическое сопло.
Устройство для осуществления этого способа содержит мультипликатор давления, подогреватель газа, перекрывающее устройство и аэродинамическое сопло (см. Патент США №3418445, кл.219-121).
Недостатком указанных решений является то, что из-за разогрева сжатого рабочего газа в малом цилиндре мультипликатора с помощью электроискрового разряда от источника высокого напряжения существует ограничение по допустимым размерам малого цилиндра, устройство усложнено за счет высоковольтной системы электроразряда и имеет место загрязнение газа вследствие эрозии электродов при разряде.
Задачей данных изобретений является увеличение исходного запаса рабочего газа в малом цилиндре мультипликатора давления, упрощение устройства, снижение загрязнения газа.
Технический результат, достигаемый при этом, – либо увеличение диаметра гиперзвукового потока, а значит, и числа Рейнольдса, либо увеличение продолжительности рабочего режима, а также снижение загрязнения потока.
Решение поставленной задачи и технический результат достигаются тем, что в способе получения гиперзвукового потока, основанном на разогреве сжатого рабочего газа в замкнутом объеме и выталкивании его при постоянных параметрах торможения через аэродинамическое сопло, разогрев рабочего газа в замкнутом объеме производят с помощью резистивного нагревателя.
Указанный результат достигается тем, что в устройстве для получения гиперзвукового потока для аэродинамических исследований, предназначенном для осуществления способа и содержащем мультипликатор давления с нагревателем в малом цилиндре, пусковое устройство и аэродинамическое сопло, в малом цилиндре мультипликатора размещены элементы тепловой защиты деталей мультипликатора, а нагреватель выполнен в виде резистивного элемента.
Технический результат также может быть достигнут тем, что в варианте выполнения устройства для получения гиперзвукового потока, содержащем мультипликатор давления с нагревателем в малом цилиндре, пусковое устройство и сопло, в малом цилиндре мультипликатора давления размещены элементы тепловой защиты деталей мультипликатора, нагреватель выполнен в виде резистивного элемента, а между мультипликатором давления и пусковым устройством установлен дроссель.
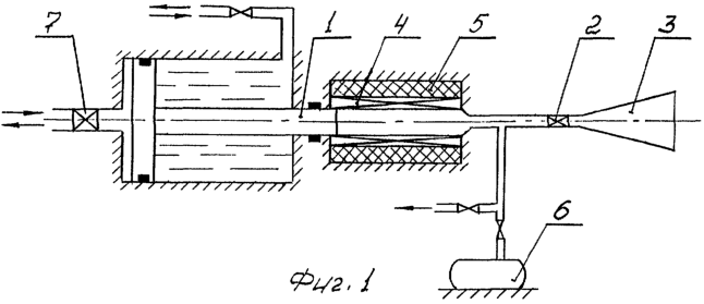
Схемы устройств для получения гиперзвукового потока газа по предлагаемому способу приведены на фиг.1, 2.
Устройство для осуществления способа, приведенное на фиг.1, содержит мультипликатор давления 1, пусковое устройство 2 и аэродинамическое сопло 3. В малом цилиндре мультипликатора размещены резистивныи нагревательный элемент 4 и элементы тепловой защиты 5 деталей мультипликатора. Устройство снабжено компрессором 6 для закачки рабочего газа в малый цилиндр мультипликатора и клапаном 7, через который подается толкающий газ в большой цилиндр мультипликатора.
Устройство для осуществления способа, приведенное на фиг.2, содержит мультипликатор давления 1, пусковое устройство 2 и аэродинамическое сопло 3. В малом цилиндре мультипликатора размещены резистивныи нагревательный элемент 4 и элементы тепловой защиты 5 деталей мультипликатора. Устройство снабжено компрессором 6 для закачки рабочего газа в малый цилиндр мультипликатора и клапаном 7, через который подается толкающий газ в большой цилиндр мультипликатора. Устройство оборудовано дросселем 8, установленным между мультипликатором давления и пусковым устройством.
Устройство, приведенное на фиг.1, работает следующим образом.
Поршни мультипликатора давления 1 отводят в крайнее левое положение и перекрывают пусковым устройством 2 выход газа в сопло. С помощью компрессора 6 закачивают рабочий газ в малый цилиндр мультипликатора до требуемого давления рH, включают электропитание нагревательного элемента 4 и разогревают газ до требуемой температуры торможения Т0. При этом давление рабочего газа в малом цилиндре мультипликатора поднимается до давления торможения р0. Подают требуемое давление толкающего газа, открыв клапан 7, под поршень большого цилиндра мультипликатора.
Для пуска установки открывают пусковое устройство 2 и рабочий газ поршнями мультипликатора выталкивается из малого цилиндра мультипликатора через сопло 3 при постоянных параметрах торможения р0, Т0.
Устройство, приведенное на фиг.2, работает следующим образом.
Поршни мультипликатора давления 1 отводят в крайнее левое положение и пусковым устройством 2 перекрывают выход газа в сопло. С помощью компрессора 6 закачивают рабочий газ в малый цилиндр мультипликатора до требуемого давления, включают электропитание нагревательного элемента 4 и разогревают газ до требуемой температуры. При этом давление рабочего газа в малом цилиндре мультипликатора поднимается до определенной величины, которая превышает давление торможения. Подают требуемое давление толкающего газа, открыв клапан 7, под поршень большого цилиндра мультипликатора.
Для пуска установки открывают пусковое устройство 2 и рабочий газ поршнями мультипликатора выталкивается из малого цилиндра мультипликатора через дроссель 8 и сопло при постоянных параметрах в малом цилиндре мультипликатора. При этом в ходе движения газа через дроссель его давление уменьшается до давления торможения ро, а его температура в соответствии с эффектом Джоуля-Томсона повышается до температуры торможения Т0.
Использование изобретений освобождает от необходимости использовать высоковольтную систему электроразряда, позволяет освободиться от недостатков, которые сопутствуют это использование и, в итоге, позволяет существенно (в разы) увеличить исходное количество рабочего газа в малом цилиндре мультипликатора и, следовательно, увеличить продолжительность рабочего режима или диаметр рабочего потока по сравнению с прототипом. При этом упрощается конструкция устройства и снижается загрязнение рабочего газа.
Формула изобретения
1. Способ получения гиперзвукового потока для аэродинамических исследований, основанный на разогреве рабочего газа в замкнутом объеме и выталкивании его при постоянных параметрах торможения через аэродинамическое сопло, отличающийся тем, что разогрев сжатого рабочего газа в замкнутом объеме производят с помощью резистивного нагревателя.
2. Устройство для получения гиперзвукового потока для аэродинамических исследований, содержащее мультипликатор давления с нагревателем в малом цилиндре, пусковое устройство и аэродинамическое сопло, отличающееся тем, что в малом цилиндре мультипликатора размещены элементы тепловой защиты деталей мультипликатора, а нагреватель выполнен в виде резистивного элемента.
3. Устройство для получения гиперзвукового потока для аэродинамических исследований по п.2, отличающееся тем, что между мультипликатором давления и пусковым устройством установлен дроссель.
РИСУНКИ
|
|