|
|
(21), (22) Заявка: 2004124974/28, 16.08.2004
(24) Дата начала отсчета срока действия патента:
16.08.2004
(45) Опубликовано: 20.02.2006
(56) Список документов, цитированных в отчете о поиске:
RU 92004980 A, 09.07.1995. RU 2231762 С2, 27.06.2004. SU 1812463 A1, 30.04.1993. US 5385053 А, 31.01.1995. US 5386729 А, 07.02.1995. JP 8122189 17.05.1996.
Адрес для переписки:
199106, Санкт-Петербург, В.О., 21-я линия, 2, СПГГИ (ТУ), патентный отдел
|
(72) Автор(ы):
Толстунов Сергей Андреевич (RU), Мозер Сергей Петрович (RU)
(73) Патентообладатель(и):
Государственное образовательное учреждение высшего профессионального образования Санкт-Петербургский государственный горный институт им. Г.В. Плеханова (технический университет) (RU)
|
(54) ВОЛОКОННО-ОПТИЧЕСКИЙ ДАТЧИК ДАВЛЕНИЯ
(57) Реферат:
Изобретение относится к волоконно-оптическим измерительным преобразователям давления. Датчик содержит чувствительный элемент, источник света, световоды, регистрирующую аппаратуру. Датчик снабжен направляющей линзой, анализатором, приемной линзой. Чувствительный элемент снабжен пластиной из оптически активного материала с отверстием. Отверстие расположено в центре симметрии пластины. Пластина соединена с мембраной через жесткие прокладку и шар. Шар размещен на оси симметрии пластины. Ограничитель перемещения чувствительного элемента в вертикальной плоскости установлен параллельно мембране в пазу корпуса. В качестве источника света используют источник поляризованного света. Технический результат – упрощение конструкции устройства, повышение точности измерений. 2 з.п. ф-лы, 2 ил. 
Изобретение относится к измерительной технике, в частности к волоконно-оптическим измерительным преобразователям давления, и может быть использовано при измерении давлений в условиях взрывоопасной окружающей среды.
Известен оптоэлектронный датчик давления (патент РФ 2231762, G 01 L 11/00, 03.01.2002). Устройство содержит подвижную мембрану, источник излучения, модулируемый генератором переменного тока, синхронный детектор, первый и второй фотоприемники, по ходу луча установлены телескопическая оптическая система, делитель пучка, трапецеидальная призма, грань которой отделена от подвижной мембраны зазором, толщина которого d2 выбрана из условия: где 0 – длина волны излучения (м); n1 – показатель преломления трапецеидальной призмы; р – угол падения излучения на грань призмы (рад), при этом делитель пучка направляет световой поток от источника излучения на первый фотоприемник и трапецеидальную призму, а от призмы – на второй фотоприемник, а выходы фотоприемников подключены к синхронному детектору. Телескопическая система формирует оптический пучок с малой угловой расходимостью, форма трапецеидальной призмы обеспечивает определенный угол падения излучения на зазор и возвращение его на делитель пучка, а подвижная мембрана совместно с призмой образуют высокодобротную резонансную многослойную оптическую структуру. Недостатком данного устройства является его сложность конструкции, а также низкая точность измерений.
Известен волоконно-оптический датчик давления, принятый за прототип (заявка на изобретение РФ 92004980, G 01 L 11/00, 10.11.1992). Устройство содержит корпус, мембрану с жестким центром и утолщенной периферийной частью и два волоконно-оптических преобразователя, выполненных в виде световодов с источником света и фотоприемниками, в которых концы световодов закреплены в плате, а торец одного из них установлен напротив жесткого центра мембраны, торец другого – напротив утолщенной периферийной части мембраны в кольцевой периферийной части мембраны в области, противолежащей торцу световода компенсационного канала, выполнен направленный к жесткому центру дополнительный выступ, отражающая поверхность которого расположена в одной плоскости с отражающими поверхностями жесткого центра и периферийной части, а толщина дополнительного выступа выполнена уменьшающейся в направлении жесткого центра. Светозащитная перегородка выполнена как одно целое с прокладкой, имеющей конфигурацию, аналогичную конфигурации периферийной части мембраны с дополнительным выступом и задающую расстояние между отражающими поверхностями мембраны и торцами световодов, в которой выполнено отверстие компенсационного волоконно-оптического канала. Для повышения технологичности присоединения компенсационного элемента к мембране кольцевая периферийная часть изготовлена из материала с ТКЛР, отличным от ТКЛР материала мембраны, и присоединяется сваркой к боковой поверхности мембраны. Недостатком данного устройства является сложность его конструкции и низкая точность измерений.
Техническим результатом изобретения является упрощение конструкции устройства, а также повышение точности измерений.
Технический результат достигается тем, что волоконно-оптический датчик давления содержит чувствительный элемент в виде упругой мембраны, закрепленной в корпусе, источник света, связанный с направляющим световодом, и регистрирующую аппаратуру, связанную с приемным световодом, согласно изобретению он снабжен направляющей линзой, анализатором и приемной линзой, расположенными по ходу световых лучей от источника света, а чувствительный элемент снабжен установленной между направляющей линзой и анализатором пластиной из оптически активного материала с отверстием, расположенным в центре симметрии пластины, соединенной с мембраной через жесткие прокладку и шар, размещенный на оси симметрии пластины, и ограничителем перемещения чувствительного элемента в вертикальной плоскости, установленным параллельно мембране в пазу корпуса, причем диаметр отверстия пластины d=0,5t, где t -толщина пластины, а направляющую линзу, связанную с направляющим световодом, анализатор и приемную линзу, связанную с приемным световодом, располагают на оси, удаленной от центра пластины по вертикали на расстоянии h/4, где h – высота пластины, при этом в качестве источника света используют источник поляризованного света.
Волоконно-оптический датчик давления характеризуется также тем, что в качестве оптически активного материала используют турмалин.
Волоконно-оптический датчик давления характеризуется также тем, что в качестве оптически активного материала используют фенолформальдегидные смолы.
Применение предлагаемого устройства по сравнению с прототипом позволяет упростить конструкцию устройства, а также повысить точность измерений.
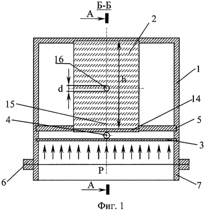
Волоконно-оптический датчик давления поясняется чертежами, где на фиг.1 изображен поперечный разрез устройства, разрез Б-Б, на фиг.2 изображено устройство, разрез А-А.
На чертежах представлены:
1 – корпус;
2 – пластина из оптически активного материала (например, из турмалина или фенолформальдегидных смол);
3 – упругая мембрана, например, из стали, установленная в пазу корпуса 1 и герметизирующая рабочее пространство корпуса;
4 – жесткий шар (например, из углеродистой стали), закрепленный на прокладке 14;
5 – ограничитель перемещения мембраны;
6 – фланец;
7 – патрубок для подвода давления рабочей среды;
8 – источник поляризованного света (например, лазер);
9 – направляющий световод;
10 – направляющая линза;
11 – анализатор;
12 – приемная линза;
13 – регистрирующая аппаратура;
14 – жесткая прокладка (например, из углеродистой стали);
15 – ось симметрии пластины из оптически активного материала;
16 – отверстие, расположенное в центре симметрии пластины;
17 – приемный световод;
Р – давление рабочей среды;
d – диаметр отверстия, расположенного в центре симметрии пластины;
t – толщина пластины из оптически активного материала;
h – высота пластины из оптически активного материала.
Волоконно-оптический датчик давления содержит корпус 1, в пазу которого размещают чувствительный элемент в виде упругой мембраны 3, связанной с пластиной 2 из оптически активного материала через жесткие прокладку 14 и шар 4. Мембрана 3, являясь чувствительным элементом, герметизирует рабочее пространство корпуса 1. В центре пластины расположено отверстие 16 диаметром d=0,5t, где t – толщина пластины 2. Отверстие 16 необходимо для получения четкой границы между цветами света, обусловленной возникающими при нагрузке пластины 2 касательными напряжениями. Размеры отверстия 16 обоснованы в соответствии с наиболее рациональным использованием светового потока. Жесткую прокладку 14 закрепляют в нижней части пластины 2, например приклеивают. Мембрану 3 располагают в пазу корпуса 1. Между жесткой прокладкой 14 и упругой мембраной 3 на оси симметрии 15 пластины 2 закрепляют жесткий шар 4. Для предотвращения разрушения мембраны 3 в корпусе 1 закрепляют ограничитель 5 перемещения чувствительного элемента в вертикальной плоскости, расположенный параллельно мембране 3 в пазу корпуса 1, с зазором, определяемым сохранением целостности мембраны 3 в рабочей и аварийной области давлений, а также отсутствием избыточных нагрузок на пластину 2. Также в корпусе размещают направляющую линзу 10, которую соединяют с источником поляризованного света 8 с помощью направляющего световода 9. Пластину 2 из оптически активного материала размещают между направляющей линзой 10 и анализатором 11. Анализатор 11 соединяют через приемную линзу 12 и приемный световод 17 с регистрирующей аппаратурой 13. Направляющую линзу 10, анализатор 11 и приемную линзу 12 располагают на оси, удаленной от центра пластины 2 по вертикали на расстоянии h/4. С помощью фланца 6, размещенного на корпусе 1, к нему закрепляют патрубок 7 для подвода давления рабочей среды Р. В качестве оптически активных материалов используют турмалин или фенолформальдегидные смолы, обладающие низкой чувствительностью к перепадам температуры.
Волоконно-оптический датчик давления работает следующим образом, например, при оснащении им трубопровода.
По патрубку 7 подают давление рабочей среды Р, вызывающее прогиб центральной части мембраны 3. Мембрана 3 вызывает перемещение жесткого шара 4, усилие от которого равномерно распределяется по площади жесткой прокладки 14. Давление рабочей среды Р, переданное через мембрану 3 и жесткий шар 4 на жесткую прокладку 14, вызывает сжатие пластины 2 из оптически активного материала. От источника поляризованного света 8 (например, лазера) по направляющему световоду 9 на направляющую линзу 10 подают поляризованный свет, который, проходя через пластину 2, разлагается на различные цвета. Закономерность распределения цветов света фиксируют с помощью анализатора 11 и приемной линзы 12, от которой по приемному световоду 17 информация передается на регистрирующую аппаратуру 13. При сжатии пластины 2 из оптически активного материала закономерность распределения цветов в соответствии с основным законом фотомеханики, устанавливающим связь между разностью хода волн, напряжениями и деформациями в наблюдаемых объектах, будет меняться. По разности хода волн, например, с помощью метода полос, учитывающего порядковый номер полосы, а также цену деления полосы материала, определяют разность давлений рабочей среды. По распределению касательных напряжений, возникающих из-за наличия в пластине 2 отверстия 16, возможно определять давление рабочей среды Р. За счет того, что направляющую линзу 10, анализатор 11 и приемную линзу 12 располагают на оси, удаленной от центра пластины 2 по вертикали на расстоянии h/4, обеспечивают высокую точность измерений, обусловленную наиболее представительной картиной распределения цветов или касательных напряжений. После снятия давления рабочей среды упругая мембрана 3 восстанавливается и возвращается в исходное положение, снимая нагрузку с пластины 2. Для предотвращения разрушения мембраны 3 используют ограничитель 5 перемещения мембраны, принимающий на себя сверхлимитную нагрузку.
Применение волоконно-оптического датчика давления обеспечивает следующие преимущества:
– упрощение конструкции устройства;
– повышение точности, оперативности и достоверности измерений;
– возможность применения заявляемого устройства при эксплуатации трубопроводов различного назначения;
– возможность работы во взрывоопасной среде.
Формула изобретения
1. Волоконно-оптический датчик давления, содержащий чувствительный элемент в виде упругой мембраны, закрепленной в корпусе, источник света, связанный с первым световодом, и регистрирующую аппаратуру, связанную со вторым световодом, отличающийся тем, что он снабжен направляющей линзой, анализатором и приемной линзой, расположенными по ходу световых лучей от источника света, а чувствительный элемент снабжен установленной между направляющей линзой и анализатором пластиной из оптически активного материала с отверстием, расположенным в центре симметрии пластины, соединенной с мембраной через жесткие прокладку и шар, размещенный на оси симметрии пластины, и ограничителем перемещения чувствительного элемента в вертикальной плоскости, установленным параллельно мембране в пазу корпуса, причем диаметр отверстия пластины d=0,5t, где t – толщина пластины, а направляющую линзу, связанную с первым световодом, анализатор и приемную линзу, связанную со вторым световодом, располагают на оси, удаленной от центра пластины по вертикали на расстоянии h/4, где h – высота пластины, при этом в качестве источника света используют источник поляризованного света.
2. Волоконно-оптический датчик давления по п.1, отличающийся тем, что в качестве оптически активного материала используют турмалин.
3. Волоконно-оптический датчик давления по п.1, отличающийся тем, что в качестве оптически активного материала используют фенолформальдегидные смолы.
РИСУНКИ
MM4A – Досрочное прекращение действия патента СССР или патента Российской Федерации на изобретение из-за неуплаты в установленный срок пошлины за поддержание патента в силе
Дата прекращения действия патента: 17.08.2006
Извещение опубликовано: 10.04.2008 БИ: 10/2008
|
|