|
| На основании пункта 3 статьи 13 Патентного закона Российской Федерации от 23 сентября 1992 г. № 3517-I патентообладатель обязуется передать исключительное право на изобретение (уступить патент) на условиях, соответствующих установившейся практике, лицу, первому изъявившему такое желание и уведомившему об этом патентообладателя и федеральный орган исполнительной власти по интеллектуальной собственности, – гражданину РФ или российскому юридическому лицу. |
|
(21), (22) Заявка: 2003138116/28, 30.12.2003
(24) Дата начала отсчета срока действия патента:
30.12.2003
(43) Дата публикации заявки: 10.06.2004
(45) Опубликовано: 20.02.2006
(56) Список документов, цитированных в отчете о поиске:
SU 1719938 А1, 15.03.1992. Артабалевский И.И. Механизмы в современной технике. Справочное пособие. Т.5: Кулачковые и фрикционные механизмы. Механизмы с гибкими звеньями. – 2-е изд., переработанное. – М.: Наука, главная редакция физико-математической литературы, 1981, с.23. Потапов Л.А., Юферов Ф.М. Измерение вращающих моментов и скоростей вращения микроэлектродвигателей. – М.: Энергия, 1974.
Адрес для переписки:
614001, г.Пермь, ул. Осинская, 2а, кв.12, Т.М. Зиньковской
|
(72) Автор(ы):
Зиньковская Татьяна Михайловна (RU)
(73) Патентообладатель(и):
Зиньковская Татьяна Михайловна (RU)
|
(54) МОМЕНТОМЕР
(57) Реферат:
Изобретение относится к приборостроению, в частности к измерительной технике, и может быть использовано для измерения крутящего момента на валах, например, электродвигателей. Устройство содержит основание с кронштейном, в подшипниках которого установлен связанный с контролируемым валом немагнитный диск, электромагнитную систему в составе фланца с электромагнитами, измерительный блок со шкалой, стрелкой, противовесом и кулачком. Противовес соединен с кулачком при помощи гибкой связи, закрепленной на периферии кулачка. Кулачок выполнен из двух зеркально расположенных половинок, профиль каждой из которых имеет уравнение архимедовой спирали. Технический результат заключается в повышении точности и возможности измерения крутящих моментов как по часовой стрелке, так и против. 3 ил. 
Изобретение относится к приборостроительной промышленности и может быть использовано для измерения крутящего момента на валах, например, электродвигателей.
Известны моментомеры, основанные на статическом методе измерения, при котором крутящий момент на валу определяется при установившейся скорости вращения вала.
Данные моментомеры имеют три основные разновидности: тормозные, приводные, трансмиссионные.
Наиболее простыми и распространенными являются тормозные моментомеры, которые совмещают в себе тормозное устройство, нагружающее испытываемый двигатель тормозным моментом, и измерительный блок, необходимый для измерения этого момента.
Применяются измерительные блоки различных типов: маятниковые, крутильные, рычажные, компенсационные (Потапов Л.А., Юферов Ф.М. Измерение вращающих моментов и скоростей вращения микроэлектродвигателей. М.: Энергия, 1974).
Наиболее близкими к предлагаемому являются тормозные электромагнитные моментомеры, включающие немагнитный диск, электромагнитную систему и измерительный блок со шкалой, стрелкой, фланцем, кулачком и противовесом, соединенным с кулачком при помощи гибкой связи (а.с. СССР 1719938 А1, G 01 L 3/22).
Однако указанный моментомер обеспечивает измерение крутящих моментов, приложенных только против часовой стрелки, что значительно ограничивает его возможности. Кроме этого, характеристика моментомера при угле поворота от 0 до 90° является нелинейной, что снижает точность измерений.
Цель изобретения – повышение точности измерений за счет получения линейной характеристики шкалы и измерение крутящих моментов, приложенных как по часовой стрелке, так и против.
Указанная цель достигается тем, что кулачок выполнен из двух зеркально расположенных половинок, профиль каждой из которых имеет уравнение архимедовой спирали, то есть получается при равномерном движении точки по прямой, равномерно вращающейся вокруг неподвижной точки.
r=k ,
где k – коэффициент увеличения радиуса при увеличении угла поворота;
– угол поворота кулачка.
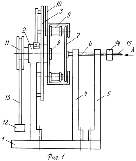
На фиг.1 изображен моментомер, общий вид; на фиг.2 – вид А на фиг.1; фиг.3 – характеристика моментомера.
На основании 1 неподвижно закреплены кронштейн 2 со шкалой 3, а также кронштейны 4 и 5 со свободно вращающейся осью 6 немагнитного металлического диска 7. В шарикоподшипниках кронштейна 2 установлен фланец 8 с системой электромагнитов 9, указательной стрелкой 10 и кулачком 11 с противовесом 12 на конце гибкой связи 13, другой конец которой закреплен на профильной поверхности кулачка 11. К оси 6 посредством муфты 14 присоединен вал 15, на котором измеряется крутящий момент.
Моментомер работает следующим образом.
При возникновении на валу 15 крутящего момента, действующего против часовой стрелки, немагнитный металлический диск 7 приходит во вращение в магнитном поле электромагнитов 9. Индуктируемые в немагнитном металлическом диске 7 токи взаимодействуют с магнитным полем системы электромагнитов 9, вследствие чего последняя вместе с фланцем 8, кулачком 11, противовесом 12 и указательной стрелкой 10 увлекается в направлении немагнитного металлического диска 7 и останавливается под некоторым углом к первоначальному.
При вращении электромагнитной системы, жестко скрепленной с помощью фланца 8 с кулачком 11, происходит накручивание гибкой связи 13 на профильную поверхность кулачка 11. При этом увеличивается тормозной момент, пропорциональный углу поворота кулачка 11. При равенстве крутящего и тормозного моментов система придет в равновесие, вращение прекратится и стрелка покажет на шкале значение приложенного крутящего момента.
Работа моментомера показана на примере замера крутящего момента на непрерывно вращающихся валах. Процесс отсчета показаний происходит аналогичным образом, если в подшипниках кронштейна 2 моментомера непосредственно, минуя электромагнитную систему, установлена связанная с кулачком и указательной стрелкой ось 6 с муфтой 14, служащей для подключения вала 15, на котором измеряется пусковой крутящий момент.
В заявленном техническом решении применение кулачка, выполненного из двух зеркально расположенных половинок, профиль каждой из которых имеет уравнение архимедовой спирали, которая получается при равномерном движении точки по прямой, равномерно вращающейся вокруг неподвижной точки, приводит к двум новым результатам – увеличению точности измерений и расширению потребительских возможностей моментомера (возможности производить замеры крутящих моментов как по, так и против часовой стрелки). Следовательно, указанный отличительный признак дает основание считать заявленное техническое решение соответствующим критерию «новизна». Указанное решение для специалиста явным образом не следует из уровня техники и промышленно применимо.
Формула изобретения
Моментомер, содержащий основание с кронштейном, в подшипниках которого установлен связанный с контролируемым валом немагнитный диск, и электромагнитную систему, включающую фланец с электромагнитами, измерительный блок со шкалой, стрелкой, фланцем, противовесом и кулачком, соединенным с противовесом посредством гибкой связи, закрепленной на периферии кулачка, отличающийся тем, что кулачок выполнен из двух зеркально расположенных половинок, профиль каждой из которых имеет уравнение архимедовой спирали:
r=k ,
где k – коэффициент увеличения радиуса при увеличении угла поворота,
– угол поворота от 0 до 180°.
РИСУНКИ
|
|