|
|
(21), (22) Заявка: 2004121735/28, 15.07.2004
(24) Дата начала отсчета срока действия патента:
15.07.2004
(45) Опубликовано: 20.02.2006
(56) Список документов, цитированных в отчете о поиске:
Активный контроль в машиностроении. Под ред. Е.И.Педя. – М.: Машиностроение, 1978, с.309, рис.14. RU 2016374 C1, 15.07.1994. US 6457366 А, 15.08.2002. SU 446742 A1, 25.10.1974. SU 380363 А, 26.07.1973.
Адрес для переписки:
620219, г.Екатеринбург, ул. К. Либкнехта, 42, УрГСХА, НИЧ
|
(72) Автор(ы):
Тромпет Герман Михайлович (RU), Александров Виктор Алексеевич (RU), Кирсанов Юрий Александрович (RU)
(73) Патентообладатель(и):
ФГОУ ВПО Уральская государственная сельскохозяйственная академия (УрГСХА) (RU)
|
(54) ВИБРОГЕНЕРАТОРНЫЙ ПРЕОБРАЗОВАТЕЛЬ
(57) Реферат:
Виброгенераторный преобразователь предназначен для использования в качестве первичного преобразователя для контроля размерных параметров деталей. Преобразователь содержит измерительный стержень, жестко связанный с якорем возбудителя колебаний и прикрепленный к корпусу и основанию посредством упругих элементов. Особенностью преобразователя является то, что упругие элементы выполнены U-образными с различными длинами ветвей и переменным сечением. Длинные ветви упругих элементов соединены с измерительным стержнем, короткие ветви – с основанием преобразователя. Изменение сечения достигается двухсторонними серпообразными вырезами в плане. Серпообразные вырезы выполнены с радиусом окружности, дуга которого сопрягается с радиусом изгиба упругого элемента. Упругие элементы установлены в зеркальном отображении друг к другу. Изобретение решает задачу повышения надежности и долговечности преобразователя путем снижения усталостной нагрузки, воспринимаемой упругими элементами, и упрощения настройки на резонансную частоту. 1 з.п. ф-лы, 2 ил. 
Изобретение относится к измерительной технике в технологии металлов и используется в качестве первичного преобразователя для контроля размерных параметров деталей.
Известно виброконтактное измерительное устройство по а.с. №446742, кл. G 01 В 7/12, в котором измерительные рычаги упруго связаны с корпусом посредством витых пружин. Использование витых пружин не обеспечивает необходимых метрологических характеристик вследствие наличия люфта на оси, посаженной на подшипник качения, и наличия перемещения одного конца витой пружины относительно другого в направлении, перпендикулярном рабочему движению измерительного рычага.
Известен также виброгенераторный датчик (Активный контроль в машиностроении / Под. ред. Е.И.Педя. – М.: Машиностроение, 1978. – Рисунок 14 на с.309). Недостатком указанного устройства является недолговечность работы плоских пружин, что отрицательно влияет на надежность преобразователя.
Для повышения устойчивости колебательной системы преобразователя против действия ударных нагрузок пружины должны иметь необходимую жесткость. При этом, работая непрерывно в колебательном режиме, они испытывают высокую усталостную нагрузку, сосредоточенную на малой площади, ограниченной габаритами прибора по ширине, это приводит к возникновению в них трещин и последующей поломке.
Настройка на рабочую частоту колебаний измерительного стержня производится путем подбора крепежных пластин по весу, что является достаточно трудоемким и продолжительным процессом, требующим разборки устройства и снятия пружины.
Задачей изобретения является повышение надежности и долговечности виброгенераторного преобразователя путем снижения усталостной нагрузки, воспринимаемой упругими элементами подвески измерительного стержня, и упрощение выполнения функции настройки на рабочую резонансную частоту колебаний измерительного стержня.
Задача решается тем, что в виброгенераторном преобразователе, содержащем корпус, установленные в нем возбудитель колебаний и генератор, основание, измерительный стержень, прикрепленный к основанию упругими элементами, упругие элементы выполнены U-образной формы с различными длинами ветвей и переменным сечением в виде двухсторонних серпообразных вырезов в плане, при этом длинная ветвь соединена с измерительным стержнем, а короткая ветвь – с основанием преобразователя.
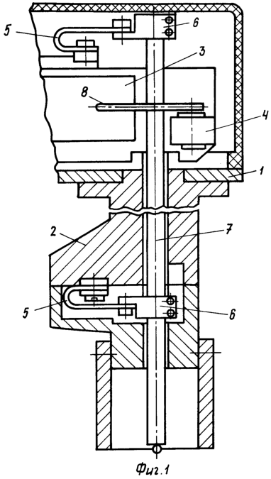
На фиг.1 изображена предложенная конструкция виброгенераторного преобразователя в разрезе.
На фиг.2 изображен упругий элемент, вид сбоку и сверху по стрелке А.
Виброгенераторный преобразователь (фиг.1) содержит корпус 1, прикрепленное к корпусу основание 2, генератор 3, раскачивающий электромагнит 4, упругие элементы 5, установленные в зеркальном отображении друг другу, верхний и нижний хомутики 6, посредством которых измерительный стержень 7 крепится к основанию, и якорь 8 генератора 3, жестко связанный с измерительным стержнем.
Виброгенераторный преобразователь работает следующим образом. При подаче питающего напряжения на катушку раскачивающего электромагнита 4 измерительный стержень 7 и жестко связанный с ним якорь 8 через упругие элементы 5 приводятся в колебательное движение, причем колебательные движения измерительного стержня 7 и якоря 8 синхронны и происходят с одинаковой амплитудой. В катушке генератора 3 индуцируется ЭДС, пропорциональная изменению скорости магнитного потока, создаваемого постоянным магнитом, установленным в генераторе (на чертеже не показан).
При проведении измерения размеров обрабатываемых деталей измерительный стержень контактирует с измеряемой поверхностью и в зависимости от изменения размеров деталей изменяется амплитуда колебаний измерительного стержня и якоря генератора, при этом в катушке генератора возбуждается ЭДС, пропорциональная амплитуде колебаний, что регистрируется любым отсчетным устройством (на чертеже не показан).
При работе преобразователя, т.е. при колебательном движении измерительного стержня, наиболее нагруженными деталями являются упругие элементы 5. Выполнение их U-образной формы с различными длинами ветвей и переменным сечением позволяет перераспределить нагрузку равномерно по длине элемента, а серпообразные вырезы дают возможность быстрой настройки на рабочую частоту колебаний измерительного стержня, изменяя их с помощью абразивного круга, не прибегая к жесткому лимитированию веса колебательной системы. Такая форма подвески демпфирует удары измерительного стержня о кромки деталей. Это снижает усталостную нагрузку, действующую на упругие элементы, что повышает надежность и долговечность работы виброгенераторного преобразователя, а серпообразные вырезы гарантируют выполнение оперативной настройки на рабочую частоту колебаний измерительного стержня без разборки устройства и снятия пружины.
Предлагаемая разработка создана на базе виброгенераторного датчика (Активный контроль в машиностроении / Под. ред. Е.И.Педя – М.: Машиностроение, 1978. – Рисунок 14 на с.309) используется в системах активного контроля на плоскошлифовальных станках.
Отличительной особенностью предлагаемой конструкции является изменение подвесной системы, состоящей из двух U-образных пружин с различными длинами, переменным сечением и серпообразными вырезами в отличие от ранее используемых плоских пружин, что придает преобразователю следующие преимущества:
1. Расположение U-образных пружин выполнено таким образом, что при перемещении измерительного стержня вниз верхняя пружина работает на увеличение изгиба, а нижняя – на его уменьшение. При перемещении измерительного стержня вверх верхняя пружина работает на уменьшение изгиба, а нижняя – на его увеличение.
2. Длинные ветви пружин при закреплении направлены в противоположные стороны. В верхнем закреплении направлена вверх, в нижнем закреплении направлена вниз, что придает устойчивое состояние колебательному процессу при действии внешних факторов на измерительный стержень.
3. Пружины выполнены и закреплены таким образом, что длинная ветвь закреплена на измерительном стержне, а короткая ветвь – с корпусом преобразователя, что распределяет нагрузку по всей загнутой части пружины. В конструкции, принятой за прототип, нагрузка ложится на сечение пружины в местах защемления и приводит к появлению трещин и поломке.
4. Выполнение пружин U-образной формы с различными длинами ветвей и переменным сечением позволяет распределить нагрузку равномерно по длине элемента, что увеличивает срок службы всего датчика без его ремонта.
5. Выполненные серпообразные вырезы с определенным радиусом дают возможность быстрой настройки на рабочую частоту колебаний измерительного стержня, изменяя их с помощью абразивного круга, не прибегая к жесткому лимитированию веса колебательной системы.
Сопоставительный анализ с прототипом показывает, что заявляемый преобразователь отличается от прототипа тем, что упругий элемент выполнен U-образным с различными длинами ветвей и переменным сечением в виде двухсторонних серпообразных вырезов в плане, при этом длинная ветвь соединена с измерительным стержнем, а короткая ветвь соединена с основанием преобразователя.
Таким образом, заявляемый преобразователь соответствует критерию изобретения “НОВИЗНА”. Сравнение заявляемого решения с другими техническими решениями в данной области техники не выявило в них признаков, отличающих заявляемое решение от прототипа, что позволяет сделать вывод о соответствии критерию “СУЩЕСТВЕННЫЕ ОТЛИЧИЯ”.
Промышленная эксплуатация системы активного контроля с использованием разработанного виброгенераторного преобразователя показала высокую надежность и работоспособность датчика, а эксплуатация всей измерительной системы в комплексе датчик + отсчетно-командный блок+система управления станком+изготавливаемая деталь привела к повышению точности обработки на 10-20% за счет демпфирования ударов кромок контролируемых деталей, проходящих под измерительным стержнем, разработанной и предложенной пружинной подвеской.
Изготовление пружины является технически и технологически осуществимым процессом и может быть выполнено в инструментальном цехе или участке машиностроительного завода. Материал элемента и отношения длин ветвей упругого элемента в пределах 1:2-1:2,5 выбраны практически, опытным путем и подтверждены производственными испытаниями.
Формула изобретения
1. Виброгенераторный преобразователь, содержащий корпус, основание, возбудитель колебаний, измерительный стержень, прикрепленный к корпусу и основанию посредством упругих элементов и жестко связанный с якорем виброгенератора, отличающийся тем, что упругий элемент выполнен U-образным с различными длинами ветвей и переменным сечением в виде двухсторонних серпообразных вырезов в плане, при этом длинная ветвь соединена с измерительным стержнем, а короткая ветвь соединена с основанием преобразователя, причем упругие элементы установлены в зеркальном отображении друг к другу, а серпообразные вырезы выполнены с радиусом окружности, дуга которой сопрягается с радиусом изгиба упругого элемента-пружины и соответствует жесткости, настроенной на собственные колебания подвесной системы.
2. Виброгенераторный преобразователь по п.1, отличающийся тем, что длины ветвей упругого элемента относятся между собой в пределах от 1:2 до 1:2,5.
РИСУНКИ
MM4A – Досрочное прекращение действия патента СССР или патента Российской Федерации на изобретение из-за неуплаты в установленный срок пошлины за поддержание патента в силе
Дата прекращения действия патента: 16.07.2006
Извещение опубликовано: 27.02.2008 БИ: 06/2008
|
|