|
(21), (22) Заявка: 2004119150/02, 25.06.2004
(24) Дата начала отсчета срока действия патента:
25.06.2004
(45) Опубликовано: 20.02.2006
(56) Список документов, цитированных в отчете о поиске:
US 3938439 А, 17.02.1976. RU 2227893 C1, 27.04.2004. US 5094170 A, 10.03.1992. US 5078053 A, 07.01.1992.
Адрес для переписки:
105318, Москва, ул. Вельяминовская, 32, ФГУП “Государственное научно-производственное предприятие “Базальт”
|
(72) Автор(ы):
Супрунов Николай Андреевич (RU), Петров Виктор Анатольевич (RU), Артемчук Наталья Александровна (RU)
(73) Патентообладатель(и):
Федеральное государственное унитарное предприятие “Государственное научно-производственное предприятие “Базальт” (RU)
|
(54) РАЗОВАЯ БОМБОВАЯ КАССЕТА
(57) Реферат:
Изобретение относится к области вооружения, а именно к авиационным кассетно-контейнерным системам, предназначенным для поражения с малых и предельно малых высот площадных целей, например взлетно-посадочных полос аэродромов. Разовая бомбовая кассета включает корпус, каркас в виде переднего, заднего и поддерживающего фланцев, закрепленных на центральной перфорированной трубе, газогенератор, боевые элементы с устройством их разброса, размещенные вокруг центральной перфорированной трубы и стянутые хомутами, при этом поддерживающий фланец размещен между передним и задним фланцами и выполнен с профилированными гнездами на наружной поверхности, а устройство разброса боевых элементов выполнено в виде тонкостенных металлических цилиндров с перфорированными под размещенные в них боевые элементы в продольном направлении желобами, причем боевые элементы установлены встречными эшелонами с опорой головных частей на профилированные гнезда поддерживающего фланца и зажаты посредством втулок между передним и задним фланцами корпуса. Применение разовой бомбовой кассеты позволяет расширить номенклатуру боевых элементов, используемых для снаряжения кассеты, повысить удельную эффективность, безопасность и надежность действия кассеты, а также обеспечить оптимальную зону рассеивания боевых элементов. 3 з.п. ф-лы, 3 ил. 
Настоящее изобретение относится к области вооружения, а именно к авиационным кассетно-контейнерным системам, предназначенным для поражения с малых и предельно малых высот площадных целей, например взлетно-посадочных полос аэродромов.
Как известно из патентной и технической литературы, эффективность поражения площадных целей в значительной мере зависит от площади зоны рассеивания боеприпасов и от удельной эффективности как кассетно-контейнерной системы, так и самого боеприпаса (боевого элемента).
Известно конструктивное исполнение кассетной боевой части, включающей корпус, каркас, боевые элементы и устройство их разброса, выполненное в виде центрального разрывного заряда, размещенного в цилиндрической оболочке, при этом каждый боевой элемент (группа элементов) соединен гибкой связью с фрагментом корпуса заданного дробления (патент США №3954060 от 04.05.76 г.).
Вышеприведенное техническое решение обладает рядом существенных недостатков:
1. Как правило, длительность воздействия продуктов детонации разрывного заряда на боевые элементы составляет несколько микросекунд, при этом боевые элементы, исходя из необходимой скорости их разброса, получают ускорение в плоскости, перпендикулярной их продольной оси, порядка 300000…500000 м/с2.
Воздействие на боевой элемент указанных перегрузок приводит, исходя из обеспечения сохранности в момент выброса, к резкому возрастанию его габаритно-массовых характеристик, что, в конечном итоге, приводит к снижению удельной эффективности боевого элемента и средства его доставки.
2. Не позволяет, без дополнительного усложнения конструкции кассеты, применять для снаряжения боевых элементов с пиротехническим запуском взрывателя, обладающие, как правило, высокими удельными характеристиками.
3. Не исключается возможность самодетонации разрывного заряда боевого элемента в момент выброса его из кассеты.
Известно конструктивное исполнение кассетной боевой части, содержащей корпус, каркас, боевые элементы и устройство их разброса, выполненное в виде толкателей, размещенных в центральной перфорированной трубе каркаса (патент США №3295444 от 17.01.67 г.).
К недостаткам данной конструкции кассетной БЧ следует отнести:
– необходимость выполнения толкателей по числу боевых элементов, используемых для снаряжения кассеты, что значительно усложняет конструкцию кассеты и увеличивает ее габаритно-массовые характеристики;
– в случае радиального выброса боевых элементов, размещенных в кассете параллельно ее продольной оси, обеспечивается практически точечное приложение нагрузки к боевому элементу в момент его выброса, что приводит к необходимости упрочнения его корпуса и комплектующих элементов, а следовательно, к снижению удельной эффективности боевого элемента и кассеты;
– сравнительно малый ход толкателя (равен толщине центральной трубы) не позволяет обеспечить скорость выброса боевого элемента, достаточную для образования оптимальной зоны рассеивания, что, в конечном итоге, приводит к снижению эффективности действия системы.
Известно конструктивное исполнение системы выброса боевого элемента из контейнера, представляющее собой коаксиально расположенную, расширяющуюся под действием давления пороховых газов оболочку, образующую внутреннюю и периферийные полости, в каждой из которых размещен газогенератор (патент ФРГ №3026159 от 10.07.80 г.).
Приведенное техническое решение хотя и позволяет увеличить ход поршня, а следовательно, увеличить скорость выброса боевого элемента, но имеет ряд существенных недостатков:
– отсутствуют технические решения по варьированию временем воздействия усилий на боевые элементы в момент их выброса из кассеты, что не позволяет расширить диапазон скорости выброса, а следовательно, обеспечить оптимальную зону рассеивания боевых элементов;
– низкая удельная эффективность контейнера (кассеты) из-за необходимости размещения внешних полостей, количество которых равно количеству боевых элементов;
– низкие показатели надежности действия устройства выброса боевых элементов (возможно обжатие боевого элемента оболочкой, ограничивающей внешнюю полость, с последующим ее разрушением и стравливанием газов);
– сложность конструкции (необходимо наличие центрального газогенератора и газогенераторов, размещенных во внешней полости оболочки);
– практически невозможно обеспечить герметичность такой оболочки с торцев, особенно в момент ее расширения, что может привести к прорыву газов в полость боевых элементов, а следовательно, резко снизится надежность действия контейнера, уменьшится зона рассеивания боевых элементов.
Известно конструктивное исполнение кассетной боевой части, содержащей корпус, боевые элементы, уложенные в несколько рядов, механизм выброса боевых элементов с вышибным зарядом, выполненный в виде надувного баллона, расположенного вдоль центральной оси и соединенного механически с емкостью, которая через впускной клапан связана с вышибным зарядом (патент ФРГ №2920347 от 19.05.79 г., патент США №3865034 от 11.02.75 г.).
Приведенное техническое решение обеспечивает «мягкий» выброс боевых элементов из кассеты (перегрузки на превышают 100…200 единиц), что позволяет повысить удельные характеристики боевого элемента и кассеты.
К недостаткам данной конструкции кассетной боевой части следует отнести:
– сравнительно низкие показатели надежности действия (возможны случаи разрушения баллона в промежутках между боевыми элементами из-за неравномерного распределения наружного давления по периметру баллона);
– низкий коэффициент полезного действия вышибного заряда из-за отсутствия направляющих при выбросе боевых элементов;
– значительная сложность конструкции (жесткие требования по герметизации баллона в момент его расширения, по регулированию процесса наполнения баллона газом, необходимо наличие дополнительной емкости, впускных клапанов и т.д.);
– в случае изготовления баллона из достаточно жесткого упругого материала невозможно обеспечить большой ход при его расширении, что, в конечном итоге, может привести к уменьшению зоны рассеивания боевых элементов, а следовательно, и к уменьшению эффективности действия кассеты;
– в случае применения резинового баллона с гофрированной оболочкой (патент США №3865034) возможно разрушение баллона по торцам оболочки и стравливание газов в полость боевых элементов.
Ближайшим аналогом предлагаемого изобретения является устройство для рассеивания с различной скоростью в радиальном направлении мелких снарядов (патент США №3938439 от 1976 г. – прототип).
Указанное устройство представляет собой кожух, в котором в несколько рядов размещены мелкие снаряды, стянутые легким бандажом. Ряды разделены между собой фланцами (основаниями). Под нижним рядом снарядов установлен генератор газа, при работе которого образуемый газ поступает в вертикальную перфорированную трубу, проходящую по всему устройству, через сопловые отверстия, расположенные на уровне каждого ряда и имеющие прогрессивно изменяющийся диаметр. Вокруг отверстий вертикальной трубы расположены резиновые диафрагмы, герметично соединенные с трубой в районе стыка с основанием.
Вырабатываемый газогенератором газ воздействует на резиновые диафрагмы с усилием, достаточным для разрыва легкого бандажа в каждом ряде снарядов, при этом происходит разброс снарядов в радиальном направлении с различными скоростями.
Приведенное техническое решение позволяет значительно охладить газ, вырабатываемый генератором, размещенным вне объема перфорированной трубы, до воздействия им на резиновые диафрагмы, а наличие бандажа малой прочности, для разрушения которого требуются незначительные усилия, позволяет обеспечить разброс снарядов с небольшой скоростью.
К недостаткам данного технического решения следует отнести:
1. Значительная сложность конструктивного узла, предназначенного для обеспечения герметичности резиновой диафрагмы в момент ее расширения. Хотя в материалах патента США №3938439 и не показано устройство герметизации диафрагмы, оно приведено в аналоге данного патента (патент США №3865034 от 11.02.75 г.) и представляет собой две втулки, фиксаторы, скобы, чашечки, а в основаниях – отверстия с протуберанцами.
2. Из-за необходимости предварительного охлаждения газа, используемого для наддува резиновой оболочки, газогенератор размещен в собственном объеме вне объема вертикальной перфорированной трубы, что приводит к резкому увеличению объема кассетной боевой части, а следовательно, к снижению удельной эффективности кассеты (при заданных габаритах и массе кассеты).
3. Отсутствие направляющих для выброса снарядов, а также сравнительно низкая прочность стягивающего бандажа не позволяют получить скорость выброса снарядов, достаточную для обеспечения оптимальной зоны рассеивания снарядов, что приводит к уменьшению эффективности действия кассеты.
4. Сравнительно низкие показатели надежности действия (возможны случаи разрушения резиновой диафрагмы как в местах ее крепления к перфорированной трубе, так и в промежутках между снарядами из-за неравномерного распределения наружного давления по периметру диафрагмы).
5. Невозможность задействования взрывателей снарядов, имеющих пиротехнический принцип взведения из-за подачи в центральную трубу охлажденного газа.
Задачей предлагаемого изобретения является повышение эффективности действия разовой бомбовой кассеты.
Технический результат состоит в расширении номенклатуры боевых элементов, используемых для снаряжения кассеты, в повышении удельной эффективности, безопасности и надежности действия кассеты, а также в обеспечении оптимальной зоны рассеивания боевых элементов.
Технический результат достигается тем, что разовая бомбовая кассета включает корпус, каркас в виде переднего, заднего и поддерживающего фланцев, закрепленных на центральной перфорированной трубе, газогенератор, боевые элементы с устройством их разброса, размещенные вокруг центральной перфорированной трубы и стянутые хомутами, при этом поддерживающий фланец размещен между передним и задним фланцами и выполнен с профилированными гнездами на наружной поверхности, а устройство разброса боевых элементов выполнено в виде тонкостенных металлических цилиндров с профилированными под размещенные в них боевые элементы в продольном направлении желобами, причем боевые элементы установлены встречными эшелонами с опорой головных частей на профилированные гнезда поддерживающего фланца и зажаты посредством втулок между передним и задним фланцами корпуса.
Расширение номенклатуры боевых элементов, используемых для снаряжения кассеты, достигается за счет размещения между фланцами каркаса дополнительного поддерживающего фланца с профилированными гнездами на наружной цилиндрической поверхности, который позволяет разместить боевые элементы, каждый из которых снабжен надкалиберным реактивным двигателем, а наличие во фланцах каркаса газоводных каналов, по которым газ из полости центральной трубы поступает к задним торцам боевых элементов, позволяет использовать в них взрыватели с пиротехническим запуском.
Повышение удельной эффективности кассеты (отношение массы боевых элементов к общей массе кассеты) достигается за счет увеличения количества боевых элементов, размещаемых в кассете при сохранении ее габаритов и массы.
Увеличение количества боевых элементов, размещаемых в кассете, обеспечивается как за счет того, что устройство разброса боевых элементов одновременно выполняет функции ложемента, толкателя и направляющей, так и за счет размещения боевых элементов в кассете встречными эшелонами.
Повышение безопасности и надежности действия кассеты достигается за счет исключения возможности соударения боевых элементов в момент их выброса из кассеты, так как приложение вектора скорости происходит только в одной радиальной плоскости, проходящей через продольные оси профилированных желобов металлических цилиндров и боевых элементов.
Кроме того, снабжение кассеты поддерживающим фланцем обеспечивает надежное крепление боевых элементов с надкалиберным реактивным двигателем в кассете как в радиальном, так и продольном направлениях, тем самым улучшаются эксплуатационные характеристики кассеты и повышается надежность ее действия.
Обеспечение оптимальной зоны рассеивания боевых элементов достигается за счет возможности варьирования в широком диапазоне временем воздействия усилий на боевой элемент в момент их выброса из кассеты (достигается наличием тарированной связи боевого элемента с металлическим цилиндром посредством хомута) и ходом поршня (желоба), при этом исключается возможность прорыва продуктов сгорания газогенератора по торцам металлического цилиндра.
В разовой бомбовой кассете продольные оси соседних боевых элементов встречных эшелонов могут быть смещены в поперечном окружном направлении на угол 360°/n, где n – общее количество боевых элементов, что, при снаряжении кассеты боевыми элементами с надкалиберными реактивными двигателями, позволит равномерно по окружности разместить боевые части боевых элементов на поддерживающем фланце, тем самым увеличить количество боевых элементов в кассете, а следовательно, повысить ее удельную эффективность.
В разовой бомбовой кассете газогенератор может быть размещен в центральной перфорированной трубе, что позволит уменьшить габаритные характеристики кассеты. Тем самым повысить ее удельную эффективность.
В разовой бомбовой кассете на фланцах каркаса со стороны боевого элемента могут быть установлены прокладки из эластичного материала, которые позволяют исключить возможность прорыва продуктов сгорания газогенератора по торцам металлических цилиндров, тем самым повысить надежность действия кассеты.
Возможность промышленного применения обусловлена конкретным выполнением изобретения, характеризующегося следующей конструктивной схемой.
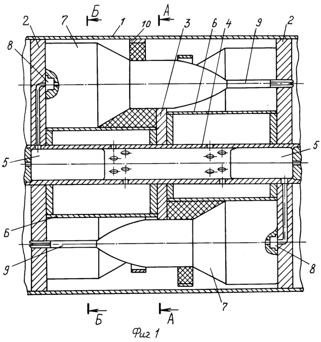
На фиг.1 показана разовая бомбовая кассета.
На фиг.2 показано размещение боевых частей боевых элементов на поддерживающем фланце кассеты.
На фиг.3 показано размещение боевых элементов на металлическом цилиндре с профилированными желобами.
Разовая бомбовая кассета состоит из корпуса 1, каркаса, выполненного в виде фланцев 2, поддерживающего фланца 3, центральной перфорированной трубы 4, газогенератора 5, металлических цилиндров с желобами 6, боевых элементов 7, взрывателей с пироприемниками 8, втулок 9, хомутов 10.
Работа разовой бомбовой кассеты происходит следующим образом.
Через заданный промежуток времени после отделения кассеты от носителя происходит выброс каркаса с боевыми элементами из корпуса кассеты и задействование газогенератора 5. Продукты сгорания газогенератора одновременно истекают через отверстия в центральной перфорированной трубе 4 в полости металлических цилиндров 6 и через радиальные и осевые газоводы фланцев 2 к пироприемникам 8 взрывателей боевых элементов 7.
Под действием давления в полости металлического цилиндра, достаточного для разрушения хомута 10, происходит распрямление боковой поверхности желоба металлического цилиндра 6 и боевой элемент 7 начинает движение в радиальном направлении с упором в торцы втулки 9 и фланца 2. Одновременно происходит задействование пироприемника 8 взрывателя.
После выброса боевого элемента из каркаса кассеты происходит его торможение при неориентированном полете в течение времени, достаточного для образования оптимальной зоны рассеивания боевых элементов, после чего выбрасывается в поток парашютная система, которая разворачивает продольную ось боевого элемента в направлении нормали к преграде. При развороте боевого элемента до угла, близкого нормали к преграде, происходит задействование реактивного двигателя, который разгоняет боевую часть до скорости, достаточной для проникания боевого элемента под преграду. При проникании в преграду отделяется реактивный двигатель и задействуется взрыватель боевой части, который инициирует заряд ВВ.
Работоспособность предлагаемой конструкции разовой бомбовой кассеты в снаряжении бетонобойными боевыми элементами с надкалиберным реактивным двигателем и пиротехническим запуском взрывателя подтверждена расчетами и экспериментальными проверками кассеты и боевого элемента в наземных и летных условиях.
Формула изобретения
1. Разовая бомбовая кассета, содержащая корпус, каркас в виде закрепленных на центральной перфорированной трубе переднего и заднего фланцев, газогенератор, боевые элементы с устройством их разброса, размещенные вокруг центральной перфорированной трубы и стянутые хомутами, отличающаяся тем, что она снабжена поддерживающим фланцем с профилированными гнездами на наружной цилиндрической поверхности, размещенным на центральной перфорированной трубе между фланцами каркаса, а устройство разброса боевых элементов выполнено в виде тонкостенных металлических цилиндров с профилированными под размещенные в них боевые элементы в продольном направлении желобами, при этом боевые элементы установлены встречными эшелонами с опорой головных частей на профилированные гнезда поддерживающего фланца и зажаты посредством втулок между фланцами каркаса.
2. Кассета по п.1, отличающаяся тем, что в ней продольные оси соседних боевых элементов встречных эшелонов смещены в поперечном окружном направлении на угол 360°/n, где n – общее количество боевых элементов.
3. Кассета по п.1, отличающаяся тем, что в ней газогенератор размещен в центральной перфорированной трубе, а во фланцах каркаса выполнены газоводные каналы, сообщающие полость центральной перфорированной трубы с пироприемниками взрывателей боевых элементов.
4. Кассета по п.1, отличающаяся тем, что в ней на фланцы каркаса со стороны боевых элементов установлены прокладки из эластичного материала.
РИСУНКИ
|