|
|
(21), (22) Заявка: 2001127719/02, 12.10.2001
(24) Дата начала отсчета срока действия патента:
12.10.2001
(30) Конвенционный приоритет:
13.10.2000 ES 200002464
(43) Дата публикации заявки: 20.08.2003
(45) Опубликовано: 20.02.2006
(56) Список документов, цитированных в отчете о поиске:
ЕР 0467819 А1, 22.01.1992. GB 2166851 А, 14.05.1986. RU 2100739 C1, 27.12.1997. RU 2155311 C1, 27.08.2000. US 4282852 A, 11.08.1981. RU 2141091 C1, 10.11.1999.
Адрес для переписки:
129010, Москва, ул. Б. Спасская, 25, стр.3, ООО “Юридическая фирма Городисский и Партнеры”, пат.пов. Ю.Д.Кузнецову, рег.№ 595
|
(72) Автор(ы):
КАСАС САЛЬВА Франсиско (ES)
(73) Патентообладатель(и):
ИНДУСТРИАС ЭЛЬ ГАМО, СА (ES)
|
(54) УСТРОЙСТВО ДЛЯ ШАРНИРНОГО КРЕПЛЕНИЯ СТВОЛА ПНЕВМАТИЧЕСКОГО КАРАБИНА ИЛИ РУЖЬЯ, ИМЕЮЩЕГО ОТКИДЫВАЮЩИЙСЯ СТВОЛ
(57) Реферат:
Изобретение относится к оружию и может быть использовано в пневматических карабинах или ружьях, имеющих откидывающийся ствол. Устройство содержит ствольную коробку, составляющую единое целое с задней частью ствола, с шарниром и фиксатором для запирания ствола относительно вилки, составляющей единое целое с передней частью камеры давления. Указанная коробка соединена с механизмом рычагов, приспособленных для нажатия на поршень камеры давления, причем вилка содержит внутреннюю часть, полученную формованием, в которой сконцентрированы наиболее сложные конфигурации, плотно посаженную во входную часть камеры давления и соединенную с этой частью, которая выполнена из металлической трубки и плотно покрывает всю внутреннюю часть вилки, причем ствольная коробка также получена формованием с заделкой в нее задней части ствола как вставки. Изобретение позволяет повысить технологичность изготовления шарнирного устройства и его прочность. 10 з.п. ф-лы, 7 ил. 
Изобретение относится к устройству для шарнирного крепления ствола пневматического карабина или ружья, имеющего откидывающийся ствол, в котором некоторые из составляющих его элементов выполнены формованием из пластмассового материала.
Из уровня техники известны пневматические карабины или ружья, у которых ствол откидывается с двойной целью: с одной стороны, для того, чтобы открыть заднюю часть ствола для заряжания метательного снаряда, и с другой стороны, для использования самого ствола в качестве рычага для нагружения толкающей пружины поршня камеры для сжатия воздуха. Этот откидывающийся ствол требует точного шарнирного крепящего средства и центрирующего и запорного средства для закрытого положения ствола, обеспечивающего совпадение канала ствола с выходным отверстием камеры давления для сжатого воздуха. Указанные шарнирное, центрирующее и запорное средства включают в себя серию сложных конфигураций, которые выполняют посредством механической обработки, при том, что исходными заготовками являются металлические, а именно стальные заготовки, что означает очень высокие производственные затраты.
Патент ЕР-0467819, выданный заявителю, описывает усовершенствования, внесенные в пневматический карабин или ружье, имеющее откидывающийся ствол, состоящие в группировании указанных сложных конфигураций в два сборочных узла, которые могут выполняться формованием, типично – инжекционным формованием пластмассы, обеспечивающим таким образом снижение производственных затрат. Один из этих сборочных узлов выполняют за одно целое с задней частью ствола посредством простого покрывающего формования, то есть одновременного выполнения покрытия всего ствола. Другой сборочный узел представляет собой вилку, и его формируют как отдельную деталь, выполненную посредством одной операции формования, предназначенную для установки за одно целое с передней частью камеры давления посредством плотной посадки и фиксации штифтами. С этой целью второй сборочный узел содержит цилиндрическую часть, которую вставляют в переднюю часть камеры давления и часть, которая формирует вилку с отверстиями для шарнирного штифта, соответствующую первому сборочному узлу, составляющему единое целое со стволом.
Хотя этот тип формованной конструкции обеспечивает снижение производственных затрат, он все же имеет некоторые недостатки, которые требуют устранения. Что касается первого сборочного узла, необходимость выполнения формованного покрытия по всей длине ствола требует наличия пресс-форм очень больших размеров и затрат большого количества материала для формования, что также предполагает высокие производственные затраты. Что касается второго сборочного узла, вся пластмассовая часть, формирующая вилку, выступает из металлической трубки, формирующей камеру давления, образуя переходную шейку между вилочной частью и цилиндрической частью, вставленной в металлическую трубку. Напряжения, создаваемые в материале из-за многократных приложений усилия, имеют тенденцию концентрации в этой шейке или переходном районе и, таким образом, эта часть может изогнуться или даже переломиться в этой точке вследствие усталости материала.
Таким образом, задачей изобретения является обеспечение шарнирного устройства для ствола пневматического карабина или ружья, имеющего откидывающийся ствол, которое имеет сложные конфигурации, объединенные в две группы, которые могут быть получены формованием, и которое менее дорого в производстве и более прочно, чем шарнирные устройства, известные из уровня техники.
Эта задача решается, согласно настоящему изобретению, обеспечением шарнирного устройства для ствола пневматического карабина или ружья, имеющего откидывающийся ствол, типа, содержащего ствольную коробку, составляющую единое целое с задней частью ствола, причем ствольная коробка содержит отверстие для шарнирного штифта и фиксатор, предназначенные соответственно для шарнирного крепления и запирания ствола в вилке, составляющей единое целое с передней частью камеры воздушного давления, при этом ствольная коробка соединена с механизмом шарнирных рычагов, приспособленных для сжатия толкающей пружины поршня камеры давления с использованием для этого ствола в качестве рычага при его опускании. Устройство, соответствующее настоящему изобретению, отличается тем, что вилка содержит внутреннюю часть вилки, полученную формованием, предпочтительно, пластмассового материала, снабженную двумя передними ветвями, и задней оконечной частью, плотно посаженной во входную часть камеры давления и соединенной с этой частью, которая, в свою очередь, удлинена вперед двумя боковыми пластинами, которые выполнены плотно покрывающими две указанные передние ветви внутренней части вилки.
При таком устройстве удалось сконцентрировать во внутренней части вилки, полученной формованием, все наиболее сложные конфигурации, такие как передние ветви, отверстия для штифтов, по меньшей мере один паз на внешнем периметре для размещения кольцевого уплотнительного элемента, продольное отверстие для пропускания воздуха из камеры давления, удерживающая конфигурация для фиксации ствола в закрытом положении, среди прочих, при этом ветви вилки остаются покрытыми и усиленными снаружи боковыми пластинами входной части камеры давления, которые получены простой резкой самого трубчатого металлического материала, частью которого является камера давления. Входная часть включает в себя другие особенности, которые во всех случаях являются легко выполняемыми простыми отверстиями. В дополнение к этому, из конструкции внутренней части вилки, отформованной из пластмассового материала, исключена какая бы то ни было суженная конфигурация, которая привела бы к концентрации напряжения в максимально изгибаемом районе, как это было в устройстве, описанном в указанном документе ЕР-0467819.
С другой стороны, устройство, соответствующее настоящее изобретению, имеет ствольную коробку, выполненную формованием, предпочтительно инжекционным формованием, пластмассового материала, в которую в качестве вставки введена задняя часть ствола. Таким образом, ствольная коробка, выполненная формованием, содержит такие сложные конфигурации, как отверстия для штифтов, вырезы, продольную выемку, открытую в тыльной части для скользящего вхождения в нее фиксатора и, в дополнение к этому, крепежную конфигурацию для закрепления в ней регулируемого прицела, тогда как в районе задней части ствола он содержит только некоторые плоскости на его наружной поверхности, которые легко выполнить механической обработкой. Факт формования ствольной коробки только на задней части ствола как вставке, без полного покрытия всей длины ствола, как это было в устройстве, известном из ЕР-0467819, позволяет получить эквивалентные результаты с применением пресс-форм очень малого размера и с использованием меньшего количества пластмассового материала и, таким образом, с меньшими затратами.
Изобретение раскрыто далее на примере одного из вариантов его осуществления, приводимого со ссылками на соответствующие чертежи, на которых:
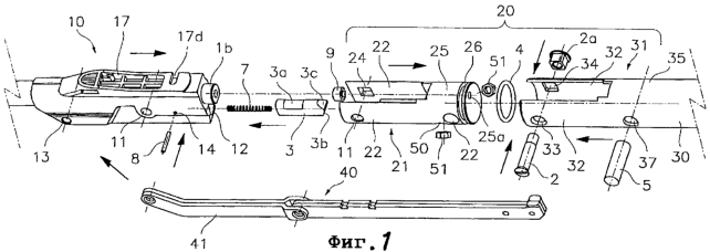
Фиг.1 – общий вид разобранного шарнирного устройства ствола пневматического карабина или ружья, имеющего откидывающийся ствол, соответствующего настоящему изобретению;
Фиг.2 – вид сбоку с продольным разрезом ствольной коробки устройства, показанного на Фиг.1, с собранным в нем фиксатором;
Фиг.3 – вид сбоку с продольным разрезом вилки, показанной на фиг.1, в сборе;
Фиг.4 – увеличенный вид в разрезе оконечной части ствольной коробки, вставленной в вилку в закрытом положении, в альтернативном варианте осуществления изобретения;
Фиг.5 – вид снизу вилки, собранной как показано на фиг.2, с местными разрезами;
Фиг.6 – увеличенный вид с разрезом, выполненным по линии V-V на Фиг.3; и
Фиг.7 – увеличенный вид с разрезом, выполненный по линии VI-VI на Фиг.5.
Обратившись сначала к Фиг.1, отметим, что шарнирное устройство ствола пневматического карабина или ружья, имеющего откидывающийся ствол, согласно настоящему изобретению является устройством типа, содержащего ствольную коробку 10, составляющую единое целое с задней частью ствола 1, указанная ствольная коробка 10 содержит поперечное сквозное отверстие 11 для шарнирного штифта 2, предназначенного для шарнирного крепления ствола 1, и фиксатор 3, предназначенный для запирания его в вилке 20, составляющей единое целое с передним концом камеры 30 воздушного давления. Ствольная коробка 10 соединена с механизмом 40 шарнирных рычагов, приспособленных для сжатия толкающей пружины поршня (не показан) камеры 30 давления. При таком устройстве можно опускать ствол 1 для облегчения заряжания в него метательного снаряда, при этом сам ствол, когда его опускают, используется как рычаг для нагружения пружины поршня камеры 30 давления для обеспечения энергии сжатого воздуха, используемого для высвобождения в момент выстрела для приведения в движение метательного снаряда во внутреннем канале ствола 1, приведенного обратно, в закрытое положение.
Существенным отличительным признаком настоящего изобретения является то, что вилка 20 содержит внутреннюю часть 21 вилки, выполненную формованием, которая имеет две передние ветви и заднюю внешнюю часть, плотно посаженную во входную часть 31 камеры 30 давления, и соединенную с этой частью, которая, в свою очередь, выступает вперед, формированием двух боковых пластин, которые плотно покрывают две передние ветви внутренней части 21 вилки. Это устройство позволяет концентрировать во внутренней части 21 вилки все те описанные ниже сложные конфигурации, которые легко выполнить формованием, предпочтительно инжекционным формованием, пластмассового материала с наполнителями, при этом основные усилия удерживаются входной частью 31 камеры 30 давления и боковыми пластинами, формирующими единое целое с нею, которые получены из металлической трубы простой механической обработкой и плотно покрывают прессованную внутреннюю часть 21 вилки.
Две передние ветви внутренней части 21 вилки содержат проушины 22, которые имеют обращенные друг к другу отверстия 23, 24, приспособленные для размещения шарнирного штифта 2. Одно из этих отверстий 24 имеет многоугольное сечение, например квадратное, для соединения с гайкой 2а соответствующего сечения для резьбового конца шарнирного штифта 2, предотвращающее ее прокручивание при завинчивании. Задняя наружная часть внутренней части 21 вилки содержит цилиндрическую часть 25, снабженную по меньшей мере одним пазом 26 по наружному периметру для размещения кольцевого уплотнительного элемента, например уплотнительного кольца 4, предназначенного для предотвращения утечки сжатого воздуха из камеры 30 давления. Эта цилиндрическая часть 25 также содержит, как это представлено на Фиг.3, по меньшей мере одно поперечное отверстие 27 для установки штифта 5 во входную часть 31, продольное отверстие 25а для прохождения воздуха из камеры 30 давления и удерживающую конфигурацию 28, расположенную на передней поверхности 29, сформированной между проушинами 22, для удерживания фиксатора 3 и ствола 1 в закрытом положении. Продольное отверстие 25а для прохождения воздуха немного суживается и заканчивается самой узкой частью в цилиндрической зенковке 25b, расположенной в передней поверхности 29, причем в указанной цилиндрической зенковке 25b размещена герметизирующая втулка 9, располагаемая против ствола 1 в его закрытом положении.
Боковые пластины, продолжающие входную часть 31 камеры 34 давления, содержат две части передних проушин 32, снабженные отверстиями 33, 34, совпадающими по их конфигурации и местоположению соответственно с отверстиями 23, 24 проушин 22 внутренней части 21 вилки, и все они приспособлены для размещения шарнирного штифта 2. Входная часть 31, кроме того, содержит заднюю трубчатую часть 35, составляющую единое целое с камерой 30 давления, снабженную поперечным отверстием 37 для монтажного штифта 5 для внутренней части 21 вилки, вставляемого в соответствующее поперечное отверстие 27.
Другим отличительным признаком настоящего изобретения является указанная выше ствольная коробка 10, составляющая единое целое с задней частью ствола 1, которая получена формованием с заделкой в ней задней части 1а ствола 1 как вставки. Кроме того, здесь часть, полученная формованием, предпочтительно инжекционным формованием, пластмассового материала с наполнителями, концентрирует в себе все те сложные конфигурации, описанные ниже, которые в другом случае были бы очень дороги при их выполнении механической обработкой, и удерживается на части 1а, как на вставке, и на выступающей части 1b ствола 1, которая является металлической, расположено очень мало простых конфигураций, которые легко выполняются механической обработкой.
Ствольная коробка 10, также показанная на Фиг.2, содержит в дополнение к отверстию 11 для шарнирного штифта 2 продольную выемку 12, открытую с задней части для скользящего вхождения в нее фиксатора 3, и отверстие 13 как шарнирное отверстие для первого рычага 41 рычажного механизма 40. Продольная выемка 12 включает в себя средство для выталкивания наружу и для удерживания в нем фиксатора 3, которое содержит сжимаемую пружину 7, расположенную между дном продольной выемки 12 и задней частью фиксатора 3, и шпильку 8, вставленную в поперечные отверстия 14 ствольной коробки 10 в таком положении, что, как это представлено на Фиг.2, шпилька 8 остается поперек продольной выемки 12 в полости, оставляемой удлиненным углублением За фиксатора 3, при этом указанная шпилька 8 ограничивает скользящее движение фиксатора 3, останавливаемого на концах удлиненного углубления За. Когда ствол 1 закрывают в вилке 20, наклонная нижняя поверхность 3b конца фиксатора 3 кратковременно скользит по удерживающей конфигурации 28 вилки 20, задвигающей фиксатор 3 внутрь выемки 12, пока после прохождения удерживающей конфигурации 28 пружина 7 не вытолкнет наружу фиксатор 3, и верхняя наклонная поверхность 3с его конца не заблокируется под удерживающей конфигурацией 28. Для открывания ствола осуществляется обратный процесс.
Для сохранения правильного выравнивания продольного канала 16 ствола 1 относительно продольного отверстия 25а для прохождения воздуха из внутренней части 21 вилки, когда ствол 1 находится в закрытом положении, передняя поверхность 29, сформированная между проушинами 22, дополнительно содержит опорную поверхность 29а для части 1b ствола, выступающей от задней части ствольной коробки 10, когда ствол 1 находится в закрытом положении, при этом опорная поверхность 29а ограничивает возможные движения выступающей части 1b ствола в стороны и вниз, тогда как фиксатор 3, входящий в зацепление с удерживающей конфигурацией 28, предотвращает движение вверх.
Как представлено на Фиг.5 и 7, внутренняя часть 21 вилки дополнительно содержит два гнезда 50, имеющих многоугольные очертания, например шестиугольные очертания, и достаточную глубину для помещения в них многоугольных гаек 51, типично – шестиугольных гаек, которые, когда внутренняя часть 21 вилки и входная часть 31 камеры 30 давления собраны воедино, остаются удерживаемыми в гнездах 50 стенками задней трубчатой части 35 входной части 31 и удерживаются от проворота посредством соответствия их многоугольной конфигурации многоугольной конфигурации гнезд 50. С другой стороны, в указанной трубчатой части 36 расположены сквозные отверстия 52, которые, когда вилка собрана, совпадают с резьбовыми отверстиями гаек 51, допуская прохождение установочных винтов (не показаны) устройства в корпус конца приклада и ввинчивание в указанные гайки 51. Таким образом, при ввинчивании этих винтов, гайки 51 изнутри прижимаются к металлической трубчатой части 35, устраняя необходимость в выполнении резьбовых отверстий в пластмассовом материале внутренней части 21 вилки для ввинчивания указанных винтов, что, как известно, обеспечивает очень слабое соединение. Как сквозные отверстия 52, так и гнезда 50, предпочтительно, располагаются с радиальной ориентацией в угловых положениях, которые симметричны относительно продольной вертикальной плоскости карабина или ружья.
Другой сложной конфигурацией, включенной в верхнюю часть полученной формованием ствольной коробки 10, является гнездо 17 для закрепления регулируемого прицела. Это гнездо 17 содержит в передней части вырез 17а для приема вставляемого конца упругого язычка прицела (не показан), боковые стенки 17b для ограждения по меньшей мере района, расположенного вблизи указанного конца язычка, и боковые стопоры 17с вблизи выреза 17а, которые могут плотно входить в канавки язычка и запирать его. Верхняя часть ствольной коробки 10 также включает в себя расположенную в ее задней части поперечную направляющую 17b известного типа для помещения в нее основания установочного винта прицела.
В соответствии с альтернативным вариантом, представленным на Фиг.4, конец задней части 1а ствола 1 расположен заподлицо с охватывающей его ствольной коробкой 10, и она имеет на двух ее сторонах и вблизи ее нижней стороны соответствующие широкие, удлиненные в продольном направлении ствола вырезы 70а, 70b, причем эти вырезы способны плотно ложиться в закрытом положении на соответствующие выступы 71а, 71b на внутренней стенке каждой ветви вилки с должным выравниванием ствола и продольного отверстия 25а для прохождения сжатого воздуха.
Следует отметить, что описанный выше пример осуществления изобретения дан только в качестве иллюстрации и, таким образом, он не может интерпретироваться как ограничивающий объем защиты, определенный в формуле изобретения.
Формула изобретения
1. Устройство для шарнирного крепления ствола пневматического карабина или ружья, имеющего откидывающийся ствол типа содержащего ствольную коробку (10), составляющую единое целое с задней частью (1) ствола, причем указанная ствольная коробка (10) содержит отверстие (11) для шарнирного штифта (2) и фиксатор (3), предназначенные соответственно для шарнирного крепления и запирания ствола (1) в вилке (20), составляющей единое целое с передней частью камеры (30) воздушного давления, указанная ствольная коробка (10) соединена с механизмом (40) шарнирных рычагов, приспособленным для сжатия толкающей пружины поршня камеры (30) давления с использованием для этого ствола (1) в качестве рычага, когда его опускают, отличающееся тем, что вилка (20) содержит внутреннюю часть (21) вилки, полученную формовкой, снабженную двумя передними ветвями и задней оконечной частью, плотно вставленной во входную часть (31) камеры (30) давления и соединенной с ней, которая, в свою очередь, выступает вперед двумя боковыми пластинами, которые выполнены плотно покрывающими две передние ветви внутренней части (21) вилки.
2. Устройство по п.1, отличающееся тем, что передние ветви внутренней части (21) вилки содержат две проушины (22), которые имеют обращенные друг к другу отверстия (23, 24), приспособленные для размещения шарнирного штифта (2), тогда как задняя оконечная часть содержит цилиндрическую часть (25), снабженную по меньшей мере одним проходящим по ее периметру наружным пазом (28) для помещения в него кольцевого уплотнительного элемента (4), по меньшей мере одним поперечным отверстием (27) для монтажного штифта (5) во входной части (31), продольным отверстием (25а) для прохождения воздуха из камеры (30) давления и удерживающей конфигурацией (28), расположенной на передней поверхности (29), сформированной между проушинами (22), для удерживания фиксатора (3) в закрытом положении ствола (1), указанные пластины входной части (31) камеры (30) давления содержат две части передних проушин (32), снабженные отверстиями (33, 34), совпадающими соответственно с отверстиями (23, 24) проушин (22) внутренней части (21) вилки, приспособленными для размещения шарнирного штифта (2), указанная входная часть (31) дополнительно содержит заднюю трубчатую часть (35), составляющую единое целое с камерой (30) давления, снабженную поперечным отверстием (37) для установочного винта (5) внутренней части (21) вилки.
3. Устройство по п.1, отличающееся тем, что ствольную коробку (10), составляющую единое целое с задней частью ствола (1), получают формованием с заделкой задней части (1а) ствола (1) как вставки, ствольная коробка (10) содержит в дополнение к указанному отверстию (11) для шарнирного штифта (2) продольную выемку (12), открытую в задней части для скользящего вхождения в нее указанного фиксатора (3), включающую в себя средства, выталкивающие наружу и удерживающие фиксатор (3), и отверстие (13) для шарнирного штифта первого рычага (41) механизма (40) шарнирных рычагов.
4. Устройство по п.3, отличающееся тем, что конец задней части (1а) ствола (1) расположен заподлицо с охватывающей его ствольной коробкой (10) и она имеет с двух сторон и вблизи ее нижней стороны соответствующие широкие удлиненные вырезы (70а, 70b), расположенные в продольном направлении ствола, при этом вырезы способны плотно ложиться в закрытом положении на соответствующие выступы (71а, 71b) на внутренней стенке каждой ветви вилки с должным выравниванием ствола и продольного отверстия (25а) для прохождения сжатого воздуха.
5. Устройство по п.3, отличающееся тем, что передняя поверхность (29), сформированная между проушинами (22), дополнительно содержит опорную поверхность (29а) для выступающей части (1b) ствола в задней части ствольной коробки (10), когда ствол (1) находится в закрытом положении, указанная опорная поверхность (29а) и выступающая часть (1b) ствола взаимодействуют для сохранения выровненного положения продольного канала (16) ствола (1) и продольного отверстия (25а) для прохождения воздуха из внутренней части (21) вилки, когда ствол (1) находится в закрытом положении.
6. Устройство по п.2, отличающееся тем, что цилиндрическая часть (25) внутренней части (21) вилки содержит два гнезда (50), имеющих многоугольные очертания и достаточную глубину для размещения в них многоугольных гаек (51), которые удерживаются в гнездах (50) задней трубчатой частью (35) входной части (31) и предохраняются от вращения посадкой их многоугольной конфигурации в многоугольную конфигурацию гнезд (50), при этом в трубчатой части (35) расположены сквозные отверстия (52), которые, когда вилка собрана, совпадают с резьбовыми отверстиями гаек (51), допуская прохождение установочных винтов устройства в корпус конца приклада.
7. Устройство по п.2, отличающееся тем, что продольное отверстие (25а) для прохождения воздуха из внутренней части (21) вилки немного сужено, заканчивается самой узкой частью в цилиндрической зенковке (25b), выполненной на передней поверхности (29), при этом в цилиндрическую зенковку (25b) помещена втулка (9), обеспечивающая герметизацию относительно ствола (1) в закрытом положении.
8. Устройство по п.3, отличающееся тем, что указанное средство, выталкивающее наружу и удерживающее фиксатор (3) в продольной выемке (12), содержит пружину (7), расположенную между дном продольной выемки (12) и задней частью фиксатора (3), и шпильку (8), вставленную в поперечные отверстия (14) ствольной коробки (10) в таком положении, что шпилька удерживается внутри продольной выемки (12) поперек нее в полости, образованной удлиненным углублением (3а) в фиксаторе (8), и ограничивает скользящее движение фиксатора (3), упираясь в концы удлиненного углубления (За).
9. Устройство по п.3, отличающееся тем, что ствольная коробка (10) содержит расположенное в ее верхней части гнездо (17) для закрепления съемного регулируемого прицела, это гнездо (17) содержит в его передней части вырез (17а) для конца упругого язычка прицела, боковые стенки (17b) для ограждения по меньшей мере района вблизи язычка и боковые стопоры (17с) вблизи выреза (17а), которые выполнены с возможностью плотного вхождения в канавки язычка для его фиксации, и на верхней части ствольной коробки (10), в заднем районе указанной верхней части ствольной коробки (10) расположена поперечная направляющая (17d) для основания установочного винта прицела.
10. Устройство по п.1, отличающееся тем, что внутренняя часть (21) вилки, полученная формованием, получена инжекционным формованием пластмассового материала, снабженного наполнителями.
11. Устройство по п.3, отличающееся тем, что ствольная коробка (10), полученная формованием с заделкой задней части (1а) ствола (1) как вставки, получена инжекционным формованием пластмассового материала, снабженного наполнителями.
РИСУНКИ
|
|