|
|
(21), (22) Заявка: 2004102750/06, 30.01.2004
(24) Дата начала отсчета срока действия патента:
30.01.2004
(43) Дата публикации заявки: 10.07.2005
(45) Опубликовано: 20.02.2006
(56) Список документов, цитированных в отчете о поиске:
SU 1437632 А1, 15.11.1988. SU 1413363 А1, 30.07.1988. SU 1751606 А1, 30.07.1992. RU 1740889 А1, 15.06.1992. SU 1815513 A1, 15.05.1993. US 4662350 A, 05.05.1987.
Адрес для переписки:
410012, г.Саратов, ул. Московская, 155, СГУ, ПЛО, О.И. Куприяновой
|
(72) Автор(ы):
Смирнов Юрий Александрович (RU), Чистик Сергей Михайлович (RU), Паршин Сергей Николаевич (RU), Киселев Сергей Владимирович (RU), Райкевич Александр Иосифович (RU)
(73) Патентообладатель(и):
Киселев Сергей Владимирович (RU), Паршин Сергей Николаевич (RU), Райкевич Александр Иосифович (RU)
|
(54) ПОДОГРЕВАТЕЛЬ ЖИДКИХ ИЛИ ГАЗООБРАЗНЫХ СРЕД
(57) Реферат:
Изобретение относится к устройствам для подогрева газов или жидкостей, а именно к устройствам для низкотемпературного нагрева, и может быть использовано в различных отраслях промышленности, например в газовой – для подогрева природного газа на входе газораспределительных станций с целью предотвращения процесса гидратообразования. Задачей изобретения является повышение эффективности работы устройства за счет увеличения поверхности теплообмена и максимального использования теплового потока от горелочного устройства. Для решения поставленной задачи в подогревателе жидких или газообразных сред, содержащем корпус с расположенными в нем горелочным устройством, каналом для подвода воздуха к нему, теплообменным модулем, включающим коаксиально расположенные внутреннюю и внешнюю трубы, горелочным тоннелем, входной и выходной коллекторы, дымовую трубу, согласно предлагаемому решению теплообменный модуль содержит перегородки, расположенные в полости между внутренней и внешней трубой, образующие каналы, последовательно сообщающиеся между собой, при этом полость между внутренней и внешней трубой с противоположных сторон выполнена заглушенной, горелочный тоннель размещен внутри теплообменного модуля, а канал для подвода воздуха образован внешней трубой теплообменного модуля и боковой стенкой корпуса. Теплообменный модуль содержит, по крайней мере, две перегородки, ориентированные в осевом направлении. Входной и выходной коллекторы расположены со стороны горелочного устройства и соединены с каналами теплообменного модуля. Перегородки теплообменного модуля снабжены отверстиями для последовательного сообщения каналов. Теплообменный модуль содержит дополнительный теплообменный элемент, расположенный в полости внутренней трубы теплообменного модуля и соединяющий его каналы. Подогреватель содержит шибер, расположенный в канале для подвода воздуха вблизи горелочного устройства. Теплообменный модуль содержит ребра для увеличения теплообменной поверхности, расположенные между внутренней и внешней трубой и закрепленные на поверхности внутренней трубы. Стенки корпуса выполнены с теплоизоляцией. 6 з.п.ф-лы, 5 ил. 
Изобретение относится к устройствам для подогрева газов или жидкостей, а именно к устройствам для низкотемпературного нагрева, и может быть использовано в различных отраслях промышленности, например, в газовой – для подогрева природного газа на входе газораспределительных станций с целью предотвращения процесса гидратообразования.
Известен подогреватель газа (патент на изобретение РФ №2061200, МПК F 27 B 5/00), содержащий радиантную и конвективную камеры, разделенные вертикальной перевальной стенкой, трубчатые змеевики, размещенные вертикальными рядами в радиантной и конвективной камерах, излучающие горелки. Перевальная стенка установлена в зазоре между соседними вертикальными рядами труб радиантной и конвективной камер и выполнена из жаростойкого материала с высокой излучающей способностью.
Однако эффективность данной конструкции невелика из-за неравномерности обогрева труб по периметру и длине. Кроме того, наличие специального средства для отвода конденсата водяных паров снижает надежность конструкции.
Известен также подогреватель газа (патент на изобретение РФ №2140045, МПК F 24 H 3/00), содержащий источник греющей среды, кожухотрубный теплообменник с радиационной секцией, экранированной теплообменными трубами, равнорасположенными относительно внутренней стенки кожуха, дымовую трубу, коллекторы входа и выхода нагреваемой среды, внутренний конвективный пучок теплообменных труб, равнорасположенных по радиусам, коаксиальным радиусу расположения экранных труб, при этом все трубы представляют собой вставленные друг в друга трубы, внешние из которых выполнены с глухим концом, обращенным в сторону горелочного устройства, а с другого конца, за пределами дымового короба, рабочие полости каждой из теплообменных труб сообщены съемными патрубками с тороидальными коллекторами входа и выхода нагреваемой среды.
Однако эффективность данной установки невелика из-за вероятного образования конденсата в дымовом канале. Установка имеет высокую металлоемкость и значительные габариты из-за неравномерности обогрева труб по длине и периметру, требует больших затрат на изготовление и применение дорогостоящих жаропрочного сплава и наружного теплоизоляционного материала.
Известен также подогреватель газа (патент РФ №2168121, МПК F 24 H 3/08), содержащий горелочное устройство, дымовую трубу, коллекторы входа и выхода нагреваемой среды, теплообменный модуль в виде вставленных одна в другую труб, внешние из которых выполнены с глухим концом, обращенным в сторону горелочного устройства, а с другого конца за пределами дымового короба рабочие полости каждой из труб сообщены двумя съемными патрубками с коллекторами входа и выхода. По всей длине теплообменного модуля размещен дополнительный внутренний пояс экранирующих труб, коаксиальный наружному поясу труб, при этом трубы в радиальном направлении движения греющей среды расположены в шахматном порядке.
Недостатком данной конструкции является недостаточная эффективность из-за вероятного образования конденсата в дымовом канале. Кроме того, установка имеет высокую металлоемкость, значительные габариты, а также низкий коэффициент полезного действия.
Наиболее близким к заявленному является подогреватель газа (св-во на полезную модель РФ №27194, МПК F 24 H 3/08), содержащий кольцевую горелку, дымовую трубу, входной и выходной газовые коллекторы, теплообменный модуль, расположенный в корпусе и выполненный в виде коаксиально расположенных внутренней трубы и внешней, заглушенной со стороны горелочного устройства, цилиндрический вкладыш для разделения воздушного и дымового потоков, внутреннюю и внешнюю цилиндрические обечайки, образующие горелочный тоннель и расположенные между цилиндрическим вкладышем и теплообменным модулем в нижней части корпуса.
Недостатком данной конструкции является малая поверхность теплосъема в самой высокотемпературной зоне горения и малоразвитая поверхность теплообмена нагреваемой среды, что существенно снижает эффективность работы установки.
Задачей изобретения является повышение эффективности работы устройства за счет увеличения поверхности теплообмена и максимального использования теплового потока от горелочного устройства.
Поставленная задача достигается созданием наилучших условий для обеспечения максимального теплового потока к нагреваемой среде, а также за счет создания более развитой поверхности отбора тепла из зоны горения. Это обеспечивается расположением горелочного устройства внутри теплообменного модуля, созданием каналов в теплообменном модуле, введением дополнительного теплообменного элемента в зону максимального теплового потока, наличием ребер в кольцевом пространстве теплообменного модуля.
Для решения поставленной задачи в подогревателе жидких или газообразных сред, содержащем корпус с расположенными в нем горелочным устройством, каналом для подвода воздуха к нему, теплообменным модулем, включающим коаксиально расположенные внутреннюю и внешнюю трубы, горелочным тоннелем, входной и выходной коллекторы, дымовую трубу, согласно предлагаемому решению теплообменный модуль содержит перегородки, расположенные в полости между внутренней и внешней трубой, образующие каналы, последовательно сообщающиеся между собой, при этом полость между внутренней и внешней трубой с противоположных сторон выполнена заглушенной, горелочный тоннель размещен внутри теплообменного модуля, а канал для подвода воздуха образован внешней трубой теплообменного модуля и боковой стенкой корпуса.
Теплообменный модуль содержит, по крайней мере, две перегородки, ориентированные в осевом направлении.
Входной и выходной коллекторы расположены со стороны горелочного устройства и соединены с каналами теплообменного модуля.
Перегородки теплообменного модуля снабжены отверстиями для последовательного сообщения каналов.
Теплообменный модуль содержит дополнительный теплообменный элемент, расположенный в полости внутренней трубы теплообменного модуля и соединяющий его каналы.
Подогреватель содержит шибер, расположенный в канале для подвода воздуха вблизи горелочного устройства.
Теплообменнный модуль содержит ребра для увеличения теплообменной поверхности, расположенные между внутренней и внешней трубой и закрепленные на поверхности внутренней трубы.
Стенки корпуса выполнены с теплоизоляцией.
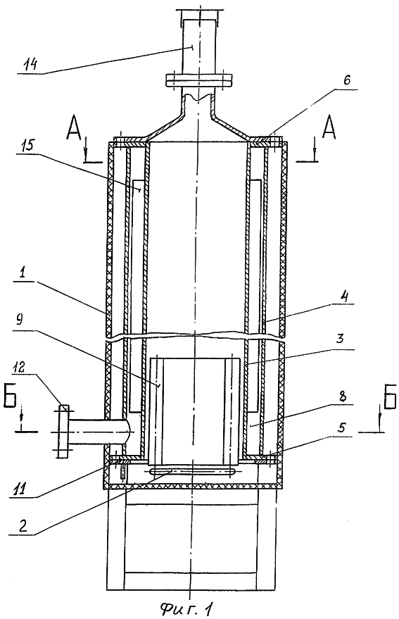
Сущность предлагаемого технического решения поясняется чертежами, где представлены: на фиг.1 – заявляемое устройство (продольный разрез); на фиг.2, 3 – заявляемое устройство (поперечный разрез А-А и Б-Б соответственно); на фиг.4, 5 – вариант выполнения подогревателя с дополнительным теплообменным элементом (продольный и поперечный разрезы соответственно).
Позициями на чертежах обозначены: 1 – корпус, 2 – горелочное устройство, 3 – теплообменный модуль, 3 – внутренняя труба, 4 – внешняя труба, 5, 6 – заглушки, 7 – перегородки, 8 – каналы теплообменного модуля, 9 – горелочный тоннель, 10 – канал для подвода воздуха, 11 – шибер, 12 – входной коллектор, 13 – выходной коллектор, 14 – дымовая труба, 15 – ребра теплообменного модуля, 16 – отверстия в перегородках, 17 – дополнительный теплообменный элемент.
Подогреватель содержит: корпус, например, цилиндрический 1, стенки которого выполнены с теплоизоляцией, в котором расположены горелочное устройство 2, теплообменный модуль, состоящий из коаксиально расположенных внутренней 3 и внешней 4 труб, в кольцевом пространстве которых находятся заглушки 5 и 6 и перегородки 7, образующие каналы 8 протока подогреваемой среды, последовательно сообщаемые между собой, горелочный тоннель 9, расположенный в полости внутренней трубы 3 теплообменного модуля, канал 10 для подвода воздуха к горелочному устройству 2, образованный боковой стенкой корпуса 1 и внешней трубой теплообменного модуля 4, в котором со стороны горелочного устройства расположен шибер 11. Подогреватель содержит также входной 12 и выходной 13 коллекторы, ориентированные перпендикулярно по отношению к теплообменному модулю и подсоединены со стороны горелочного устройства 2 к каналам подогреваемой среды 8. Теплообменный модуль соединен с дымовой трубой 14. Для увеличения площади теплообмена подогреваемой среды теплообменный модуль содержит ребра 15, расположенные вдоль наружной поверхности внутренней трубы 3.
Последовательное сообщение каналов протока подогреваемой среды в теплообменном модуле может быть выполнено или посредством отверстий 16 в перегородках 7 или посредством дополнительных теплообменных элементов 17, расположенных в полости внутренней трубы 3.
Подогреватель, например, газа работает следующим образом. Подогреваемый газ через входной коллектор 12 поступает в каналы 8 кольцевого пространства между внутренней 3 и внешней 4 трубами теплообменного модуля. Пройдя последовательно через все каналы, сообщающиеся между собой при помощи отверстия 16 или при помощи дополнительных теплообменных элементов 17, подогретый газ поступает в выходной коллектор 13, а затем в обвязочные трубопроводы (на чертежах не показаны) и на редуцирование в газораспределительную станцию или к потребителю.
Обогрев внутренней 3 и внешней 4 труб теплообменного модуля осуществляется тепловым излучением горелочного тоннеля 9 горелки 2, при этом расположение горелки внутри теплообменного модуля обеспечивает его обогрев изнутри. Кроме этого, в конструкции предусмотрено увеличение длины пути, проходимого потоком подогреваемой среды в процессе теплообмена за счет наличия в конструкции теплообменного модуля нескольких, например четырех, перегородок 7, образующих каналы теплообмена, увеличение площади теплообмена за счет наличия ребер 15, а также предусмотрена возможность установки в полости внутренней трубы 3 дополнительных теплообменных элементов 17, например, в виде змеевиков, которые обогреваются как излучением горелочного тоннеля 9, так и потоком продуктов горения, перемещающихся от горелки 2 в горелочный тоннель 9 и из горелочного тоннеля 9 к дымовой трубе 14. Поддержание необходимого по технологии температурного режима осуществляется путем сжигания топлива, подаваемого на горелку 2. Топливо поступает в горелочный тоннель 9, в котором смешивается с воздухом, поступающим по каналу, образованному внутренней поверхностью теплоизоляционной стенки корпуса 1 и наружной поверхностью внешней трубы 4 теплообменного модуля. Количество расходуемого воздуха на горение регулируется шибером 11.
Предлагаемый подогреватель имеет по сравнению с известными аналогами большую производительность за счет более развитой поверхности теплообмена. Кроме того, в заявляемом устройстве более рационально используется тепло от сгораемого топлива за счет нагрева теплообменного модуля изнутри. Расположение шибера рядом с горелкой упрощает регулировку расхода воздуха для поддержания оптимального процесса горения топлива.
Формула изобретения
1. Подогреватель жидких или газообразных сред, содержащий корпус с расположенными в нем горелочным устройством, каналом для подвода воздуха к нему, теплообменным модулем, включающим коаксиально расположенные внутреннюю и внешнюю трубы, горелочным тоннелем, входной и выходной коллекторы, дымовую трубу, отличающийся тем, что теплообменный модуль содержит, по крайней мере, две перегородки, ориентированные в осевом направлении, расположенные в полости между внутренней и внешней трубой, образующие каналы, последовательно сообщающиеся между собой, при этом полость между внутренней и внешней трубой с противоположных сторон выполнена заглушенной, горелочный тоннель размещен внутри теплообменного модуля, а канал для подвода воздуха образован внешней трубой теплообменного модуля и боковой стенкой корпуса.
2. Подогреватель по п.1, отличающийся тем, что входной и выходной коллекторы расположены со стороны горелочного устройства и соединены с каналами теплообменного модуля.
3. Подогреватель по п.1, отличающийся тем, что перегородки теплообменного модуля снабжены отверстиями для последовательного сообщения каналов.
4. Подогреватель по п.1, отличающийся тем, что теплообменный модуль содержит дополнительный теплообменный элемент, расположенный в полости внутренней трубы теплообменного модуля и соединяющий его каналы.
5. Подогреватель по п.1, отличающийся тем, что он содержит шибер, расположенный в канале для подвода воздуха вблизи горелочного устройства.
6. Подогреватель по п.1, отличающийся тем, что теплообменнный модуль содержит ребра для увеличения теплообменной поверхности, расположенные между внутренней и внешней трубой и закрепленные на поверхности внутренней трубы.
7. Подогреватель по п.1, отличающийся тем, что стенки корпуса выполнены с теплоизоляцией.
РИСУНКИ
|
|