|
|
(21), (22) Заявка: 2004109907/06, 31.03.2004
(24) Дата начала отсчета срока действия патента:
31.03.2004
(30) Конвенционный приоритет:
01.04.2003 DE 10314836.1
(43) Дата публикации заявки: 20.09.2005
(45) Опубликовано: 20.02.2006
(56) Список документов, цитированных в отчете о поиске:
RU 2200904 C1, 20.03.2003. RU 2118754 C1, 10.09.1998. SU 539512 A, 01.01.1977. SU 673478 A, 15.07.1979. RU 14893 U1, 10.09.2000. DE 19720282 A1, 19.11.1998. US 6540150 B1, 01.04.2003. US 3232535 A, 01.02.1966.
Адрес для переписки:
103735, Москва, ул. Ильинка, 5/2, ООО “Союзпатент”, пат.пов. Ю.В.Пинчуку, рег.№ 656
|
(72) Автор(ы):
КОЛЬМЕР Андреас (DE), ШЛЕХТ Патрик (DE), ВАГНЕР Юрген (DE)
(73) Патентообладатель(и):
И.ЭБЕРШПЕХЕР ГМБХ УНД КО.КГ (DE)
|
(54) ГОРЕЛКА ДЛЯ ОТОПИТЕЛЯ И ОТОПИТЕЛЬ, В ЧАСТНОСТИ АВТОМОБИЛЬНЫЙ
(57) Реферат:
Изобретение относится к горелке для отопителя. Горелка для отопителя, в частности автомобильного, содержит камеру (18) сгорания и отводящую продукты сгорания из камеры (18) сгорания жаровую трубу (22) с приближенной к камере (18) сгорания входной зоной (28), из которой продукты сгорания поступают в жаровую трубу (22), и выходной зоной (36), в которую продукты сгорания выходят из жаровой трубы (22), а также, по меньшей мере, одну промежуточную выходную зону (42) между входной (28) и выходной (36) зонами, в которую из жаровой трубы (22) может выходить часть продуктов сгорания, причем жаровая труба (22) имеет, по меньшей мере, в одной промежуточной выходной зоне (42), по меньшей мере, одно промежуточное выходное отверстие (44), при этом жаровая труба (22) имеет, по меньшей мере, два отрезка (24, 26), а в переходной зоне (38) между лежащим против потока по отношению к направлению (R) течения продуктов сгорания в жаровой трубе (22) отрезком (24) и лежащим по течению потока отрезком (26) предусмотрено, по меньшей мере, одно промежуточное выходное отверстие (44), причем расположенный против потока отрезок (24) жаровой трубы имеет большее сечение, чем расположенный по течению потока отрезок (26). Расположенный по течению потока отрезок (26) жаровой трубы входит в расположенный против потока отрезок (24) жаровой трубы и, по меньшей мере, часть промежуточного выходного отверстия (44) выполнена в зоне нахлеста расположенного против потока и расположенного по течению потока отрезков (24, 26) жаровой трубы. Расположенный по течению потока отрезок (26) жаровой трубы выполнен с возможностью удержания, по меньшей мере, одним несущим участком (46) на расположенном против потока участке (24). Расположенный против потока и расположенный по течению потока отрезки (24, 26) жаровой трубы выполнены, по существу, цилиндрическими. Изобретение позволяет достичь улучшенной и более равномерной теплоотдачи от продуктов сгорания в отопителях. 2 н. и 7 з.п. ф-лы, 6 ил. 
Настоящее изобретение относится к горелке для отопителя, в частности автомобильного, содержащей камеру сгорания и отводящую продукты сгорания из камеры сгорания жаровую трубу приближенной к камере сгорания входной зоной, в которой продукты сгорания поступают в жаровую трубу, и выходной зоной, в которой продукты сгорания выходят из жаровой трубы, и относится далее к содержащему такую горелку отопителю, в частности автомобильному.
У автомобильных отопителей, выполненных для взаимодействия с удлиненным теплообменником, известно, что выходящие из камеры сгорания газы направляют через удлиненную, выполненную, по существу, цилиндрической жаровую трубу сначала в направлении от камеры сгорания, а именно к зоне днища, охватывающего эту жаровую трубу, выполненного, по существу, в виде горшка корпуса теплообменника. В этой зоне днища выходящие в выходной зоне из жаровой трубы продукты сгорания, которые переносят передаваемое на нагреваемую среду тепло, отклоняют, так что они поступают обратно вдоль промежуточного пространства, образованного между внешней стороной жаровой трубы и внутренней стороной корпуса теплообменника, и передают при этом тепло на корпус теплообменника и, тем самым, на циркулирующую в нем нагреваемую среду, прежде чем они будут отданы системе очистки отходящих газов и т.п. У сравнительно длинных корпусов теплообменников или соответственно длинных жаровых труб это приводит, в частности, к тому, что отклоненные однажды в зоне дна корпуса теплообменника и текущие затем обратно продукты сгорания все больше теряют тепло, в результате чего теплопередача на нагреваемую среду ухудшается в процессе обратного течения продуктов сгорания.
Задачей настоящего изобретения является создание горелки для отопителя, в частности автомобильного, с помощью которого можно достичь улучшенной и более равномерной теплоотдачи от продуктов сгорания.
Согласно изобретению эта задача решена посредством горелки для отопителя, в частности автомобильного, содержащей камеру сгорания и отводящую продукты сгорания из камеры сгорания жаровую трубу с приближенной к камере сгорания входной зоной, в которой продукты сгорания поступают в жаровую трубу, и выходной зоной, в которой продукты сгорания выходят из жаровой трубы, и содержащего, по меньшей мере, одну промежуточную выходную зону между входной и выходной зонами, в которой часть продуктов сгорания может выходить из жаровой трубы.
За счет образования, по меньшей мере, одной промежуточной выходной зоны достигается распределение покидающих камеру сгорания с очень высокой температурой продуктов сгорания для нагрева циркулирующей в теплообменнике текучей среды по длине жаровой трубы, так что и в промежуточной зоне или в лежащей ближе к камере сгорания зоне жаровой трубы могут быть получены продукты сгорания с более высокой температурой для передачи тепла на нагреваемую среду. Вследствие этого вся имеющаяся в распоряжении для теплопередачи поверхность корпуса теплообменника может быть использована эффективнее, а, кроме того, более равномерная передача температуры на нагреваемую среду может привести к более определенным температурным условиям у этой покидающей тогда теплообменник среды.
Например, может быть предусмотрено, что жаровая труба имеет, по меньшей мере, в одной промежуточной выходной зоне, по меньшей мере, одно промежуточное выходное отверстие.
Для образования, по меньшей мере, одной промежуточной выходной зоны возможно, чтобы жаровая труба имела, по меньшей мере, два отрезка и что в переходной зоне между расположенным против потока по отношению к направлению течения продуктов сгорания в жаровой трубе отрезком и расположенным по потоку отрезком было предусмотрено, по меньшей мере, одно промежуточное выходное отверстие. При этом выход продуктов сгорания из жаровой трубы в этой зоне может быть обеспечен очень простым образом за счет того, что в переходной зоне отверстие между отрезками жаровой трубы образует, по меньшей мере, часть промежуточного выходного отверстия.
В одной особенно предпочтительной форме выполнения может быть предусмотрено, что расположенный против потока отрезок жаровой трубы имеет большее сечение, чем расположенный по течению потока отрезок, причем тогда расположенный по течению потока отрезок жаровой трубы преимущественно входит в расположенный против потока отрезок жаровой трубы и, по меньшей мере, часть промежуточного выходного отверстия предусмотрена в зоне нахлеста расположенного против и расположенного по течению потока отрезков жаровой трубы. Это выполнение имеет то особое преимущество, что продукты сгорания, и без того поступающие в продольном направлении расположенного против потока отрезка жаровой трубы, могут поступать в образованную между обоими отрезками жаровой трубы кольцеобразную зону нахлеста без предварительного отклонения, так что исключена также опасность подпора потока. Далее выполнение жаровой трубы с отрезками разного сечения имеет следствием то, что на лежащем ближе к входной зоне отрезке жаровой трубы последняя имеет больший наружный размер, чем в зоне, близкой к выходной зоне. Вследствие этого также обтекаемое пространство, образованное между внешней периферией жаровой трубы и внутренней поверхностью окружающего ее корпуса теплообменника, имеет соответствующее изменение сечения, а именно в том смысле, что в зоне этого обтекаемого пространства, лежащей близко к выходной зоне, имеется большая площадь сечения потока, чем в лежащей ближе к входной зоне жаровой трубы зоне этого обтекаемого пространства. Таким образом, можно учесть тот факт, что протекающие через это обтекаемое пространство продукты сгорания становятся холоднее и, тем самым, их объем уменьшается, так что даже при уже более холодных и занимающих, следовательно, меньший объем продуктах сгорания может быть достигнут более эффективный теплоперенос. Для того чтобы различные отрезки жаровой трубы можно было удерживать в определенном положении по отношению друг к другу, предложено, что расположенный по течению потока отрезок жаровой трубы удерживается, по меньшей мере, одним несущим участком расположенного против потока отрезка жаровой трубы.
В одном технологически особенно простом реализуемом варианте выполнения предложено далее, что расположенные против и по течению потока отрезки жаровой трубы выполнены, по существу, цилиндрическими. Таким образом, можно получать оба отрезка жаровой трубы просто путем отпиливания стальных труб.
В другом варианте выполнения может быть предусмотрено, что, по меньшей мере, одно промежуточное выходное отверстие выполнено в наружной стенке жаровой трубы.
Согласно другому аспекту поставленная задача решена посредством отопителя, в частности автомобильного, содержащего горелку, а также посредством теплообменника, в корпус которого входит жаровая труба.
Для того чтобы в случае, когда жаровая труба образована несколькими отрезками, можно было простым образом обеспечить их определенное закрепление, предложено, что на обращенной к жаровой трубе стороне корпуса теплообменника предусмотрена несущая конструкция для удержания, по меньшей мере, одного отрезка жаровой трубы. При этом, например, можно предусмотреть на корпусе теплообменника несколько проходящих в продольном направлении жаровой трубы ребер и что несущая конструкция содержит, по меньшей мере, часть ребер. В целом, подобные ребра выполнены на корпусах теплообменников, для того чтобы можно было увеличить поверхность теплопереноса и одновременно задать определенное направление потока для продуктов сгорания.
У одной особенно просто реализуемой формы выполнения может быть затем предусмотрено, что, по меньшей мере, один отрезок жаровой трубы удерживается между несколькими распределенными по его периферии ребрами за счет зажимного действия. В качестве альтернативы или дополнительно к этому возможно, чтобы, по меньшей мере, один отрезок жаровой трубы удерживался, по меньшей мере, на одном из ребер посредством заклепочного, резьбового соединения и т.п.
Настоящее изобретение подробно описано ниже со ссылкой на прилагаемые чертежи, на которых изображено
фиг.1 – продольный разрез горелки согласно изобретению в сочетании с теплообменником;
фиг.2 – альтернативный вариант выполнения согласно фиг.1;
фиг.3 – альтернативный вариант выполнения согласно фиг.1;
фиг.4 – сечение устройства согласно фиг.3 по стрелке IV на фиг.3;
фиг.5 – вид жаровой трубы радиально снаружи в альтернативном варианте выполнения;
фиг.6 – разрез жаровой трубы согласно фиг.5 по линии VI-VI на фиг.5.
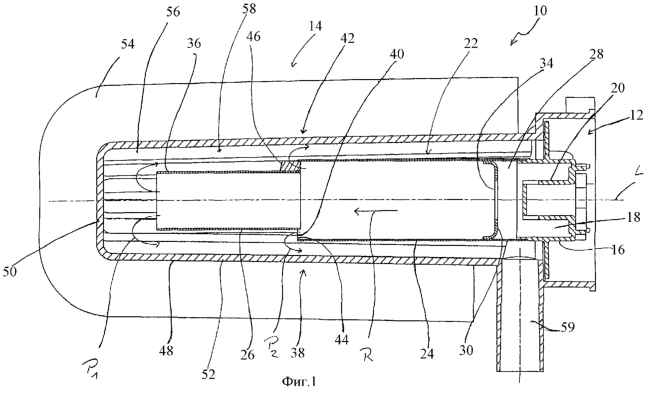
На фиг.1 части выполненного в соответствии с принципами настоящего изобретения автомобильного отопителя 10 изображены в продольном разрезе, т.е. разрезаны вдоль продольной средней оси L. Автомобильный отопитель 10 содержит горелку 12, а также теплообменник 14, из которых показаны, соответственно, только важные для понимания принципа настоящего изобретения компоненты.
Горелка 12 имеет выполненный, по существу, в виде горшка корпус 16, в котором образована камера 18 сгорания. По расположенному по центру в корпусе 16 камеры сгорания впускному патрубку 20 воздух для горения под транспортирующим действием воздуходувки (не показана) подается в камеру 18 сгорания. По топливоподводящему трубопроводу (не показан) подается топливо, так что в камере 18 сгорания образуется способная к воспламенению или сгоранию топливовоздушная смесь. Эта доведенная до горения посредством элемента для калильного зажигания смесь создает пламя и отработавшие газы, которые покидают камеру 18 сгорания с левой на фиг.1 стороны и поступают в жаровую трубу 22.
Изображенная на фиг.1 жаровая труба 22 имеет два выполненных, по существу, цилиндрическими отрезка 24, 26. Видно, что оба этих отрезка 24, 26 жаровой трубы имеют разные сечения. Отрезок 24 большего сечения, расположенный против течения по отношению к направлению R течения продуктов сгорания в жаровой трубе 22, примыкает к корпусу 16 камеры сгорания или соединен с ним и образует входную зону 28 жаровой трубы 22, в которой продукты сгорания поступают в жаровую трубу 22. В этой входной зоне 28 или вблизи нее в жаровой трубе 22 расположена далее жаровая заслонка 30 с центральным сквозным отверстием 34 для продуктов сгорания.
Отрезок 26 жаровой трубы, имеющий меньшее сечение, чем расположенный против течения отрезок 24, образует на своем удаленном от камеры 18 сгорания концевом участке выходную зону 36 жаровой трубы 22, в которой протекающие вплоть до этой выходной зоны 36 продукты сгорания выходят из жаровой трубы 22, как это обозначено стрелками P1.
В переходной зоне 38 между обоими отрезками 24, 26 жаровой трубы оба этих отрезка 24, 26 расположены с нахлестом, так что между ними образуется кольцеобразный открытый участок 40. Этот открытый участок 40 образует промежуточную выходную зону 42, в которой, как это обозначено стрелками P2, из жаровой трубы 22 могут выходить также продукты сгорания, протекающие вдоль расположенного против течения отрезка 24, а именно в близкой к стенке зоне. В этой промежуточной выходной зоне 42, в которой упомянутый открытый участок 40 образует промежуточное выходное отверстие 44, оба отрезка 24,26 жаровой трубы удерживаются также друг на друге. Для этого, например, на расположенном по течению потока отрезке 26, в нескольких положениях по периферии предусмотрены выступающие наружу несущие участки 46, которые, например, припаяны, приклеены к ним или фиксированы иным образом и, как отрезок 26, входят в отрезок 24, удерживая, тем самым, оба отрезка 24, 26 жаровой трубы по отношению друг к другу. Здесь фиксация на отрезке 24 может происходить путем припаивания и т.п.
Из теплообменника 14 на фиг.1 изображен только его внутренний корпус 48. Последний имеет, по существу, выполненную в виде горшка конструкцию с дном 50 и периферийной стенкой 52. На внешней стороне дна 50 и периферийной стенке 52 предусмотрены так называемые внешние ребра 54, которые направляют циркулирующую в теплообменнике 14, нагреваемую среду и переносят на нее тепло. На внутренней стороне корпуса 48 теплообменника, т.е. на обращенной к жаровой трубе 22 стороне, предусмотрены так называемые внутренние ребра 56, которые простираются от дна 50 в продольном направлении жаровой трубы 22, по существу, по всей длине корпуса 48 теплообменника или его периферийной стенки 52. Эти внутренние ребра 56 служат для того, чтобы увеличить площадь теплопереноса, на которой тепло от покидающих жаровую трубу 22 продуктов сгорания передается на корпус 48 теплообменника, а также для того, чтобы задать текущим обратно к выпускному патрубку 59 продуктам сгорания определенное направление течения.
В режиме отопления покидающие камеру 18 сгорания продукты сгорания поступают во входной зоне 28 через центральное отверстие 34 жаровой заслонки 30 сначала в расположенный против течения потока отрезок 24 жаровой трубы 22 и текут в направлении R к переходной зоне 38. Часть продуктов сгорания выходит из жаровой трубы 22 в промежуточной выходной зоне 42. Оставшаяся часть попадает в расположенный по течению потока потоку отрезок 26, выходит из жаровой трубы 22 в выходной зоне 36 и отклоняется там дном 50, чтобы затем течь обратно по внешней стороне жаровой трубы 22 вдоль промежуточного пространства 58, образованного между внешней стороной жаровой трубы 22 и периферийной стенкой 52 корпуса 48 теплообменника. За счет разделения потока продуктов сгорания на два частичных потока достигается то, что не только в выходной зоне 36 очень горячие продукты сгорания вступают в контакт с корпусом 48 теплообменника, а затем при обратном течении охлаждаются, но и также в промежуточной области, а именно в области, где находится промежуточная выходная зона 42, очень горячие продукты сгорания, которые предварительно еще не способствовали нагреву корпуса 48 теплообменника, попадают в промежуточное пространство 58, а затем вместе с выходящими в выходной зоне 36 продуктами сгорания текут обратно. Это повышает температуру нагревающих корпус 48 теплообменника продуктов сгорания в той зоне промежуточного пространства 58, которая находится между отрезком 24 жаровой трубы и периферийной стенкой 52 корпуса 48 теплообменника. На основе этого может быть достигнут более равномерный теплоперенос на корпус 48 теплообменника и, тем самым, циркулирующую в ней, нагреваемую среду. Далее видно, что за счет выполнения обоих отрезков 24, 26 жаровой трубы с уменьшающимся в направлении R течения сечением промежуточное пространство 58 также имеет разные сечения. В той зоне, где оно охватывает отрезок 26 жаровой трубы, промежуточное пространство 58 имеет большее сечение, чем в той зоне, где находится отрезок 24. Из этого следует, что для протекающих уже близко к выпускному патрубку 59 и уже заметно более холодных продуктов сгорания, занимающих также меньший объем (при данных условиях давления), имеется соответственно меньшее пропускное сечение, вследствие чего по всей длине промежуточного пространства 58 происходит более равномерный теплоперенос на корпус 48 теплообменника.
На фиг.2 изображен альтернативный вариант выполнения отопителя 10. Далее подробно описаны имеющиеся отличия от формы выполнения на фиг.1, которые имеются в зоне крепления отрезка 26 жаровой трубы меньшего сечения.
На фиг.2 видно, что внутренние ребра 56 на своем идущем от дна 50 участке 60 имеют, исходя от периферийной стенки 52 корпуса 48 теплообменника, большую длину протяженности, чем на лежащем по течению потока участке 62 (по течению потока по отношению к направлению течения продуктов сгорания в промежуточном пространстве 58).
Участок 60 внутренних ребер 56 простирается также по части длины жаровой трубы. Ребра 56 рассчитаны на этом участке 60 так, что их направленные радиально внутрь поверхности 64 образуют опорную поверхность для отрезка 26 жаровой трубы, так что он зажат между распределенными в направлении периферии вокруг него внутренними поверхностями 64 участков 60 внутренних ребер 56. Для улучшения этого зажимного действия на отрезке 26 жаровой трубы может быть выполнен продольный шлиц 66. При вводе отрезка 26 жаровой трубы в участки 60 ребер он сжимается в направлении периферии, так что он после ввода и отпускания надежно удерживается на участках 60 ребер за счет своего разжимного действия. Таким образом, можно достичь надежного закрепления отрезка 26 жаровой трубы без необходимости использования соединительного устройства, уменьшающего сечение промежуточного выходного отверстия 44. Обеспечивается также компенсация различных тепловых расширений между изготовленным, например, из алюминия теплообменником и изготовленной, например, из стали жаровой трубой. В частности, форма внутренних ребер 56, по меньшей мере, на участке 60 может быть такой, что предусматриваемый при осуществлении процесса литья скос для извлечения из формы имеет только очень малый угол, так что, по меньшей мере, на том участке, где образована выходная зона 36 на отрезке 26 жаровой трубы, создается прочное зажимное действие клинообразно сужающихся друг к другу внутренних поверхностей 64 на отрезке 26 жаровой трубы.
Другой альтернативный вариант отопителя согласно изобретению изображен на фиг.3 и 4. Также ниже подробно перечислены только отличия, имеющиеся в зоне крепления отрезка 26 жаровой трубы.
Из фиг.3 также очевидно, что внутренние ребра 56 на своем простирающемся вдоль отрезка 26 жаровой трубы участке 60 простираются дальше радиально внутрь, чем на окружающем отрезок 24 жаровой трубы участке 62 ребер. Переход между обоими участками 60, 62 ребер предусмотрен, однако, по существу, также в переходной зоне 38 между обоими отрезками 24, 26 жаровой трубы. Отрезок 26 жаровой трубы содержит в своей примыкающей к отрезку 24 концевой зоне в нескольких местах по периферии согнутые радиально наружу крепежные лапки 68. На ступенчатом переходе 70 между обоими участками 60, 62 ребер в изображенном примере предусмотрены проходящие приблизительно в направлении продольной средней оси L заклепки 72, которые проходят сквозь отверстия в лапках 68 и после деформации прочно удерживают лапки 68 и, тем самым, отрезок 26 жаровой трубы на внутренних ребрах 56. Дополнительно участки 60 ребер могут быть рассчитаны так, что они своими внутренними поверхностями прочно прилегают к отрезку 26 жаровой трубы, так что приводящие к стуку движения отрезка 26 жаровой трубы возникнуть не могут. Здесь следует указать на то, что, само собой, крепление лапок 68 на внутренних ребрах 56 может происходит необязательно посредством заклепок, а также посредством винтов и т.п. При использовании заклепок они могут быть выполнены глухими, однако могут представлять собой также заклепки, отформованные на ступенчатом переходе 70.
Само собой, отопитель согласно изобретению или горелка 12 может быть видоизменена для этого в самых различных зонах. Так, само собой, возможны более двух отрезков жаровой трубы и, тем самым, также более одной промежуточной выходной зоны.
У другого, изображенного на фиг.5 и 6 варианта выполнения согласно изобретению жаровая труба 22 может быть выполнена в виде одного сплошного отрезка материала. Для образования промежуточной выходной зоны 42 в стенке этой жаровой трубы 22 могут быть вырезаны или вырублены U-образные прорези 74, так что тогда отверстие U позиционировано по течению потока по отношению к направлению R течения продуктов сгорания в жаровой трубе 22. Образованную тогда таким образом лапку 76 загибают внутрь, так что она, как видно на фиг.6, направлена в пространственную зону, окруженную жаровой трубой 22 и обтекаемую в направлении R продуктами сгорания. На освобожденном лапкой 76 участке образовано промежуточное выходное отверстие 44. Продукты сгорания, протекающие вдоль стенки жаровой трубы 22 в направлении R, отклоняются радиально наружу за счет отклоняющего действия загнутой во внутреннее пространство жаровой трубы 22 лапки 76 и поступают, таким образом, в промежуточное пространство 58, описанное со ссылкой на предыдущие варианты выполнения. Помимо предельно просто реализуемой конструкции эта форма выполнения на фиг.5 и 6 имеет то преимущество, что за счет образования подобных лапок 76 в любом положении жаровой трубы может быть образован целый ряд промежуточных выходных отверстий 44, положение и плотность которых может быть приведены в соответствие с особыми требованиями, задающими выход продуктов сгорания в промежуточные зоны.
Возможно также асимметричное распределение промежуточных выходных отверстий 44 по периферии жаровой трубы 22 у различных изображенных форм выполнения для компенсации асимметрий течения продуктов сгорания.
Само собой, изображенный на фиг.5 и 6 вариант выполнения может быть комбинирован с вариантами, описанными выше со ссылкой на фиг.1-4.
Формула изобретения
1. Горелка для отопителя, в частности автомобильного, содержащая камеру (18) сгорания и отводящую продукты сгорания из камеры (18) сгорания жаровую трубу (22) с приближенной к камере (18) сгорания входной зоной (28), из которой продукты сгорания поступают в жаровую трубу (22), и выходной зоной (36), в которую продукты сгорания выходят из жаровой трубы (22), а также, по меньшей мере, одну промежуточную выходную зону (42) между входной (28) и выходной (36) зонами, в которую из жаровой трубы (22) может выходить часть продуктов сгорания, причем жаровая труба (22) имеет, по меньшей мере, в одной промежуточной выходной зоне (42), по меньшей мере, одно промежуточное выходное отверстие (44), при этом жаровая труба (22) имеет, по меньшей мере, два отрезка (24, 26), а в переходной зоне (38) между лежащим против потока по отношению к направлению (R) течения продуктов сгорания в жаровой трубе (22) отрезком (24) и лежащим по течению потока отрезком (26) предусмотрено, по меньшей мере, одно промежуточное выходное отверстие (44), причем расположенный против потока отрезок (24) жаровой трубы имеет большее сечение, чем расположенный по течению потока отрезок (26).
2. Горелка по п.1, отличающаяся тем, что расположенный по течению потока отрезок (26) жаровой трубы входит в расположенный против потока отрезок (24) жаровой трубы и, по меньшей мере, часть промежуточного выходного отверстия (44) выполнена в зоне нахлеста расположенного против потока и расположенного по течению потока отрезков (24, 26) жаровой трубы.
3. Горелка по п.1, отличающаяся тем, что расположенный по течению потока отрезок (26) жаровой трубы выполнен с возможностью удержания, по меньшей мере, одним несущим участком (46) на расположенном против потока участке (24).
4. Горелка по п.1, отличающаяся тем, что расположенный против потока и расположенный по течению потока отрезки (24, 26) жаровой трубы выполнены, по существу, цилиндрическими.
5. Отопитель, в частности автомобильный, содержащий горелку (12) по п.1, а также теплообменник (14) с корпусом (48), в который направлена жаровая труба (22).
6. Отопитель по п.5, отличающийся тем, что на обращенной к жаровой трубе (22) стороне корпуса (48) теплообменника расположена несущая конструкция (60) для закрепления, по меньшей мере, одного отрезка (26) жаровой трубы.
7. Отопитель по п.6, отличающийся тем, что на корпусе (48) теплообменника расположено несколько простирающихся в продольном направлении жаровой трубы ребер (56), при этом несущая конструкция (60) содержит, по меньшей мере, часть ребер (56).
8. Отопитель по п.7, отличающийся тем, что, по меньшей мере, один отрезок (26) жаровой трубы выполнен с возможностью удержания между несколькими распределенными по его периферии ребрами (56) за счет зажимного воздействия.
9. Отопитель по п.7 или 8, отличающийся тем, что, по меньшей мере, один отрезок (26) жаровой трубы выполнен с возможностью удержания, по меньшей мере, на одном из ребер (56) посредством заклепочного, резьбового соединения.
РИСУНКИ
|
|