|
| На основании пункта 3 статьи 13 Патентного закона Российской Федерации от 23 сентября 1992 г. № 3517-I патентообладатель обязуется передать исключительное право на изобретение (уступить патент) на условиях, соответствующих установившейся практике, лицу, первому изъявившему такое желание и уведомившему об этом патентообладателя и федеральный орган исполнительной власти по интеллектуальной собственности, – гражданину РФ или российскому юридическому лицу. |
|
(21), (22) Заявка: 2004100456/06, 05.01.2004
(24) Дата начала отсчета срока действия патента:
05.01.2004
(43) Дата публикации заявки: 10.06.2005
(45) Опубликовано: 20.02.2006
(56) Список документов, цитированных в отчете о поиске:
RU 2210701 C2, 20.08.2003. RU 2193140 C2, 20.11.2002. SU 929964 A, 28.05.1982. SU 203819 A, 27.12.1967. US 3840328 A, 08.10.1974.
Адрес для переписки:
656064, г.Барнаул, Павловский тракт, 66, кв.228, П.Ф. Трофимову
|
(72) Автор(ы):
Саньков Сергей Фёдорович (RU), Маланин Владимир Ильич (RU), Трофимов Пётр Фёдорович (RU), Сахаров Юрий Дмитриевич (RU)
(73) Патентообладатель(и):
Саньков Сергей Фёдорович (RU), Маланин Владимир Ильич (RU), Трофимов Пётр Фёдорович (RU), Сахаров Юрий Дмитриевич (RU)
|
(54) ГОРЕЛКА ДЛЯ СЖИГАНИЯ ЖИДКОГО ТОПЛИВА
(57) Реферат:
Изобретение относится к горелкам для сжигания жидкого топлива и может быть использовано в коммунальном хозяйстве для нагрева воды в котлах, а также в строительстве, сельском хозяйстве и пищевой промышленности. Содержит нагнетательный патрубок, выполненный, как минимум, из одной изогнутой трубы с размещенным внутри валом, вентилятор с приводом. Вал привода соединен с валом, на котором жестко закреплен конусный стакан с размещенной в нем форсункой. Внутренняя поверхность стакана плавно спрофилирована, а на валу, в верхней части, прилегающей к стакану, выполнены радиальные и осевые отверстия для прохода топлива к форсунке, а в изогнутой части нагнетательного патрубка выполнены разделители потока, например, в виде изогнутых пластин. Горелка проста по конструкции, обладает высоким коэффициентом полезного действия. Кроме того, изобретение позволяет улучшить экологичность горелки. 3 ил. 
Изобретение относится к горелкам для сжигания жидкого топлива и может быть использовано в коммунальном хозяйстве для нагрева воды в котлах, а также в строительстве, сельском хозяйстве и пищевой промышленности.
Известна горелка для сжигания жидкого топлива, включающая вал с закрепленным на нем конусном стакане, с размещенной внутри его форсункой, причем стакан и форсунка закреплены на валу жестко, нагнетательный патрубок и привод (Патент РФ №2193140 F 23 C 11/00, F 23 D 11/04, от 09.01.01, опубл. БИ №32 от 20.11.02).
Недостатком данной горелки является сложность конструкции, а также возможность недожигания топлива из-за того, что топливо, растекаясь по конусному стакану, на кромках его образуют капли, которые плохо сгорают, что снижает коэффициент полезного действия горелки, снижает чистоту отходящих газов, нанося вред окружающей среде.
Известна горелка для сжигания жидкого топлива, содержащая нагнетательный патрубок, выполненный, как минимум, из одной изогнутой трубы, с размещенным внутри валом, вентилятором с приводом, причем вал привода соединен с валом, с жестко закрепленными на нем конусным стаканом и размещенной в нем форсункой (Патент РФ №2210701, F 23 C 11/00, F 23 D 11/06 от 07.06.01, опубл. БИ №23 от 20.08.03 – прототип).
Данная горелка имеет высокий коэффициент полезного действия, позволяет плавно регулировать горение. Однако, конструктивным недостатком стекания является резкий переход от конической внутренней поверхности к плоскому торцу, что должно привести к отрыву пленки топлива, образованию капель и, как следствие, к неполноте сгорания и снижению коэффициента полезного действия горелки.
Замена конической части стакана и плоского торца на плавно спрофилированную поверхность позволит оптимизировать условия испарения пленки и стекания топлива с внутренней поверхности стакана, возможность срыва потока воздуха на изгибах нагнетательного патрубка и значительное снижение скорости потока воздуха, что приводит к неполному сгоранию топлива. Кроме того, так как топливо подается по полому валу, проходя через всю длину горелки, – это усложняет ее изготовление.
Задачей изобретения является упрощение конструкции горелки, повышение коэффициента полезного действия ее за счет плавного схода топлива с конусного стакана и исключения срыва потока воздуха в нагнетательном патрубке.
Поставленная задача решается горелкой для сжигания жидкого топлива, содержащей нагнетательный патрубок, выполненный, как минимум, из одной трубы, с размещенным внутри валом, вентилятор с приводом, причем вал привода соединен с валом, на котором жестко закреплен конусный стакан и размещенная в нем форсунка, согласно изобретению, внутренняя поверхность стакана плавно спрофилирована, а на валу в части, прилегающей к стакану, выполнены радиальные и осевые отверстия для прохода топлива к форсунке, а в изогнутой части нагнетательного патрубка размещены разделители потока, например, в виде изогнутых пластин.
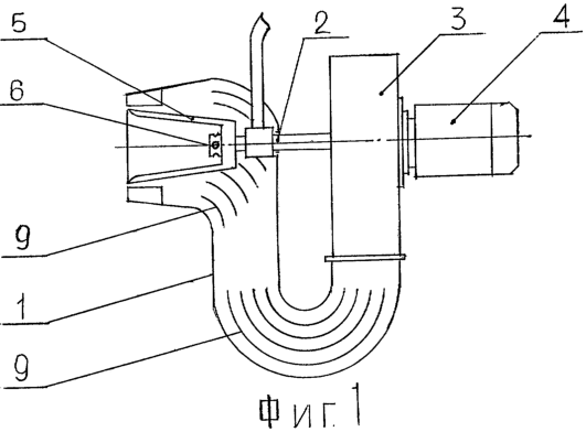
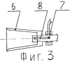
Изобретение поясняется чертежами, где на фиг.1 приведен схематический чертеж горелки, на фиг.2 – стакан с форсункой, на фиг.3 – часть вала, прилегающая к стакану.
Горелка для сжигания жидкого топлива состоит из нагнетательного патрубка, выполненного, как минимум, из одной изогнутой трубы (количество труб может быть 2, 3 и т.д.).
Внутри нагнетательного патрубка 1 размещен вал 2 вентилятора 3. На вентиляторе 3 закреплен привод 4. Вал привода 4 соединен с валом 2. На валу 2 жестко закреплены конусный стакан 5 и размещенная внутри него форсунка 6.
Внутренняя поверхность стакана 4 плавно спрофилирована.
На валу 2, в части, прилегающей к стакану 5, выполнены радиальные 7 и осевое 8 отверстия для прохода топлива к форсунке 6. В изогнутой части нагнетательного патрубка выполнены разделители потока, например, в виде изогнутых пластин. Разделители могут быть в виде спиралевидных изогнутых пластин в виде закрепленных прутков и т.д. Разделители исключают срыв потока, закручивают его, увеличивая подачу воздуха на горение.
Кроме того, разделители сохраняют напор воздуха, уменьшают сопротивление воздушного тракта, повышают пропускную его способность.
Горелка работает следующим образом.
Открывается всасывающий патрубок (не показан), включается привод 4 вентилятора 3. Вал привода 4 начинает вращаться, а так как он соединен с валом 2, размещенным в нагнетательном патрубке 1, то вращается и вал 2. Воздух от вентилятора 3 по нагнетательному патрубку 1, через разделители потока 9, поступает к выходу из нагнетательного патрубка 1, обтекая конусный стакан 5. При этом воздух разделителями (если они выполнены в виде спиралевидных изогнутых пластин) закручивается и направляется к выходу из нагнетательного патрубка 1, где еще больше закручивается направляющими элементами (на чертеже не показаны). Закрученная струя воздуха, обтекая конусный стакан 5, поступает в топку. Одновременно подается топливо в замкнутое пространство (на чертеже не показано), в котором вращается вал 2 с радиальными 7 и осевым 8 отверстиями. Через радиальные отверстия 7 топливо поступает в осевое отверстие 8 и по нему поступает к форсунке 6. Форсунка 6 направляет топливо на внутреннюю вращающуюся спрофилированную поверхность стакана 5 и на ней образуется топливная пленка, которая плавно стекает с кромок стакана 5, закрученным потоком подается в топку и на кромке стакана встречается с вращающейся струей воздуха, при этом идет мелкодисперсное перемешивание топлива с воздухом.
Смесь топлива с воздухом поджигается (факелом, дугой и т.д.) и горелка начинает работать. После прогрева горелки увеличивается подача воздуха с одновременным увеличением подачи топлива. Далее горелка работает в рабочем режиме.
Таким образом, предложенная горелка проста по конструкции, обладает высоким коэффициентом полезного действия. Кроме того, улучшается экологичность горелки.
Формула изобретения
Горелка для сжигания жидкого топлива, содержащая нагнетательный патрубок, выполненный, как минимум, из одной изогнутой трубы с размещенным внутри валом, вентилятор с приводом, причем вал привода соединен с валом, на котором жестко закреплен конусный стакан и размещенная в нем форсунка, отличающаяся тем, что внутренняя поверхность стакана плавно спрофилирована, а на валу в части, прилегающей к стакану, выполнены радиальные и осевые отверстия для прохода топлива к форсунке, а в изогнутой части нагнетательного патрубка выполнены разделители потока, например, в виде изогнутых пластин.
РИСУНКИ
|
|