|
|
(21), (22) Заявка: 2004108101/06, 22.03.2004
(24) Дата начала отсчета срока действия патента:
22.03.2004
(43) Дата публикации заявки: 20.10.2005
(45) Опубликовано: 20.02.2006
(56) Список документов, цитированных в отчете о поиске:
RU 2002102321, 27.08.2003. RU 2098713 C1, 10.12.1997. RU 2157039 C1, 27.09.2000. RU 2079041 C1, 10.05.1997. RU 2164626 C2, 27.03.2001. RU 2189603 C2, 20.09.2002. US 5582012 A, 10.12.1996. СТЕПАНЕЦ А.А. Энергосберегающие турбодетандерные установки. – М.: Недра, 1999, с.34-36.
Адрес для переписки:
248010, г.Калуга, ул. Тельмана, 10, кв.22, И.М. Пиковскому
|
(72) Автор(ы):
Бабаян Семен Амаякович (RU), Данильянц Игорь Армаисович (RU), Григорян Самвел Самвелович (RU), Левинзон Сулейман Владимирович (RU), Огарь Юрий Сергеевич (RU), Пантелеев Александр Сергеевич (RU), Пиковский Игорь Михайлович (RU)
(73) Патентообладатель(и):
ЗАО “Газоснабжение” (RU), Бабаян Семен Амаякович (RU)
|
(54) БЛОЧНО-КОМПЛЕКТНАЯ ГАЗОРАСПРЕДЕЛИТЕЛЬНАЯ СТАНЦИЯ С АВТОНОМНОЙ СИСТЕМОЙ ПИТАНИЯ ЭЛЕКТРОЭНЕРГИЕЙ
(57) Реферат:
Изобретение относится к устройствам, использующим полезную энергию, высвобождаемую в процессе расширения при дросселировании агента (газа) перед подачей его потребителю. В устройстве, содержащем магистральный кран, расположенный на отводе основного газопровода, регулятор давления, турбодетандер, распределительный кран магистрали потребителя, соединительную полумуфту и соединенный с ней синхронный генератор, турбодетандер выполнен по принципу, использующему высвобождающуюся в процессе расширения газа полезную энергию с заданным перепадом давления и температуры, в котором рабочее колесо с лопатками специального профиля, например эвольвентными, сидит на консольно расположенном валу, закрепленном на двух подшипниках, на конце вала с сегментным самоуплотняющимся лабиринтным уплотнением расположена соединительная полумуфта. Устройство предназначено для частичного покрытия потребности в электроэнергии собственных нужд. 3 з.п. ф-лы, 6 ил. 
Изобретение относится к устройствам, использующим полезную энергию, высвобождаемую в процессе расширения при дросселировании агента (газа) перед подачей его потребителю. Известны применяемые в настоящее время системы газоснабжения потребителей, когда транспортируемый агент (газ) из магистрального трубопровода под высоким давлением поступает на блочно-комплектную газораспределительную станцию, где происходит его дросселирование до низкого давления, при котором он подается потребителю. Этот процесс дросселирования осуществляется с применением обычных расширительных устройств в виде регуляторов, задвижек и т.п. Высвобождаемая при этом процессе расширения энергия агента полностью преобразуется в тепловую с соответствующим снижением начальной температуры потока. Такая схема простого дросселирования приводит к потере значительной части энергии, затраченной для предварительного сжатия агента. Более того, охлаждающую часть газа до подачи его в сеть потребителю в ряде случаев приходится подогревать в специальных устройствах с дополнительным расходом энергии.
Известны [1] газораспределительные станции, содержащие установки, работающие на природном газе, с турбодетандером, оборудованным регулируемым сопловым аппаратом, и использующие серийные электростанции, имеющие в своем составе авиационный турбовинтовой двигатель со специальным боковым каналом для выхода газа, синхронный генератор, системы управления и регулирования, обеспечивающие в эксплуатационных режимах работы.
Недостатком такого устройства является его сложность, низкие КПД и надежность, наличие интегрированной маслосистемы электростанции и турбодетандера, специальный пластинчатый теплообменник для подогрева природного газа перед поступлением его в турбодетандер, трудоемкость изготовления, что усложняет эксплуатацию. Вся установка работает при использовании больших объемов газа и непригодна для реализации малых мощностей.
Наиболее близким по техническому решению является энергоутилизационный комплекс [2], вырабатывающий электроэнергию и включающий в себя турбодетандер, нагреватель и охладитель газа. При этом для нагрева газа перед турбодетандером в двух последовательно установленных подогревателях используется тепло уходящих газов, причем первый из них служит охладителем газа, который покидает турбодетандер и направляется к потребителю.
Недостатком прототипа является то, что при выработке электроэнергии в нем требуется предварительный нагрев газа в двух последовательно установленных подогревателях и последующее охлаждение газа, покидающего турбодетандер и направляющегося к потребителям. В связи с малым расходом газа установленный турбодетандер работает при повышенной частоте вращения, что обусловило установку понижающего редуктора для обеспечения общепромышленной частоты 50 Гц.
Кроме того, при неполадках в системе подающих газ устройств и редукторов давления частота вращения турбодетандера, а следовательно, и ротора генератора повышается сверх допустимых пределов, что приводит к чрезмерному росту напряжения в сети энергоснабжения и при отсутствии ограничивающих напряжение устройств может привести к выходу из строя энергосистемы блочно-комплектной газораспределительной станции с автономной системой питания электроэнергией. Недостатком генераторов, применяемых в автономных системах энергоснабжения, является то, что в них отсутствуют устройства контроля сопротивления изоляции генераторов и потребителей и, как следствие, могут появляться токи утечки и наводка опасных потенциалов напряжения на обслуживаемом оборудовании.
Целью предлагаемого устройства является его упрощение, повышение КПД и надежности, создание блочно-комплектных газораспределительных станций с автономной системой питания электроэнергией, обеспечивающей использование полезной работы, которую может совершить транспортируемый агент (газ) при отборе из магистрального трубопровода высокого давления с дросселированием (расширением) и подачей его в трубопровод сравнительно низкого давления к потребителю, а также защита устройства при снижении сопротивления изоляции и контроль уровня напряжения.
Известен принцип построения системы защитного отключающего устройства с использованием оперативного постоянного тока [3], принцип действия которого заключается в том, что искусственная нулевая точка по схеме “звезда” образуется с помощью дросселя-индикатора, последовательно с общей точкой которого включены дроссель, токовое реле и источник постоянного тока, один из выводов которого подключен к корпусу (“земле”). При этом ток, протекающий по указанной выше цепи, и является оперативным контролирующим током, величина которого зависит от сопротивления изоляции.
Недостатком такого устройства являются значительная масса и габариты из-за наличия дросселя-трансформатора, а также пониженная чувствительность: при определенных соотношениях из-за отсутствия регулировок система защиты и контроля может оказаться неработоспособной.
Известно также устройство [4], содержащее генератор сети с подключенной измерительной цепью, выпрямитель измерительной цепи, источник напряжения постоянного тока и исполнительный элемент, выпрямитель измерительной цепи, источник напряжения постоянного тока выполнен в виде параметрического стабилизатора, измерительная цепь выполнена в виде последовательного соединения светоизлучителя оптопары шунтированного помехоподавляющим конденсатором, регулировочного и ограничительного резисторов, один из выводов ограничительного резистора подключен к корпусу, устройство коммутации, подключенное к фазам сети, последовательно с которым включен замыкающий контакт исполнительного элемента, параллельно резистору, включенному последовательно с основной обмоткой возбуждения генератора, причем другие выводы упомянутого резистора и обмотки возбуждения подключены к напряжению возбуждения.
Недостатками такого устройства являются наличие оптоэлектронных элементов, имеющих значительные технологические разбросы, чувствительные к ионизационному излучению; кроме того, в нем использовано реле напряжения, являющееся менее точным, чем реле тока, и требующее для увеличения точности порога срабатывания, как правило, стабилизатора напряжения. Кроме того, в соответствии с требованиями международных и отечественных стандартов определенной величины сопротивления между силовыми и измерительными цепями (в частности, не менее 1 МОма), что не обеспечивает устройство, принятое нами за прототип узла контроля и защиты сопротивления изоляции, а также ряд устройств аналогичного назначения. В сложных генераторах, в которых имеется не одна, а несколько обмоток возбуждения, отключение одной из них не приводит к полному исчезновению напряжения на нагрузке.
Наиболее близким к узлу контроля и регулировки уровня напряжения является устройство [5], принятое нами за прототип этого узла. Оно содержит генератор с основной и дополнительной обмоткой статора, обмотку возбуждения ротора с ограниченными возможностями по контролю и регулировке уровня напряжения. Недостатками данного устройства являются его сложность и ограниченные возможности контроля.
Поставленная цель достигается тем, что блочно-комплектная станция с автономной системой питания электроэнергией содержит магистральный кран, расположенный на отводе от магистрального газопровода, регулятор давления газа, турбодетандер, распределительный кран магистрали потребителя, соединительную полумуфту и соединенный с ней синхронный генератор, турбодетандер выполнен по принципу, использующему высвобождающуюся в процессе расширения газа полезную энергию с заданным перепадом давления и температуры, в котором рабочее колесо с лопатками специального профиля, например эвольвентными, сидит на консольно расположенном валу, закрепленном на двух подшипниках, на конце вала с сегментным самоуплотняющимся лабиринтным уплотнением расположена соединительная муфта.
Кроме того, к выходу синхронного генератора подключен узел контроля и защитного отключения при снижении сопротивления изоляции генератора и потребителей электрической энергии, выполненное в виде измерительной цепи исполнительного элемента, подключенного к сети через выпрямитель, в него введен исполнительный орган, включенный последовательно с нагрузкой, исполнительный элемент выполнен в виде последовательно соединенных тиристора и обмотки управления исполнительным органом, причем управляющий электрод тиристора подключен через контакт реле измерительной цепи к средней точке резистивного делителя напряжения, подключенного к силовым электродам тиристора, к которым параллельно подключена RC-цепь, точка соединения конденсатора RC-цепи, одного из силовых электродов тиристора и резистивного делителя подключена к одному из выходов упомянутого выпрямителя, второй выход которого подключен к свободному выводу обмотки управления исполнительным органом, а измерительная цепь выполнена в виде обмотки реле измерительной цепи, шунтированной конденсатором, один из выводов упомянутой обмотки подключен к одному из выходов выпрямителя, второй – через ограничительный резистор – к другому выходу выпрямителя, причем второй вывод обмотки одновременно подключен к цепи, содержащей последовательно включенные второй ограничительный резистор, диод и варистор, второй вывод упомянутого варистора подключен к корпусу (“земле”).
Устройство отличается также тем, что в него введено последовательно с генератором и нагрузкой четырехконтактное устройство контроля изоляции с заземленной нейтралью и управляющим элементом, включенным в точке нижнего плеча резистивного делителя и конденсатора и анодов выпрямителя и переменного резистора, а переключатели упомянутого устройства подключены с одной стороны к диагонали моста, а с другой к фазному и нулевому проводу соответственно.
К отличиям можно отнести и то, что узел контроля и регулировки уровня напряжения выполнен в виде регулирующего элемента на транзисторах, соединенных по схеме Дарлингтона, причем коллектор первого транзистора подключен к первому выходу упомянутого узла, эмиттер – ко второму управляющему входу и выходу узла, коллектор согласующего транзистора подключен к базе второго транзистора к второму ограничительному резистору, другой вывод которого подключен к первому входу питания упомянутого узла, эмиттер согласующего транзистора подключен к второму входу питания упомянутого узла и к одному из выводов конденсатора, второй вывод которого подключен к первому управляющему входу и третьему ограничительному резистору, подключенному к первому выводу переменного резистора, второй вывод которого подключен к базе согласующего транзистора и к аноду стабилитрона, катод которого подключен к регулируемому выводу упомянутого переменного резистора, параллельно между коллектором и эмиттером первого транзистора включен ограничительный диод, анодом к эмиттеру этого транзистора, катодом – к его коллектору, между первым входом питания регулировочного узла и первым его выходом включен второй ограничительный диод анодом к первому выходу, катодом – к первому входу питания упомянутого узла, причем резистивный делитель подключен к обмотке возбуждения ротора, выводы питания к выходу выпрямителя, подключенного входом к дополнительной обмотке статора, а выводы управления к выходу силового выпрямителя, входом подключенного к основной обмотке ротора генератора.
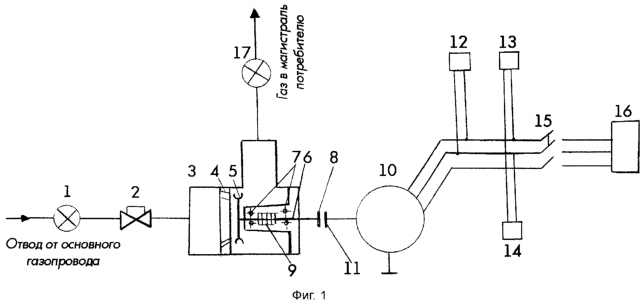
На фиг.1 представлена принципиальная схема предлагаемого устройства, оно содержит магистральный кран 1, расположенный на отводе от магистрального газопровода, связанный с регулятором давления 2, турбодетандер 3, подключенный входом к регулятору 2 и содержащий сопловой аппарат 4, рабочее колесо с лопатками специального профиля, например эвольвентными 5, упомянутое колесо 5 сидит на консольно расположенном валу 6, закрепленном на двух подшипниках 7, на конце вала расположена соединительная полумуфта 8, причем герметизация достигается за счет притирки сегментного самоуплотняющегося фторопластового или фосфитной бронзы лабиринтного уплотнения 9. К выходу синхронного генератора 10, вал которого соединен с полумуфтой 11, подключен узел 12 – контроля и защитного отключения при снижении сопротивления изоляции, блок нагрузки 13, узел, регулирующий уровень напряжения 14; через коммутирующее устройство 15 электроэнергия подается в нагрузку 16, через кран 17 газ направляется в магистраль потребителя.
Рабочий агент-газ, пройдя через кран 1, поступает в регулятор давления 2 для снижения давления до установленного уровня. Пройдя через неподвижный сопловой аппарат 4 турбодетандера 3 и каналы, образованные профильными лопатками рабочего колеса 5, струи газа воздействуют на эвольвентные лопатки и раскручивают рабочее колесо 5, сидящее на валу турбодетандера 3. При этом за счет расширения газа давление падает до расчетного в сети потребителя установленного требуемого уровня. Параметры рабочего колеса рассчитываются так, что при перепаде давления 0,1-0,2 МПа и расходе газа 0,5-0,8 кг/см на валу 6 турбодетандера 3, вращающемся с частотой сети, развивается установленная мощность. При этом генератор 10, вал которого соединен с валом турбодетандера упругой муфтой 11, вырабатывает переменный ток с промышленной частотой 50 Гц, напряжением 220-380 В и мощностью, обусловленной расчетными параметрами турбодетандера. Пройдя через турбодетандер 3, газ через кран 17 поступает в коллектор потребителя. При такой незначительной степени расширения температура газа практически не изменится, что подтверждается испытанием опытных образцов. На фиг.2 изображен рабочий профиль лопатки, где указаны переменные параметры, зависящие от мощности турбодетандера. Сегментное самоуплотняющееся лабиринтное уплотнение показано на фиг.3, где 18 – непосредственное уплотнение, 19 – соединительная муфта, 20 – шарикоподшипники. Взаимосвязь этих элементов между собой вытекает непосредственно из чертежа.
На фиг.4-5 изображены структурная и электрические схемы узла контроля и защитного отключения при снижении сопротивления изоляции 12. Узел 12 (фиг.4, элементы показаны пунктиром) содержит генератор сети 21 (может быть расположен как в составе устройства, так и вне его), исполнительный орган 22, входом соединенный с генератором сети 21, выходом – с нагрузкой 23, кроме того, выход упомянутого исполнительного органа 22 соединен со входом выпрямителя 24, питающего как измерительную цепь 25, так и исполнительный элемент 26, причем выход измерительной цепи 25 подключен к одному из входов исполнительного элемента 26, выход которого подключен к управляющему входу исполнительного органа 22. На фиг.4 раскрыты также элементы структурной схемы.
Основная обмотка 27 генератора сети 21 (10), в трехфазном варианте, содержит три обмотки, соединенные “звездой”, исполнительный орган 22 – с целью унификации – содержит два двухконтактных переключателя 28 и 29, включенных в три фазы сети, причем в одной из фаз включены 2 последовательно соединенных контакта (возможно использование одного трехконтактного или трех одноконтактных переключателей). Выпрямитель 24 представляет собой, например, мостовую схему выпрямления (схему Греца) на диодах 30-33, выход мостовой схемы подключен ко входу измерительной цепи, содержащей реле тока 34, шунтированное конденсатором 35, один вход цепи 25 подключен к одному из выходов выпрямителя 24, другой через регулируемый ограничительный резистор 36 – к другому выходу выпрямителя, к точке соединения элементов 34, 35, 36 последовательно включен выпрямительный диод 37, второй ограничительный резистор 38 и варистор 39, причем свободный (второй) вывод упомянутого варистора подключен к корпусу (“земле”). Сопротивление изоляции условно показано узлом 40.
Исполнительный элемент 26 содержит последовательно соединенный тиристор 41 и обмотки управления 28′ и 29′ исполнительным органом 22, управляющий электрод тиристора 41 через контакт 34′ реле измерительной цепи 34 подключен к средней точке резистивного делителя 44, 45, нижнее плечо которого шунтировано конденсатором 46. Элементы 45 и 46 образуют RC-цепь.
Возможен вариант использования предложенного устройства как для сетей с изолированной нейтралью, так и с заземленной нейтралью.
Такой вариант представлен на фиг.5.
Здесь вместо силового контактора используется стандартное четырехконтактное устройство контроля изоляции (УЗО) 47 с заземленной нейтралью с управляющим элементом 47′, включенным между точкой соединения конденсатора RC-цепи 45, 46 и одного из силовых электродов тиристора 41 и точкой соединения элементов 31, 33, 36. При этом полностью используются узлы 24, 25, 26. При этом узел 24 управляется переключателем 48. Узел 47 последовательно между узлами 21 и 23 в каждую из шин питания и нулевой провод – в диагональ мостового выпрямителя 24 (т.е. в точке соединения элементов 30, 31 и 32, 33 соответственно) с одной стороны и к любому из фазных проводов и нулевому с другой. Переключатель 48 содержит 2 замыкающих контакта.
Узел, изображенный на фиг.4, работает следующим образом. В нормальном режиме работы, т.е. при наличии сопротивления изоляции в пределах установленных норм, исполнительный орган 22 включен и нагрузка 23 питается от генератора 21. Выпрямитель 24 питает узлы 25 и 26.
В аварийных режимах при симметричном или несимметричном изменении сопротивления изоляции ниже установленных норм реакция воспринимается элементом 25, воздействует на элемент 26, который, воздействуя на исполнительный орган 22, отключает нагрузку 23 от генератора 21, т.е. напряжения сети.
В нормальном режиме работы элементы 28 и 29 узла 22 замкнуты и нагрузка питается от генератора 21. В этом режиме ток, протекающий по обмотке реле тока 34, недостаточен для включения этого реле, тиристор 41 находится в отключенном состоянии, контакты обмоток управления 28′ и 29′ разомкнуты и двухконтактные переключатели 28 и 29 находятся во включенном состоянии. Ток, протекающий по цепи из элементов 34, 37, 38, 39, в связи с наличием варистора 39 крайне незначителен и сопротивление этой цепи, как правило, превышает установленные отечественными и международными стандартами 1 МОм. Эквивалентное сопротивление изоляции можно представить в виде резисторов 40, соединенных в “звезду”.
В аварийном режиме, т.е. при уменьшении сопротивления изоляции ниже установленных норм, ток, протекающий по измерительной цепи из элементов 34, 37, 38, 39, включает реле 34, замыкается контакт 34′, включается тиристор 41, получают питание обмотки 28′ и 29′ и элементы 28 и 29 отключают нагрузку от сети.
Узел, изображенный на фиг.5, работает следующим образом.
При разомкнутом положении переключателя 48 устройство работает как устройство с заземленной нейтралью. При этом используется так называемая пятипроводная схема, предусмотренная требованиями электробезопасности: 4 провода и заземленный защитный проводник.
В режиме с изолированной нейтралью переключатель 48 включен, контроль изоляции осуществляется предложенным устройством (при этом возможна замена 47′ на резистор), нейтраль источника заземляется. Система пятипроводная: три фазы, рабочий N и заземляющий проводник. Последние два соединены между собой и с контуром заземления на источнике электропитания.
Схема узла контроля и регулировки уровня напряжения 14 изображена на фиг.6. Он представляет собой регулирующий узел с дискретной схемой управления и содержит регулирующий элемент на транзисторах, соединенных по схеме Дарлингтона, причем коллектор первого транзистора 49 подключен к первому выходу узла 14, эмиттер – к второму управляющему входу 2 и выходу 2 упомянутого узла, коллектор согласующего транзистора 51 подключен к базе второго транзистора 50 и второму ограничительному резистору 52, второй вывод которого подключен к первому входу питания упомянутого узла, эмиттер второго транзистора 50 подключен к базе первого транзистора 49 и к резистору начальных токов 53, второй вывод которого подключен к выходу 2 узла 14, коллектор второго транзистора 50 подключен к коллектору первого транзистора 49 и выходу 1 упомянутого узла. Коллектор согласующего транзистора 51 подключен к базе второго транзистора 50 и к второму ограничительному резистору 52 одним выводом, второй вывод которого подключен к первому входу питания узла 14. Второй вход питания 2 и второй управляющий вход 2 соединены между собой.
Эмиттер согласующего транзистора 51 подключен ко второму входу питания и к одному из выводов конденсатора 54, второй вывод которого подключен к первому управляющему входу и третьему ограничительному резистору 55, подключенному к первому выводу переменного резистора 56, второй вывод которого подключен к второму управляющему входу и к четвертому ограничительному резистору 57, второй вывод которого подключен к базе согласующего транзистора 51 и аноду стабилитрона 58, катод которого подключен к регулируемому выводу резистора 56. Параллельно между коллектором и эмиттером первого транзистора 49 включен ограничительный диод 59, анодом к эмиттеру упомянутого транзистора, катодом – к его коллектору, а между первым входом питания и первым выходом узла 14 включен второй ограничительный диод 60 анодом к первому выходу, катодом – к первому входу питания узла 14.
Входы и выходы узла 14 обозначены и подключены следующим образом: 1вых и 2вых подключены к резистивному делителю напряжения, содержащего последовательно включенный переменный – для регулировки – и постоянный резисторы, свободные выводы которых подключены к обмотке возбуждения ротора генератора (на чертеже не показаны); 1пит и 2пит – к выходу мостового, например трехфазного выпрямителя, вход которого подключен к дополнительным обмоткам статора; 1упр и 2упр – к положительному и отрицательному выводам выходного силового выпрямителя, вход которого подключен к основным обмоткам статора генератора. Генератор может быть выполнен как в однофазном, так и трехфазном вариантах. Во втором случае основные и дополнительные обмотки статора соединены в “звезду” и выпрямители – трехфазные.
Устройство, изображенное на фиг.6, работает следующим образом. Начальное самовозбуждение источник получает за счет остаточной намагниченности и постоянных магнитов, находящихся в роторе 10, ЭДС наводится в трехфазных обмотках статора (на чертеже не показаны). ЭДС дополнительной обмотки выпрямляется вторым трехфазным выпрямителем (на чертеже не указаны), прикладывается к обмотке возбуждения ротора (на чертеже не указаны).
Таким образом, начальное возбуждение реализуется при протекании тока через резисторы выходного делителя (на чертеже не указаны) начального возбуждения и обеспечения режима холостого хода, напряжение на основной обмотке статора возрастает и достигает номинального значения, определяемого величиной уставки резистора упомянутого выше делителя.
При включении нагрузки на источник к зажимам выхода выпрямителя, питающегося от основной обмотки, выходное напряжение уменьшается, также уменьшается величина сигнала обратной связи, в работу включается дискретная схема управления регулирующего узла 14, которая пропорционально величине изменения выходного напряжения в обратной зависимости изменяет ток возбуждения через обмотку возбуждения ротора, поддерживая тем самым постоянство выходного напряжения при изменении нагрузки. Жесткость внешней характеристики источника можно менять, изменяя на регулирующем элементе узла 6 глубину обратной связи. Когда нагрузка уменьшается, устройство переходит в режим холостого хода и напряжение на выходе обретает величину, заданную величиной уставки сопротивления резистора начального возбуждения и обеспечения режима холостого хода.
Узел 14 работает следующим образом. Он представляет собой регулятор, выполняющий одновременно две функции: с одной стороны, он обеспечивает изменение уровня напряжения, задаваемого первоначально величиной сопротивления переменного резистора начального возбуждения и обеспечения режима холостого хода резистивного делителя напряжения. Для этого используется цепь, подключенная к первому и второму выходу узла 14, содержащая последовательно включенный переменный резистор и первый ограничительный резистор, причем второй выход этого резистора подключен к одному из выводов обмотки возбуждения, другой вывод которой подключен к положительному выходу второго выпрямителя, питающегося от дополнительной обмотки статора, чем осуществляется начальное возбуждение и обеспечение режима холостого хода, с другой стороны, через управляющие входы 1 и 2 узла 14 осуществляется обратная связь по выходному напряжению основной обмотки через силовой выпрямитель, питающийся от основной обмотки. Пороговым элементом узла 14 служит стабилитрон 58, а для установки напряжения служит резистор 56, диоды 49 и 60 являются ограничивающими, защищая транзисторы узла 14 от пробоя от импульсов напряжения при коммутации тока возбуждения.
Изготовлен опытный образец предлагаемого устройства, в котором давление, проходящее через кран 1, снижается до 0,7 МПа, расчетное давление в сети потребителя 0,6 МПа, т.е. перепад составляет 0,1 МПа при расходе газа 0,634 кг/с (V=1800 Нм3/час), вращение вала – 3000 об/мин; развиваемая мощность синхронного генератора 5 кВт при частоте сети 50 Гц и напряжении 220 В. При этом, так как степень расширения незначительна (1,17), то температура газа практически не меняется (изменение составляет 1,04-1,1).
Предлагаемое устройство предназначено для частичного покрытия потребности в электроэнергии. По этой же схеме могут быть разработаны установки для полного обеспечения электроэнергией на станции, что создает автономность питания станции электроэнергией и ее независимость от внешних источников.
Объемы и давление перекачиваемых газов позволяют вырабатывать электроэнергию не только для покрытия собственных потребностей, но и поставлять ее сторонним потребителям. Устройство контроля состояния электрической прочности изоляции обеспечивает отключение потребителей при снижении сопротивления изоляции ниже допустимого уровня. Аналогично отключается потребитель при чрезмерном повышении напряжения и срабатывании устройства контроля напряжения.
Авторами испытаны различные варианты предлагаемого узла 12. В частности, для устройства на фиг.5 в качестве элемента 39 использован варистор с порогом 80 В, с последовательным сопротивлением 33 кОм, элемент 14 токовое реле РЭС 64А с током срабатывания Icp=1,2-1,3 мА и с сопротивлением обмотки 10 кОм. Срабатывание узла 5 происходило при сопротивлении изоляции от 38 до 75 кОм в зависимости от напряжения сети 200-250 В.
Испытания узла 14 показали, что при мощности автономного источника питания 1-5 кВт обеспечивается необходимое поддержание постоянства напряжения и высокое качество генерируемой энергии, обусловленное низкой пульсацией выпрямленного напряжения в пределах до 5%.
Приведенные сведения свидетельствуют о возможности реализации предлагаемого устройства с улучшенным КПД, надежностью и более простым по исполнению.
Источники информации
1. Буслаев В., Гуров В. и др. Турбодетандер позволяет экономить. Двигатель, №4 (16), 2001. – С.22-23.
2. Степанец А.А. Энергосберегающие турбодетандерные установки. – М.: Недра, 1999. – С.34-36.
3. Долин П.А. Основы техники безопасности в электроустановках – М.: Энергия, 1979, с.274.
4. Патент РФ №2189603 кл. G 01 R 27/00, Н 02 Н 3/10, 3/16, опубл. 2002, Бюл. №26.
5. Генератор ГС-12Т-3-Л серия. Техническое описание, инструкция по эксплуатации и руководство по ремонту. М., 1980, С.8, рис.3.
Формула изобретения
1. Блочно-комплектная газораспределительная станция с автономной системой питания электроэнергией, содержащая магистральный кран, расположенный на отводе от магистрального газопровода, регулятор давления газа, турбодетандер, распределительный кран магистрали потребителя, соединительную полумуфту и соединенный с ней синхронный генератор, отличающаяся тем, что турбодетандер выполнен по принципу, использующему высвобождающуюся в процессе расширения газа полезную энергию с заданным перепадом давления и температуры, в котором рабочее колесо с лопатками специального профиля, например, эвольвентными, сидит на консольно расположенном валу, закрепленном на двух подшипниках, на конце вала с сегментным самоуплотняющимся лабиринтным уплотнением расположена соединительная полумуфта.
2. Устройство по п.1, отличающееся тем, что к выходу синхронного генератора подключен узел контроля и защитного отключения при снижении сопротивления изоляции генератора и потребителей электрической энергии, выполненный в виде измерительной цепи исполнительного элемента, подключенного к сети через выпрямитель, в него введен исполнительный орган, включенный последовательно с нагрузкой, исполнительный элемент выполнен в виде последовательно соединенных тиристора и обмотки управления исполнительным органом, причем управляющий электрод тиристора подключен через контакт реле измерительной цепи к средней точке резистивного делителя напряжения, подключенного к силовым электродам тиристора, к которым параллельно подключена RC-цепь, точка соединения конденсатора RC-цепи, одного из силовых электродов тиристора и резистивного делителя подключена к одному из выходов упомянутого выпрямителя, второй выход которого подключен к свободному выводу обмотки управления исполнительным органом, а измерительная цепь выполнена в виде обмотки реле измерительной цепи, шунтированной конденсатором, один из выводов упомянутой обмотки подключен к одному из выходов выпрямителя, второй – через ограничительный резистор – к другому выходу выпрямителя, причем второй вывод обмотки одновременно подключен к цепи, содержащей последовательно включенные второй ограничительный резистор, диод и варистор, второй вывод упомянутого варистора подключен к корпусу (“земле”).
3. Устройство по п.1, отличающееся тем, что узел контроля и регулировки уровня напряжения выполнен в виде регулирующего элемента на транзисторах, соединенных по схеме Дарлингтона, причем коллектор первого транзистора подключен к первому выходу упомянутого узла, эмиттер – ко второму управляющему входу и выходу узла, коллектор согласующего транзистора подключен к базе второго транзистора к второму ограничительному резистору, другой вывод которого подключен к первому входу питания упомянутого узла, эмиттер согласующего транзистора подключен к второму входу питания упомянутого узла и к одному из выводов конденсатора, второй вывод которого подключен к первому управляющему входу и третьему ограничительному резистору, подключенному к первому выводу переменного резистора, второй вывод которого подключен к базе согласующего транзистора и к аноду стабилитрона, катод которого подключен к регулируемому выводу упомянутого переменного резистора, параллельно между коллектором и эмиттером первого транзистора включен ограничительный диод, анодом к эмиттеру этого транзистора, катодом – к его коллектору, между первым входом питания регулировочного узла и первым его выходом включен второй ограничительный диод, анодом к первому выходу, катодом – к первому входу питания упомянутого узла, причем резистивный делитель подключен к обмотке возбуждения ротора, выводы питания к выходу выпрямителя, подключенного входом к дополнительной обмотке статора, а выводы управления к выходу силового выпрямителя, входом подключенного к основной обмотке ротора генератора.
4. Устройство по п.2, отличающееся тем, что в него введено последовательно с генератором и нагрузкой четырехконтактное устройство контроля изоляции с заземленной нейтралью и управляющим элементом, включенным в точке нижнего плеча резистивного делителя и конденсатора и анодов выпрямителя и переменного резистора, а переключатели упомянутого устройства подключены с одной стороны к диагонали моста, а с другой к фазному и нулевому проводу соответственно.
РИСУНКИ
MM4A – Досрочное прекращение действия патента СССР или патента Российской Федерации на изобретение из-за неуплаты в установленный срок пошлины за поддержание патента в силе
Дата прекращения действия патента: 23.03.2007
Извещение опубликовано: 27.02.2008 БИ: 06/2008
|
|