|
|
(21), (22) Заявка: 2004123958/06, 06.08.2004
(24) Дата начала отсчета срока действия патента:
06.08.2004
(45) Опубликовано: 20.02.2006
(56) Список документов, цитированных в отчете о поиске:
RU 2011109 C1, 15.04.0994. SU 481751 A, 26.09.1975. SU 1314182 A1, 30.05.1987. US 3404337 A, 01.10.1968. US 3432750 A, 11.03.1969.
Адрес для переписки:
140080, Московская обл., г. Лыткарино, Промзона Тураево, стр.7, ФГУДП НИЦ ЦИАМ, патентный отдел, Л.П. Чигрину
|
(72) Автор(ы):
Быков Александр Федорович (RU), Девлеканов Рашид Шамильевич (RU), Кулаков Вячеслав Васильевич (RU)
(73) Патентообладатель(и):
Федеральное государственное унитарное дочернее предприятие Научно-испытательный центр Центрального института авиационного моторостроения (ФГУДП НИЦ ЦИАМ) (RU)
|
(54) СИГНАЛИЗАТОР НАЛИЧИЯ МЕТАЛЛИЧЕСКИХ ЧАСТИЦ В МАСЛЕ ИЛИ ИНОЙ ЖИДКОСТИ
(57) Реферат:
Сигнализатор предназначен для контроля наличия металлических частиц в масле или иной жидкости. Сигнализатор содержит корпус с входным и выходным патрубками, полость которого соединена с датчиком, контакты которого разделены кольцевым зазором, при этом между полостью корпуса и контактами датчика размещен затвор. Технический результат – повышение надежности работы сигнализатора. 2 з.п. ф-лы, 1 ил. 
Изобретение относится к средствам контроля наличия металлических частиц в масле или иной жидкости, циркулирующей по трубопроводам различных пневмо- и гидросистем. Оно может быть использовано в маслосистемах авиационных двигателей и промышленных газотурбинных установок, используемых для перекачки нефтепродуктов, газа или для выработки электроэнергии.
Известен сигнализатор наличия металлических частиц в масле и иной жидкости (А.с. №481751 “Устройство для регистрации металлических включений в масле и иной жидкости”, кл. F 16 N 29/04, опубликованное 26.09.75). Описанное устройство, в корпусе которого установлены фильтр и регистрирующий элемент, включенный в электрическую цепь с показывающим прибором, при этом регистрирующий элемент выполнен в виде закрытой крышкой перфорированной диэлектрической втулки, на которую как на основание с шагом, меньшим, чем величина допустимых металлических включений, намотан проводник, связанный с принудительной подвижной по втулке крышкой, а фильтр выполнен цилиндрическим и расположен с зазором внутри втулки.
При наличии в масле металлических частиц они задерживаются витками проводника, замыкая их между собой и тем самым снижая общее оммическое сопротивление проводника регистрирующего элемента, которое регистрируется показывающим прибором.
Недостатками сигнализатора являются: загрязнение поверхностей регистрирующего элемента неметаллическими и токонепроводящими частицами, из-за чего сигнализатор теряет чувствительность и требует очистки поверхностей контактов для восстановления работоспособности. Увеличение зазоров проводника с помощью поднятия крышки не решает проблему очищения регистрирующего элемента и удаления скопившихся металлических и неметаллических частиц в сигнализаторе. Для решения указанной проблемы необходимо останавливать установку, перекрывать поток жидкости через сигнализатор для обеспечения доступа к контактным поверхностям с целью определения причины срабатывания сигнализатора или его очистки.
Наиболее близким по технической сущности является сигнализатор наличия металлических частиц в масле или иной жидкости (Датчики термостружкосигнализаторов. Технические условия. ОСТ 1 101038-82. 1982). Описанное устройство, содержащее корпус с входным и выходным патрубками, полость которого соединена с датчиком, контакты которого разделены кольцевым зазором. Контакты соединены с электрической цепью сигнальной системы.
При попадании металлических частиц в зазор между двумя или несколькими изолированными друг от друга контактами электрическая цепь замыкается и в системе сигнализации возникает сигнал.
Недостатками сигнализатора являются: загрязнение поверхностей контактов неметаллическими и токонепроводящими частицами, из-за чего сигнализатор теряет чувствительность и требует очистки поверхностей контактов для восстановления работоспособности (для этого необходимо останавливать установку); необходимость перекрытия потока жидкости через сигнализатор для обеспечения доступа к контактным поверхностям с целью определения причины срабатывания сигнализатора или для очистки контактных поверхностей датчика.
Техническая задача, решаемая изобретением, заключается в повышении надежности работы сигнализатора и обеспечении удобства эксплуатации гидросистем, нуждающихся в контроле за наличием в жидкости металлических частиц.
Поставленная задача решается тем, что в сигнализаторе наличия металлических частиц в масле или иной жидкости, содержащем корпус с входным и выходным патрубками, полость которого соединена с датчиком, контакты которого разделены кольцевым зазором, между полостью корпуса и контактами датчика размещен затвор.
Затвор выполнен в виде шарового крана с проходным отверстием и соединен с поворотным штоком.
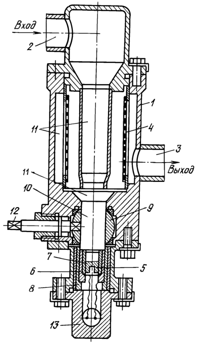
На чертеже показана конструкция предлагаемого сигнализатора наличия металлических частиц в масле или иной жидкости.
Сигнализатор наличия металлических частиц в масле или иной жидкости, содержит корпус 1 с входным 2 и выходным 3 патрубками, сетку 4, датчик, состоящий из контактов 5 и 6, втулки 7, втулки 8, шаровой кран 9 с проходным отверстием 10, полость 11 корпуса 1, поворотный шток 12, корпус 13 датчика.
Внутри корпуса 1 размещена сетка 4. Снизу к корпусу 1 прикреплен корпус 13 датчика. Контакты 5 и 6 датчика выполнены в виде магнитной пробки 5 и втулки 6. Магнитная пробка 5 (контакт) и втулка 6 (контакт) соединены с электрической цепью системы сигнализации (не показана). Втулки 7 и 8 изолируют втулку 6 (контакт). Между проточной полостью корпуса 1 и датчиком размещается шаровой кран 9 с проходным отверстием 10.
Сигнализатор наличия металлических частиц в масле или иной жидкости работает следующим образом.
В рабочем положении шаровой кран 9 открыт и поток жидкости поступает через входной патрубок 2 в полость 11 корпуса 1 и направлен через проходное отверстие 10 шарового крана 9 на магнитную пробку 5. Из корпуса 1 поток жидкости через сетку 4 выходит через патрубок 3. При наличии в жидкости металлических частиц они притягиваются магнитной пробкой 5 и концентрируются в кольцевом зазоре между пробкой 5 и втулкой 6. Втулки 7 и 8 изолируют втулку б (контакт). После накопления достаточного количества металлических частиц происходит замыкание контактов 5 и 6 электрической цепи системы сигнализации и на пульт (не показан) оператора поступает сигнал. Для проверки причины срабатывания сигнализатора наличия металлических частиц в потоке достаточно закрыть шаровой кран 9 поворотом штока 12 на 90°. При этом проходное отверстие 10 шарового крана 9 отделяется от полости корпуса 1 сигнализатора, что обеспечивает возможность демонтажа корпуса 13 датчика и осмотр металлических частиц, вызвавших срабатывание сигнализатора. По результатам анализа причин появления металлических частиц принимается решение либо срочно остановить машину для ремонта, либо очистить контакты 5 и 6 датчика и установить его обратно, открыть снова шаровой кран 9 и не прекращать работу машины или установки.
Предлагаемый сигнализатор наличия металлических частиц в потоке отличается от известных тем, что в его корпусе перед датчиком установлен запорный орган, например шаровой кран, который позволяет обеспечить контроль или очистку датчика без остановки установки. В этом случае можно достаточно часто производить очистку поверхностей контактов датчика от загрязнения, а также можно обнаружить начало износа механизмов еще до срабатывания сигнализатора. Такая конструкция сигнализатора позволяет также выяснить причину появления сигнала о наличии металлических частиц без остановки машины и, уже обладая достоверной информацией, решить: продолжить работу или срочно остановить машину.
Обладание достоверной информацией о состоянии машины и поддержание чистоты контактов позволяет не только отказаться от незапланированных остановок, но и увеличить наработку между плановыми осмотрами или даже перейти к эксплуатации машины по ее техническому состоянию.
Формула изобретения
1. Сигнализатор наличия металлических частиц в масле или иной жидкости, содержащий корпус с входным и выходным патрубками, полость которого соединена с датчиком, контакты которого разделены кольцевым зазором, отличающийся тем, что между полостью корпуса и контактами датчика размещен затвор.
2. Сигнализатор наличия металлических частиц в масле или иной жидкости по п.1, отличающийся тем, что затвор выполнен в виде шарового крана с проходным отверстием.
3. Сигнализатор наличия металлических частиц в масле или иной жидкости по п.2, отличающийся тем, что шаровой кран соединен с поворотным штоком.
РИСУНКИ
|
|