|
|
(21), (22) Заявка: 2004127255/06, 14.09.2004
(24) Дата начала отсчета срока действия патента:
14.09.2004
(45) Опубликовано: 20.02.2006
(56) Список документов, цитированных в отчете о поиске:
RU 2215227 C2, 27.10.2003. RU 2095676 C1, 10.11.1997. RU 2147355 C1, 10.04.2000. RU 2149761 C1, 27.05.2000. US 3886024 A, 27.05.1975.
Адрес для переписки:
141371, Московская обл., г. Хотьково, ул. Заводская, 1, ОАО ЦНИИСМ, патентное подразделение
|
(72) Автор(ы):
Васильев Валерий Витальевич (RU), Разин Александр Федорович (RU), Никитюк Виктор Александрович (RU), Козлова Ирина Викторовна (RU)
(73) Патентообладатель(и):
Закрытое акционерное общество “Центр перспективных разработок Открытого акционерного общества “Центральный научно-исследовательский институт специального машиностроения” (ЗАО “Центр перспективных разработок ОАО ЦНИИСМ”) (RU)
|
(54) ТРУБА-ОБОЛОЧКА ИЗ КОМПОЗИЦИОННОГО МАТЕРИАЛА
(57) Реферат:
Изобретение относится к созданию изделий из композиционных материалов, имеющих форму тел вращения, и может быть использовано при производстве корпусов и отсеков летательных аппаратов, применяемых в ракетной и авиационной технике. Труба-оболочка из композиционного материала имеет стенку пространственно-щелевой структуры, образованной дискретно и перекрестно намотанными спиральными и кольцевыми лентами, размещенными с чередованием относительно друг друга, скрепленными между собой в узлах их взаимных перекрестий и разделенных щелями в межузловых промежутках. Ленты, образующие структуру, смещены относительно друг друга по высоте стенки, а щели между ними имеют переменную величину и хаотично распределены по структуре стенки. Техническим результатом изобретения является повышение надежности конструкции за счет повышения прочности и жесткости. 1 з.п. ф-лы, 3 ил. 
Изобретение относится к созданию изделий из композиционных материалов (КМ), в частности изделий, имеющих форму тел вращения, и может быть использовано при производстве корпусов и отсеков летательных аппаратов, применяемых в ракетной и авиационной технике.
Решение вопросов снижения массы оболочечных конструкций, выполненных из КМ, привело к созданию облегченных прочных и жестких конструкций труб-оболочек с монолитными ребрами, составляющими основу их структуры (RU патент №2149761, кл. В 32 В 1/00, 3/12; В 29 С 53/56, опубл.27.05.2000 г., бюл.№15; RU патент №2083371, кл. В 32 В 3/12, опубл.1986 г.).
Монолитность ребер вследствие избытка в них связующего препятствует снижению массы известных труб-оболочек. Сложность и длительность процесса изготовления с использованием специального оборудования (оправок с пазами) делают известные конструкции дорогими по затратам труда, денежных средств и времени.
Известна конструкция трубы-оболочки из КМ, стенка которой выполнена с пространственно-щелевой структурой из лент волокнистого материала, намотанных дискретно и перекрестно; ленты скреплены связующим только в узлах взаимных перекрестий, а между перекрестьями они не скреплены между собою и разделены сквозными щелями (RU патент №2215227, кл. F 16 L 9/12, 47/00, опубл.27.10.2003 г., бюл.№30).
Эта известная конструкция легче вышеописанных за счет многочисленных щелей между ее лентами, исключающими избыток связующего. Она проста в изготовлении, не требует специального оборудования для производства; ее изготавливают методом намотки на гладкую (без пазов) поверхность оправки. Однако она неустойчива, обладает низкими характеристиками по прочности и жесткости. Строгая укладка спиральных лент друг на друга с формированием строгой ребристой структуры обеспечивает получение сквозных щелей, одинаково расположенных во всех ребрах по толщине стенки, но именно она и является причиной неустойчивости конструкции, ее невысокой прочности и жесткости.
Труба-оболочка по RU патенту №2215227 является, наиболее близкой по технической сущности к заявляемой и выбрана в качестве ближайшего аналога (прототипа).
Технической задачей, на решение которой направлено изобретение, является разработка конструкции трубы-оболочки, которая была бы такой же легкой, как ее ближайший аналог, но при этом более эффективной в работе.
Технический результат, который может быть достигнут при использовании изобретения, заключается в повышении надежности конструкции за счет повышения ее прочности и жесткости.
Для решения поставленной задачи с достижением указанного результата в известной трубе-оболочке из КМ, содержащей стенку пространственно-щелевой структуры, образованной дискретно и перекрестно намотанными лентами из волокнистого материала, скрепленными полимерным связующим в узлах их взаимных перекрестий и разделенных щелями в межузловых промежутках, согласно изобретению ленты указанной структуры смещены относительно друг друга по высоте стенки, а щели между ними образованы переменной величины и хаотично распределены по структуре стенки, при этом указанная пространственно-щелевая структура стенки образована спиральными и кольцевыми лентами, размещенными с чередованием относительно друг друга.
Отличительными особенностями заявляемой трубы-оболочки являются следующие признаки:
– смещение лент пространственно-щелевой структуры относительно друг друга по высоте стенки;
– образование щелей между лентами в межузловых промежутках переменной величины;
– хаотичное распределение щелей по структуре стенки;
– образование вышеуказанной структуры спиральными и кольцевыми лентами, размещенными с чередованием относительно друг друга.
Указанные признаки являются существенными, так как каждый из них направлен на достижение заявленного технического результата в соответствии с поставленной задачей. В технических решениях предшествующего уровня техники их использование не обнаружено.
Заявленная труба-оболочка выполнена с изменением геометрии поверхности после укладки лент любого из направлений за счет смещения каждой последующей ленты одного направления относительно предыдущей ленты того же направления. Этим достигнуто получение безреберной, или псевдореберной, структуры как более устойчивой, прочной и жесткой по сравнению со структурой прототипа. Положение лент одного направления относительно друг друга зафиксировано в узлах их пересечений с лентами другого направления. Несовпадение лент по высоте стенки, с учетом того, что для ее набора необходимо не менее трех лент по высоте в каждом из направлений, обеспечивает образование в межузловых промежутках разновеликих по размерам (длине, ширине) хаотично размещенных несквозных щелей. Наличие щелей обеспечивает малую массу в условиях сжимающих усилий в трубе-оболочке.
Заявленная труба-оболочка со стенкой пространственно-щелевой структуры может быть выполнена из любых наборов дискретно и перекрестно намотанных лент, например спиральных с осевыми или спиральных с кольцевыми. Наилучшие результаты по прочности и жесткости достигнуты в трубе-оболочке, выполненной из чередующихся спиральных и кольцевых лент. Именно такая труба-оболочка описана ниже в качестве примера исполнения изобретения.
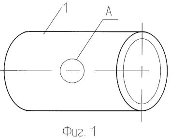
Изобретение поясняется фиг.1-3. На фиг.1 представлен общий вид заявленной трубы-оболочки, на фиг.2 – вид А фиг.1, на фиг.3 – разрез Б-Б фиг.2.
Труба-оболочка из КМ (фиг.1, 2) содержит стенку 1 пространственно-щелевой структуры, образованную дискретно и перекрестно намотанными спиральными 2 и кольцевыми 3 лентами из волокнистого материала, размещенными с чередованием относительно друг друга. Ленты 2 и 3 скреплены между собой полимерным связующим в узлах 4 их взаимных перекрестий и разделены щелями 5 в межузловых промежутках (фиг.3).
Каждая последующая лента 2 (или 3) относительно такой же предыдущей ленты 2 (или 3) по высоте стенки 1 смещена в ту или другую сторону так, что щели 5 между любыми соседними лентами 2 (или 3) практически не совпадают ни по размеру, ни по месту их расположения.
Трубу-оболочку изготавливают на стандартном оборудовании методом намотки на гладкую поверхность оправки. В качестве связующего используют полимерные материалы, в качестве материала лент – однонаправленные жгуты: углеродные, органические, стеклянные или любые другие, пригодные для этой цели. Возможно использование частично отвержденной ленты, состоящей из профилированных однонаправленных жгутов, пропитанных связующим с профилем поперечного сечения в виде круга, прямоугольника, эллипса и др.
Заявленная труба-оболочка может иметь снаружи и/или изнутри выполненные за одно целое с ней или отдельно намотанные обшивки.
Толщина стенки, углы укладки спиральных лент, расстояние между витками зависят от конкретного задания и определяются расчетом.
Предложенную трубу-оболочку используют в качестве элемента конструкции отсека летательного аппарата. Ее преимущества: высокая прочность и жесткость при минимальной массе, технологичность, были подтверждены испытаниями на действие осевых сжимающих и растягивающих нагрузок.
Формула изобретения
1. Труба-оболочка из композиционного материала, содержащая стенку пространственно-щелевой структуры, образованной дискретно и перекрестно намотанными лентами из волокнистого материала, скрепленными полимерным связующим в узлах их взаимных перекрестий и разделенных щелями в межузловых промежутках, отличающаяся тем, что ленты указанной структуры смещены относительно друг друга по высоте стенки, а щели между ними образованы переменной величины и хаотично распределены по структуре стенки.
2. Труба-оболочка по п.1, отличающаяся тем, что пространственно-щелевая структура ее стенки образована спиральными и кольцевыми лентами, размещенными с чередованием относительно друг друга.
РИСУНКИ
|
|