|
|
(21), (22) Заявка: 2004127472/11, 13.09.2004
(24) Дата начала отсчета срока действия патента:
13.09.2004
(45) Опубликовано: 20.02.2006
(56) Список документов, цитированных в отчете о поиске:
JP 4216894 А, 06.08.1992. DE 19614268 A, 14.08.1997. RU 2005619 C1, 15.01.1994. GB 2190968 A, 02.12.1987. US 3751330 A, 07.08.1973.
Адрес для переписки:
150048, г.Ярославль, Московский пр-кт, 149, ОАО “ТИИР”
|
(72) Автор(ы):
Левит Михаил Захарович (RU), Крайнова Наталья Александровна (RU), Изюмова Вера Ивановна (RU), Пивень Евгений Григорьевич (RU)
(73) Патентообладатель(и):
Открытое акционерное общество “Термостойкие изделия и инженерные разработки” (ОАО “ТИИР”) (RU)
|
(54) ФРИКЦИОННОЕ ИЗДЕЛИЕ
(57) Реферат:
Изобретение относится к машиностроению, а именно к фрикционным изделиям. Фрикционное изделие содержит фрикционный элемент с полимерным покрытием на поверхности трения. Покрытие выполнено в виде рубчиков, а материал покрытия имеет абразивные свойства по отношению к материалу фрикционного элемента. Техническим результатом является обеспечение однородности фрикционных характеристик изделия и сокращение периода приработки за счет красящего покрытия. 2 ил. 
Изобретение относится к фрикционным изделиям, предназначенным для эксплуатации в тормозных узлах различных машин и оборудования, например к колодкам дисковых тормозов легковых и грузовых автомобилей.
Аналогом заявляемого изобретения является фрикционное изделие, поверхность трения которого имеет выпуклые образования в виде рубчиков под углом к направлению трения (см. заявку DE №19614268, МПК F 16 D 69/00, 1997). Существенные признаки аналога «поверхность трения, выпуклые образования в виде рубчиков» совпадают с существенными признаками заявляемого изобретения.
Недостатком аналога является значительное время приработки изделия, обусловленное образованием поверхности трения в результате износа рубчиков, изготовленных из материала фрикционного элемента изделия.
Другим аналогом заявляемого изобретения является фрикционное изделие, фрикционный элемент которого имеет на поверхности трения полимерное покрытие (см. заявку RU №2000101724, МПК С 08 J 5/14, 2001). Существенные признаки аналога «поверхность трения, полимерное покрытие» совпадают с существенными признаками заявляемого изобретения.
Недостатком аналога является несовпадение составов материала покрытия и материала фрикционного элемента изделия, обуславливающее несовпадение фрикционных характеристик слоев изделия.
Прототипом заявляемого изобретения является фрикционное изделие, фрикционный элемент которого имеет на поверхности трения полимерное покрытие, матрица которого совпадает по составу с матрицей полимерного композита, из которого изготовлен фрикционный элемент изделия (см. заявку JP №4-216894, 1992). Существенные признаки прототипа «поверхность трения, полимерное покрытие» совпадают с существенными признаками заявляемого изобретения.
Недостатком прототипа также является несовпадение составов материала покрытия и материала фрикционного элемента изделия, обуславливающее разнородность (несовпадение) фрикционных характеристик слоев изделия, а также то, что низкая износостойкость покрытия не полностью компенсирует несоответствие фрикционных поверхностей контртела и фрикционного элемента изделия, обуславливающее достаточно протяженный период приработки.
Задачей, на решение которой направлено заявляемое изобретение, является обеспечение однородности фрикционных характеристик изделия и сокращение периода приработки за счет красящего покрытия.
Для достижения указанного технического результата во фрикционном изделии, фрикционный элемент которого имеет на поверхности трения полимерное покрытие, полимерное покрытие выполнено в виде рубчиков, а материал покрытия имеет абразивные свойства по отношению к материалу фрикционного элемента. Существенные признаки заявляемого изобретения «полимерное покрытие выполнено в виде рубчиков, а материал покрытия имеет абразивные свойства по отношению к материалу фрикционного элемента» являются отличительными от признаков прототипа.
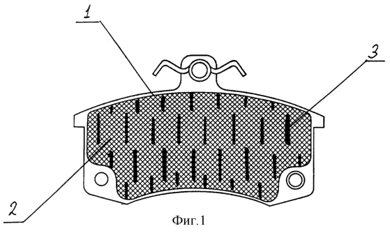
На фиг.1 представлена фрикционная поверхность изделия. На фиг.2 – сечение рубчика.
Фрикционное изделие содержит фрикционный элемент 1, выполненный, например, из полимерного фрикционного композита, включающего полимерную матрицу (вулканизат каучука, резит смолы и т.д.) и дисперсные, в том числе волокнистые, наполнители (барит, сурик, кокс и др.; полиарамидные волокна, стеклянные волокна, асбест и др.). Фрикционный элемент может быть зафиксирован на каркасе, например металлическом, или изделие может иметь другое исполнение. На фрикционной поверхности 2 фрикционного элемента имеются образования в виде рубчиков (рисок) 3, выполненных из полимерного материала. Рубчики могут иметь различную форму (отрезков линий, полумесяцев, точек, крестиков и др.) и различную высоту. Они могут располагаться на поверхности трения изделия симметрично, то есть образуя симметричный рисунок, или несимметрично. Размеры рубчиков могут быть одинаковы или отличаться друг от друга. Рубчики могут изготавливаться из различных полимерных материалов, например из термоструктурированных красителей. При этом материал рисок обладает абразивными свойствами по отношению к полимерному фрикционному композиту, из которого изготовлен фрикционный элемент изделия, и не обладает абразивными свойствами по отношению к материалу контртела (стали, чугуну). Для этого материал рисок может содержать частицы 4 бронзы, латуни, меди или др. металлов, более мягких, чем металл контртела, или другие компоненты, дающие указанный эффект. Соотношение общей площади рубчиков и площади фрикционной поверхности изделия может быть различным. Наиболее целесообразным является исполнение изделия, когда на рубчики приходится от 3% до 40% фрикционной поверхности изделия.
Заявленное изделие может быть изготовлено известными методами, например формованием в пресс-форме, механической обработкой, нанесением покрытия и его отверждением.
Конкретным примером заявляемого изобретения является колодка дискового тормоза автомобиля ВАЗ-2110, окрашенная порошковой краской ОХТЭК-2Т3 (бронза-антик). В состав краски входят: полиэфирная смола, эпоксидная смола, технический углерод, мел, барит, воск, бронзовая пудра с размером частиц 0,05÷0,12 мм. При этом поверхность трения колодки окрашена не полностью. Краска нанесена отдельными участками, имеющими форму изогнутых рубчиков (рисок). Такой рисунок может быть получен в результате нанесения порошка красителя на колодку, фрикционная поверхность которой контактирует с просечно-вытяжным листом. Могут использоваться и другие приемы, например, окраски через трафарет или по отдельным точкам.
Поскольку не вся поверхность трения изделия занята покрытием, то во фрикционном контакте уже в начальный момент участвует полимерный композит фрикционного элемента, и проблема неоднородности фрикционных характеристик слоев изделия практически снимается, а абразивность покрытия (бронзовой пудры) к полимеру фрикционного композита существенно снижает период приработки, при этом отсутствие абразивности к материалу контртела снимает проблему его повышенного износа в процессе приработки.
Формула изобретения
Фрикционное изделие, содержащее фрикционный элемент с полимерным покрытием на поверхности трения, отличающееся тем, что покрытие выполнено в виде рубчиков, а материал покрытия имеет абразивные свойства по отношению к материалу фрикционного элемента.
РИСУНКИ
|
|