|
|
(21), (22) Заявка: 2004133241/11, 15.11.2004
(24) Дата начала отсчета срока действия патента:
15.11.2004
(45) Опубликовано: 20.02.2006
(56) Список документов, цитированных в отчете о поиске:
SU 1625824 A1, 07.02.1991. SU 846873 A1, 15.07.1981. GB 908250 А, 17.10.1962. RU 2226244 С2, 27.03.2004.
Адрес для переписки:
199106, Санкт-Петербург, В.О., 21 линия, 2, СПГГИ (ТУ), патентный отдел
|
(72) Автор(ы):
Тарасов Юрий Дмитриевич (RU)
(73) Патентообладатель(и):
Государственное образовательное учреждение высшего профессионального образования Санкт-Петербургский государственный горный институт им. Г.В. Плеханова (технический университет) (RU)
|
(54) ЛЕНТОЧНЫЙ ТОРМОЗ
(57) Реферат:
Изобретение относится к области машиностроения, а именно к ленточным тормозам. Ленточный тормоз содержит закрепленный на тормозном валу тормозной шкив, огибаемый гибкой стальной лентой, один конец которой закреплен на конце рычага, а другой – в его средней части. Упомянутый конец рычага с помощью шарнира установлен на раме, а другой конец рычага кинематически связан с приводами механизмов замыкания и размыкания тормоза. Тормозной шкив выполнен с тремя ободами, центральным и примыкающими к нему двумя внешними ободами. Два внешних обода огибаются дополнительными гибкими стальными лентами, концы которых направлены в сторону, противоположную концам первой упомянутой ленты, а их концы закреплены на концах второго рычага, шарнирно установленного на раме, диаметрально противоположно первому рычагу относительно тормозного вала. Средняя часть второго рычага с помощью двух тяг шарнирно связана с первым рычагом, снабженным вторым плечом, выступающим за пределы шарнира этого рычага. Расстояния между точками крепления всех стальных лент к своим рычагам и удаление концов тяг от шарниров первого и второго рычагов приняты одинаковыми. Шарниры тяг выполнены в виде общих осей, а сами тяги снабжены винтовыми стяжками. Ширина центральной ленты принята в два раза больше ширины боковых лент. Техническим результатом является увеличение тормозного момента, создаваемого тормозом, возможность использования тормоза в реверсивных механизмах, устранение изгибающего момента на тормозной вал, повышение надежности работы кинематически связанного с тормозом механизма за счет использования трех тормозных лент. 1 з.п. ф-лы, 4 ил. 
Изобретение относится к тормозным устройствам, а именно к ленточным тормозам.
Известен простой ленточный тормоз (прототип), содержащий закрепленный на тормозном валу тормозной шкив, огибаемый гибкой стальной лентой, один конец которой закреплен на конце рычага, а другой – в его средней части, причем упомянутый конец рычага с помощью шарнира установлен на раме, а другой конец рычага кинематически связан с приводами механизмов замыкания и размыкания тормоза (Александров М.П,, Колобов Л.Н., Лобов Н.А. и др. Грузоподъемные машины, с.192-194, 196-197, рис.7.19 а).
Недостатками известного тормоза являются ограниченная величина развиваемого им тормозного момента, невозможность использования тормоза в реверсивных механизмах из-за значительного уменьшения тормозного момента при реверсировании тормозного вала, большой изгибающий момент на тормозном валу, создаваемый натяжениями обеих ветвей тормозной ленты, малая надежность работы тормоза из-за возможности порыва тормозной ленты.
Техническим результатом изобретения является увеличение тормозного момента, развиваемого тормозом, возможность использования тормоза в реверсивных механизмах, устранение изгибающей нагрузки на тормозной вал и повышение надежности работы тормоза.
Технический результат достигается тем, что в ленточном тормозе, содержащем закрепленный на тормозном валу тормозной шкив, огибаемый гибкой стальной лентой, один конец которой закреплен на конце рычага, а другой – в его средней части, причем упомянутый конец рычага с помощью шарнира установлен на раме, а другой конец рычага кинематически связан с приводами механизмов замыкания и размыкания тормоза, согласно изобретению, тормозной шкив выполнен с тремя ободами, центральным и примыкающими к нему двумя внешними ободами, при этом два внешних обода огибаются дополнительными гибкими стальными лентами, концы которых направлены в сторону, противоположную концам первой упомянутой ленты, а их концы закреплены на концах второго рычага, шарнирно установленного на раме, диаметрально противоположно первому рычагу относительно тормозного вала, средняя часть второго рычага с помощью двух тяг шарнирно связана с первым рычагом, снабженным вторым плечом, выступающим за пределы шарнира этого рычага, при этом расстояния между точками крепления всех стальных лент к своим рычагам и удаление концов тяг от шарниров первого и второго рычагов приняты одинаковыми, шарниры тяг выполнены в виде общих осей, а сами тяги снабжены винтовыми стяжками, при этом ширина центральной ленты принята в два раза больше ширины боковых лент. Тяги могут быть связаны между собой посредством шарниров с коромыслом, а последнее -шарнирно со штоком, который снабжен винтовой стяжкой.
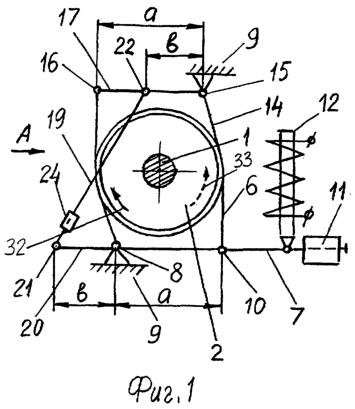
Ленточный тормоз представлен на фиг.1 – вид сбоку, с независимо установленными тягами, на фиг.2 – то же, с тягами, соединенными коромыслом, на фиг.3 – вид А по фиг.1, на фиг.4 – вид Б по фиг.2.
Ленточный тормоз содержит закрепленный на тормозном валу 1 тормозной шкив 2, выполненный с тремя ободами – центральным 3 и примыкающими к нему внешними ободами 4 и 5. Центральный обод 3 огибается гибкой стальной лентой 6, один конец которой закреплен на рычаге 7 в точке, соответствующей шарниру 8, установленному на раме 9, а другой конец 10 – в средней части рычага 7. Этот конец рычага 7 кинематически связан с приводами механизма замыкания – противовесом 11 и механизма размыкания тормоза – электромагнитом 12. Два внешних обода 4 и 5 тормозного шкива 2 огибаются дополнительными гибкими стальными лентами 13 и 14, концы 15 и 16 которых направлены в сторону, противоположную концам первой ленты 6, и закреплены на концах второго рычага 17. При этом ширина центральной ленты 6 принята в два раза больше ширины внешних лент 13 и 14, огибающих внешние ободы 4 и 5. Рычаг 17 посредством шарнира 15 установлен на раме 9 диаметрально противоположно первому рычагу 7 относительно тормозного вала 1. Средняя часть второго рычага 17 с помощью двух тяг 18 и 19 шарнирно связана с вторым плечом 20 первого рычага 7, выступающим за пределы шарнира 8 этого рычага. При этом расстояния между точками крепления стальных лент 6 и 14 к своим рычагам 7 и 17 и удаление b концов 21 и 22 тяг 18 и 19 от шарниров 8 и 15 первого 7 и второго 17 рычагов приняты одинаковыми. Тяги 18 и 19 снабжены винтовыми стяжками 23 и 24 (фиг.1 и 3). Шарниры 21 и 22 тяг 18 и 19 выполнены в виде осей. Тяги 18 и 19 (фиг.2 и 4) могут быть связаны между собой посредством шарниров 25 и 26 коромыслом 27, которое в свою очередь посредством шарнира 28 соединено со штоком 29, снабженным винтовой стяжкой 30. Шток 29 шарнирно (31) соединен с концом плеча 20 первого рычага 7. 32 и 33 – возможные направления вращения тормозного вала 1 с тормозным шкивом 2.
Ленточный тормоз действует следующим образом. При нормальной работе механизма тормозной вал 1 вращается при включенном приводе механизма размыкания 12. Затормаживание механизма происходит при выключении привода механизма размыкания 12. Под действием веса противовеса 11 двуплечий рычаг 7, 20 поворачивается по часовой стрелке, а прикрепленная к плечу 7 этого рычага гибкая стальная лента 6 прижимается к центральному ободу 3 тормозного шкива 2. Одновременно плечо 20 двуплечего рычага воздействует на тяги 18 и 19, которые поворачивают второй рычаг 17 также по часовой стрелке. Благодаря этому две дополнительная гибкие стальные ленты 13 и 14 прижимаются соответственно к внешним ободам 4 и 5 тормозного шкива 2. За счет трения всех трех лент 6 и 13,14 об ободы 3 и 4, 5 тормозного шкива 2 тормозной вал 1 и кинематически связанный с ним механизм (не показан) затормаживаются. При этом, поскольку лента 6 и ленты 13, 14 воздействуют на тормозной шкив 2 в противоположных направлениях с одинаковыми суммарными усилиями и за счет симметричного расположения двух лент 13 и 14 относительно центральной ленты 6, размещенной между ними, тормозной вал 1 не испытывает никакой изгибающей нагрузки. За счет диаметрального расположения точек 8 и 15 крепления тормозных лент 6 и 13, 14 к рычагам 7 и 17 относительно тормозного вала 1 и крепления тяг 18, 19 к средней части второго рычага 17 минимизируются габариты тормоза за счет ограничения второго плеча 20 рычага 7. Выполнение центральной ленты 6 в два раза более широкой, чем внешние ленты 13 и 14, обеспечивает равнопрочность этих лент.
При установке тяг 18 и 19 с использованием коромысла 27 облегчается регулировка тормозных лент 6, 13 и 14 с помощью одной винтовой стяжки 30, а натяжения лент 13 и 14 распределяются строго поровну.
Использование двух комплектов тормозных лент 6 и 13, 14 обеспечивает увеличение тормозного момента не менее чем в четыре раза по сравнению с тормозным моментом, развиваемым тормозом-прототипом, при направлении 32 вращения тормозного вала 1 и обеспечивает возможность создания тормозного момента после реверса механизма (при направлении 33 вращения тормозного вала 1), соответствующего по величине максимальному значению тормозного момента, развиваемому тормозом-прототипом.
При случайном обрыве одной из лент 6, 13 или 14 существенно снижается вероятность возникновения аварийной ситуации, т.к. две из трех лент будут фиксировать тормозной шкив 2, не давая ему повернуться вместе с тормозным валом 1. Винтовые стяжки 23 и 24 позволяют осуществлять регулировку тормоза для обеспечения равенства отходов и одинакового прижатия лент 6 и 13, 14 к ободам 3, 4 и 5 тормозного шкива 2.
Отличительные признаки изобретения позволяют увеличить тормозной момент, создаваемый тормозом, по крайней мере в четыре раза по сравнению с тормозом-прототипом, использовать тормоз в реверсивных механизмах при достаточной величине тормозного момента, развиваемого тормозом после реверса механизма, полностью устранить изгибающий момент на тормозной вал и уменьшить его диаметр, повысить надежность работы кинематически связанного с тормозом механизма за счет использования трех тормозных лент вместо одной.
Формула изобретения
1. Ленточный тормоз, содержащий закрепленный на тормозном валу тормозной шкив, огибаемый гибкой стальной лентой, один конец которой закреплен на конце рычага, а другой – в его средней части, причем упомянутый конец рычага с помощью шарнира установлен на раме, а другой конец рычага кинематически связан с приводами механизмов замыкания и размыкания тормоза, отличающийся тем, что тормозной шкив выполнен с тремя ободами – центральным и примыкающими к нему двумя внешними ободами, при этом два внешних обода огибаются дополнительными гибкими стальными лентами, концы которых направлены в сторону, противоположную концам первой упомянутой ленты, а их концы закреплены на концах второго рычага, шарнирно установленного на раме, диаметрально противоположно первому рычагу относительно тормозного вала, средняя часть второго рычага с помощью двух тяг шарнирно связана с первым рычагом, снабженным вторым плечом, выступающим за пределы шарнира этого рычага, при этом расстояния между точками крепления всех стальных лент к своим рычагам и удаление концов тяг от шарниров первого и второго рычагов приняты одинаковыми, шарниры тяг выполнены в виде общих осей, а сами тяги снабжены винтовыми стяжками, при этом ширина центральной ленты принята в два раза больше ширины боковых лент.
2. Ленточный тормоз по п.1, отличающийся тем, что тяги связаны между собой посредством шарниров с коромыслом, а последнее – шарнирно со штоком, который снабжен винтовой стяжкой.
РИСУНКИ
MM4A – Досрочное прекращение действия патента СССР или патента Российской Федерации на изобретение из-за неуплаты в установленный срок пошлины за поддержание патента в силе
Дата прекращения действия патента: 16.11.2006
Извещение опубликовано: 27.08.2008 БИ: 24/2008
|
|