|
| На основании пункта 3 статьи 13 Патентного закона Российской Федерации от 23 сентября 1992 г. № 3517-I патентообладатель обязуется передать исключительное право на изобретение (уступить патент) на условиях, соответствующих установившейся практике, лицу, первому изъявившему такое желание и уведомившему об этом патентообладателя и федеральный орган исполнительной власти по интеллектуальной собственности, – гражданину РФ или российскому юридическому лицу. |
|
(21), (22) Заявка: 2004123708/11, 02.08.2004
(24) Дата начала отсчета срока действия патента:
02.08.2004
(45) Опубликовано: 20.02.2006
(56) Список документов, цитированных в отчете о поиске:
А.Я.ШАЦ. Стопорение резьбовых соединений. – М.: НКАП Оборонгиз, Главная редакция авиационной литературы, 1946, с.48-50, фиг.42-44. SU 838122 А, 15.06.1981. FR 2336586 A1, 22.07.1977. DE 2726190 A1, 21.12.1978.
Адрес для переписки:
190000, Санкт-Петербург, Гл. почтамт, до востребования, Л.Н. Буркову
|
(72) Автор(ы):
Бурков Лев Николаевич (RU)
(73) Патентообладатель(и):
Бурков Лев Николаевич (RU)
|
(54) РЕЗЬБОВОЕ СОЕДИНЕНИЕ
(57) Реферат:
Изобретение относится к области машиностроения и может быть использовано в резьбовых соединениях деталей машин. Резьбовое соединение включает болт с отверстием для фиксирующего элемента, гайку и шайбы. Гайка имеет дополнительную фаску на верхней кромке центрального отверстия не менее 3 мм по ширине. Отверстие в болте под фиксирующий элемент с обеих сторон также имеет фаску не менее 2 мм по ширине. Высота Нэ выполнения отверстия под фиксирующий элемент на болте от плоскости скрепляемого элемента определяется из соотношения: Нэ=Нг+hш+hз, где Нг – высота гайки, hш – высота шайб, hз – высота зазора между гайкой и нижним краем фиксирующего элемента, определяемая из соотношения hз=1/2 Dфэ, где Dфэ – диаметр фиксирующего элемента, который выполнен круглым в поперечном сечении и пружинным в виде полукольца с загнутыми концами внутрь по оси, перпендикулярной оси симметрии, причем они свободно входят в отверстие на болте, а остальная часть фиксирующего элемента охватывает полукольцом тело болта с одной из сторон. Технический результат – повышение надежности резьбового соединения с минимально возможным самоотворачиванием гайки и упрощение конструкции. 3 ил. 
Изобретение относится к области машиностроения и может быть использовано в резьбовых соединениях деталей машин и механизмов для надежного соединения без самопроизвольного отворачивания.
Известно резьбовое соединение SU 1580061, F 16 В 39/00, в котором винт с головкой соединяет детали, а с противоположной стороны навернута гайка, а тело винта с противоположной головке стороны раздвоено и установлен фиксирующий элемент.
Существенным недостатком такой конструкции является ненадежность при знакопеременных нагрузках, которые вызывают разбалтывание соединения и выход из строя.
Задачей данного изобретения является повышение надежности резьбового соединения с минимально возможным самоотворачиванием гайки и упрощение конструкции.
Поставленная задача достигается тем, что гайка имеет дополнительную фаску на верхней кромке центрального отверстия не менее 3 мм по ширине, а отверстие в болте под фиксирующий элемент обоих сторон также имеет фаску не менее 2 мм по ширине, причем высота выполнения отверстия на болте от плоскости скрепляемого элемента определяется из соотношения:
Нэ=Нг+hш+hз,
где Нэ – высота сверления под фиксирующий элемент, Нг – высота гайки, hш – высота шайб, hз – высота зазора между гайкой и нижним краем фиксирующего элемента, определяемая из соотношения hз=1/2 Dфэ, где Dфэ – диаметр фиксирующего элемента, который выполнен круглым в поперечном сечении и пружинным в виде полукольца с загнутыми концами внутрь по оси, перпендикулярной оси симметрии, причем они свободно входят в отверстие на болте, а остальная часть фиксирующего элемента охватывает полукольцом тело болта с одной из сторон. Новые существенные признаки:
– гайка имеет дополнительную фаску на верхней кромке центрального отверстия не менее 3 мм по ширине,
– отверстие в болте под фиксирующий элемент с обоих сторон также имеет фаску не менее 2 мм по ширине,
– высота выполнения отверстия на болте под фиксирующий элемент от плоскости скрепляемого элемента определяется из соотношения:
Нэ=Нг+hш+hз,
где Нэ – высота сверления под фиксирующий элемент, Нг – высота гайки, hш – высота шайб, hз – высота зазора между гайкой и нижним краем фиксирующего элемента, определяемая из соотношения hз=1/2 Dфэ, где Dфэ – диаметр фиксирующего элемента,
– фиксирующий элемент выполнен круглым в поперечном сечении и пружинным в виде полукольца с загнутыми концами внутрь по оси, перпендикулярной оси симметрии,
– загнутые концы фиксирующего элемента свободно входят в отверстие на болте, а остальная часть фиксирующего элемента охватывает полукольцом тело болта с одной из сторон.
Перечисленные новые существенные признаки в совокупности с известными необходимы и достаточны для достижения технического результата во всех случаях, на которые распространяется испрашиваемый объем правовой защиты. Технический результат достигается за счет того, что
– гайка имеет дополнительную фаску на верхней кромке центрального отверстия не менее 3 мм по ширине для предотвращения срезания фиксирующего элемента при возможном самоотворачивании гайки,
– отверстие в болте под фиксирующий элемент с обоих сторон также имеет фаску не менее 2 мм по ширине с аналогичной целью, но уже с противоположной стороны фиксирующего элемента,
– высота выполнения отверстия на болте от плоскости скрепляемого элемента определяется из соотношения: Нэ=Нг+hш+hз, где Нэ – высота сверления под фиксирующий элемент, Нг – высота гайки, hш – высота шайб, hз – высота зазора между гайкой и нижним краем фиксирующего элемента, определяемая из соотношения hз=1/2 Dфэ, где Dфэ – диаметр фиксирующего элемента для обеспечения минимизации размеров соединения. При этом:
– фиксирующий элемент выполнен круглым в поперечном сечении и пружинным в виде полукольца с загнутыми концами внутрь по оси, перпендикулярной оси симметрии для обеспечения фиксации гайки,
– концы пружинного фиксирующего элемента свободно входят в отверстие на болте, а остальная часть фиксирующего элемента охватывает полукольцом тело болта с одной из сторон для обеспечения работоспособности фиксирующего элемента и минимальные габариты.
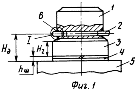
На фиг.1 дан фронтальный вид резьбового соединения, на фиг.2 дан вид сверху с фиг.1, показывающий соединение фиксирующего элемента с болтом, на фиг.3 показан вид узла 1 с фиг.1, показывающий взаимное расположение деталей резьбового соединения.
Устройство соединения. Резьбовой элемент 1 с фиксирующим элементом 2 и гайкой 3 вместе с шайбами 4 и скрепляемым элементом 5 в совокупности составляют резьбовое соединение. Фаски 6 выполнены на входной и выходной кромках отверстия под фиксирующий элемент, фаска 7 выполнена на верхней кромке центрального отверстия гайки 3.
Работа резьбового соединения. При сборе резьбового соединения все детали выполняют определенные роли: резьбовой элемент 1 стягивает скрепляемую деталь 5 гайкой 3, а фиксирующий элемент 2 предотвращает самоотворачивание гайки 3, входя своими отогнутыми концами в специально выполненное отверстие в резьбовом элементе 1. Подбирая высоты шайб 4, можно минимизировать величину зазора h так, чтобы самоотворачивание гайки 3 было бы минимальным, но даже и эта величина не позволит соединению раскрыться, т.к. фаска 7 на гайке и фаска 6 на отверстии в резьбовом элементе сводят возможно возникаемые напряжения среза при самоотворачивании гайки напряжениями смятия по плоскостям фасок и фиксирующего элемента и это предохранит соединение от самого худшего – среза фиксирующего элемента.
Формула изобретения
Резьбовое соединение, включающее болт с отверстием для фиксирующего элемента, гайку и шайбы, отличающееся тем, что гайка имеет дополнительную фаску на верхней кромке центрального отверстия не менее 3 мм по ширине, а отверстие в болте под фиксирующий элемент с обеих сторон также имеет фаску не менее 2 мм по ширине, причем высота Нэ выполнения отверстия под фиксирующий элемент на болте от плоскости скрепляемого элемента определяется из соотношения:
Нэ=Нг+hш+hз, где
Нг – высота гайки,
hш – высота шайб,
hз – высота зазора между гайкой и нижним краем фиксирующего элемента, определяемая из соотношения hз=1/2 Dфэ, где
Dфэ – диаметр фиксирующего элемента, который выполнен круглым в поперечном сечении и пружинным в виде полукольца с загнутыми концами внутрь по оси, перпендикулярной оси симметрии, причем они свободно входят в отверстие на болте, а остальная часть фиксирующего элемента охватывает полукольцом тело болта с одной из сторон.
РИСУНКИ
|
|