|
|
(21), (22) Заявка: 2004107945/06, 19.03.2004
(24) Дата начала отсчета срока действия патента:
19.03.2004
(43) Дата публикации заявки: 27.09.2005
(45) Опубликовано: 20.02.2006
(56) Список документов, цитированных в отчете о поиске:
US 4556087 А, 03.12.1985. US 3741692 A, 09.06.1973. SU 1083021 A, 30.03.1984. SU 533760 A, 30.10.1976. SU 1622707 A1, 23.01.1991.
Адрес для переписки:
390013, г.Рязань, Первомайский пр-кт, 76, кв.7, В.И. Грянину
|
(72) Автор(ы):
Грянин Валерий Иванович (RU), Беляев Павел Васильевич (RU), Подрезов Александр Владимирович (RU)
(73) Патентообладатель(и):
Грянин Валерий Иванович (RU), Беляев Павел Васильевич (RU), Подрезов Александр Владимирович (RU)
|
(54) ПНЕВМОГИДРАВЛИЧЕСКИЙ АККУМУЛЯТОР МЕМБРАННЫЙ
(57) Реферат:
Аккумулятор предназначен для гашения пульсаций давления жидкости в трубопроводах. Аккумулятор содержит емкость, разделенную мембраной на газовую и жидкостную полости, при этом на верхней стенке емкости имеется блок управления сжатым газом, корпус которого содержит вертикальный цилиндрический канал, выходящий в газовую полость емкости и два перпендикулярно ему расположенных цилиндрических канала с помещенными внутрь их идентичными клапанами, поджатыми пружинами к торцам штуцеров, установленных в корпусе напротив их и перекрывающих у одного штуцера сопловое отверстие входа сжатого газа в газовую полость емкости, а у другого штуцера, имеющего внутри себя редукционный клапан, сопловое отверстие сброса сжатого газа в атмосферу, причем внутри вертикального канала и продольных сквозных пазов клапанов находится копир, связанный с мембраной и имеющий возможность взаимодействовать с помощью кулачка, находящегося на нем, с упорами клапанов при перемещении мембраны за пределы заданной рабочей зоны. Технический результат – повышение надежности. 11 ил. 
Изобретение относится к пневмогидравлическим аккумуляторам мембранным и может быть использовано в нефтяной, химической и других отраслях промышленности для гашения пульсаций давления жидкости, связанных с неравномерностью ее подачи.
Из технической и патентной литературы известны пневмогидроаккумуляторы, содержащие емкости, разделенные упругими эластичными элементами на газовые и жидкостные полости. В нашей стране серийно выпускаются такие устройства Людиновским агрегатным заводом типа АПГ-Б-20. Газовая полость в них предварительно заполняется газом под давлением. Недостатком указанных устройств является узкий диапазон давлений, на которых они могут нормально работать. При давлении жидкости меньше давления газа, заполняющего газовую полость, они вообще не функционируют. При значительном увеличении давления жидкости газ внутри газовой полости сжимается, уменьшается рабочий объем газовой полости и качество демпфирования резко уменьшается. Эластичный разделитель этих пневмогидроаккумуляторов выполняется в виде баллона, способного выдержать значительные деформации при изменении давления жидкости. В основном баллоны изготовляются из резины различных марок. Применение в них разделителей, выполненных из плоских пластин политетрафторэтилена (фторопласта-4, тефлона), стойкого почти во всех агрессивных средах, затруднено или вообще невозможно из-за требований значительных деформаций разделителя.
Известны пневмогидроаккумуляторы, в которых указанные недостатки попытались устранить.
В частности, известен пневмогидравлический аккумулятор (а.с. №533760 М.Кл.2 F 15 В 1/04), содержащий баллон, разделенный эластичным элементом на газовую и гидравлическую камеры, сообщенные соответственно с пневмо- и гидросистемой через клапаны, установленные с возможностью взаимодействия с эластичным элементом, отличающийся тем, что газовая камера снабжена обратным клапаном, а вне баллона установлен механически связанный с обратным клапаном гидроцилиндр, управляющая полость которого сообщена с гидросистемой через клапаны гидравлической системы. Наличие клапана в жидкостной среде и трубная связь его с поршневым механизмом усложняет устройство. Применение его для сглаживания пульсаций агрессивных жидкостей практически невозможно. Кроме того, в клапане гидравлической камеры предусмотрено сливное отверстие в канализацию, через которое сбрасывается часть рабочей среды после срабатывания поршневого механизма, что исключает его применение, например, на взрывоопасных и токсичных средах.
Аналогом предлагаемого устройства является пневмогидроаккумулятор (далее ПГА) U. S. Pat. №3741692, содержащий емкость, разделенную мембраной на газовую и жидкостные полости. Мембрана имеет жесткий центр, соединенный со штоком. На штоке закреплены две тарелки, одна помещена в газовой полости и имеет возможность воздействовать на пневматический клапан подачи воздуха в газовую полость при крайнем верхнем положении мембраны, а вторая тарелка находится вне емкости и имеет возможность воздействовать на клапан сброса воздуха в атмосферу из газовой полости при нижнем положении мембраны. Устройство имеет довольно сложную конструкцию. Кроме того, шток выходит из емкости наружу через сальниковое устройство (манжету, резиновое кольцо), что значительно понижает надежность работы ПГА.
Прототипом является ПГА по патенту U.S. №4556087, содержащий емкость, разделенную мембраной на газовую и жидкостную полости. Мембрана имеет жесткий центр, связанный штоком в верхней части с плунжером. Плунжер проходит через уплотнительные элементы (манжеты, кольца) и через расточки в блоке управления, помещенном на верхней крышке емкости. При крайнем верхнем положении мембраны плунжер соединяет линию питания сжатым воздухом с газовой полостью, а при крайнем нижнем положении соединяет газовую полость с атмосферой. Основным недостатком указанного ПГА является наличие в нем сальникового уплотнения (манжеты или кольца) плунжера, которое находится все время в работе и срок службы его ограничен. Необходимо учесть, что многие ПГА работают с большой частотой пульсаций (500-1000 колебаний в минуту), что приводит к быстрому износу уплотнительных элементов и выходу ПГА из строя. Вторым существенным недостатком известного ПГА является то, что при остановке насоса весь воздух из воздушной полости ПГА сбрасывается в атмосферу. При работе ПГА с насосами, имеющими частый пуск и остановку, расход сжатого газа значительно увеличивается.
Цель изобретения – повышение надежности работы ПГА, сокращение расхода сжатого газа и расширение функциональных возможностей.
Указанная цель обеспечивается тем, что предлагаемый ПГА мембранный (далее ПГАМ), содержащий емкость, разделенную мембраной на газовую и жидкостную полости, на верхней стенке емкости имеет блок управления сжатым газом, корпус которого содержит вертикальный цилиндрический канал, выходящий в газовую емкость полости, и два перпендикулярно ему расположенных цилиндрических канала с помещенными внутрь их идентичными клапанами, поджатыми пружинами к торцам штуцеров, установленных в корпусе напротив них, и перекрывающих у одного штуцера сопловое отверстие входа сжатого газа в газовую полость емкости, а у другого штуцера, имеющего внутри себя редукционный клапан, – сопловое отверстие для сброса сжатого газа в атмосферу, причем внутри вертикального канала и продольных сквозных пазов клапанов находится копир, связанный с мембраной и имеющий возможность взаимодействовать с помощью кулачка, находящегося на нем, с упорами клапанов при перемещении мембраны за пределы заданной рабочей зоны.
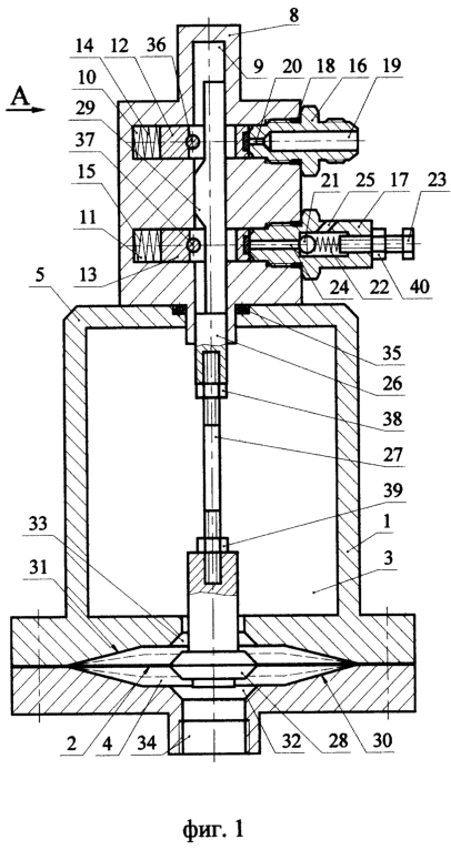
На фиг.1, 2 показан общий вид ПГАМ.
На фиг.3, 4, 5, 6, 7, 8 показаны три варианта исполнения клапана. Соответственно фиг.3, 5 и 7 – это фронтальные проекции (разрезы) каждого из вариантов клапана, а фиг.4, 6 и 8 – виды сверху.
На фиг.9, 10 и 11 показан вариант исполнения копира, изображенный в трех проекциях, соответственно – вид спереди, вид слева и вид сверху.
ПГАМ содержит емкость 1, разделенную мембраной 2 на газовую полость 3 и жидкостную полость 4. На верхней стенке 5 емкости 1 с помощью болтов 6 закреплен блок управления 7 сжатым газом. В корпусе 8 блока управления 7 имеются вертикальный цилиндрический канал 9, выходящий в газовую полость 3, и два перпендикулярно ему расположенных цилиндрических канала 10, 11, в которые помещены клапаны 12, 13, поджатые пружинами 14, 15 к торцам штуцеров 16, 17, ввернутых на резьбе в корпус 8 и уплотненных прокладками 18. К штуцеру 16 подводится сжатый газ от соответствующего источника (баллон со сжатым газом, воздушный компрессор, магистраль на производстве, находящаяся под давлением сжатого газа и т.д.). Штуцер 16 имеет центральный канал 19, заканчивающийся сопловым отверстием 20, перекрытый клапаном 12. Внутри штуцера 17 находится редукционный клапан 21, пружина 22 и винт 23. Штуцер 17 имеет сопловое отверстие 24, перекрытое клапаном 13, и отверстие 25 – выход в атмосферу. Варианты выполнения клапанов показаны на фиг.3, 4, 5, 6, 7, 8. Они имеют цилиндрический корпус 41, на торце которого закреплен уплотнительный эластичный элемент 42 (фиг.3, 4, 7, 8) или сделан конусообразный или сферической формы элемент 43 (фиг.5, 6), притертый к стенкам сопловых отверстий 20, 24. Корпус 41 имеет продольный сквозной паз 44 (продольное отверстие) и упор. На фиг.3, 4 упор 45 выполнен в виде ролика, вставленного в отверстие корпуса 41 по скользящей посадке. На фиг.5, 6 упор 46 выполнен в виде профильного выступа. На фиг.7, 8 упор выполнен в виде шарика 47, помещенного в расточку корпуса 41 по скользящей посадке и подпертого винтом 48. При этом диаметр шарика 47 должен быть больше ширины паза 44.
Внутри вертикального канала 9 находится копир 26, проходящий через продольные сквозные пазы 44 (см. фиг.3, 4, 5, 6, 7, 8) клапанов 12,13 и связанный шпилькой 27 с жестким центром 28 мембраны 2.
Копир 26 изображен на фиг.9, 10, 11. Он имеет снизу цилиндрический участок 49 с резьбовым отверстием 50, сопряженный с плоским участком 51. В центральной части участка 51 выполнен кулачок 29, профили сторон 52 и 53 которого определяют законы открытия клапанов 12, 13 (фиг.1). На цилиндрическом участке 49 сделаны две лыски 54 для прохода газа в камеру 3.
Ход мембраны 2 ограничен стенками 30 и 31, на которых выполнены проточки 32, 33, совпадающие по профилю с наружным профилем поверхностей жесткого центра 28 мембраны 2. При крайних положениях мембраны 2 (верхнем или нижнем) она ложится соответственно на стенку 31 или стенку 30, а верхний или нижний участки жесткого центра 28 входят заподлицо в соответствующие проточки 33 или 32 и повреждения мембраны 2 нет.
Рабочая жидкость подается в жидкостную камеру 4 через отверстие 34. Блок управления 7 уплотнен на стенке 5 резиновым кольцом 35. На фиг.1 позициями 38, 39, 40 обозначены контргайки.
Описание работы ПГАМ.
Перед пуском ПГАМ в штуцер 16 подается давление сжатого газа от соответствующего источника (например, через редуктор от баллона со сжатым газом). Давление сжатого газа должно быть больше рабочего давления жидкости, подаваемой в жидкостную полость 4.
При подаче жидкости через отверстие 34 в жидкостную полость 4 мембрана 2 перемещается вверх, ложится на стенку 31, верхняя часть жесткого центра 28 заподлицо входит в проточку 33. Копир 26 также поднимается вверх. Кулачок 29 копира 26 взаимодействует с упором 36 клапана 12, отводит его влево, открывая сопловое отверстие 20 для поступления сжатого газа в газовую полость 3.
Мембрана перемещается вниз до тех пор, пока не прекратится воздействие кулачка 29 копира 26 на упор 36 клапана 12, который после этого перекрывает подачу сжатого газа в газовую полость 3. ПГАМ выходит на нормальный режим работы.
При увеличении давления жидкости процесс аналогичен, но при этом мембрана 2 может не доходить до верхнего крайнего положения.
При снижении давления жидкости мембрана 2, жесткий центр 28 и копир 26 перемещаются вниз до тех пор, пока кулачок 29 копира 26 не начнет воздействовать на упор 37 клапана 13, перемещая его влево и открывая при этом сопловое отверстие 24. Давление в газовой полости 3 понижается, мембрана 2 начинает подниматься вверх и, когда прекратится воздействие кулачка 29 на упор 37 клапана 13, мембрана возвращается в свое рабочее положение. При этом клапан 13 закрывает сопловое отверстие 24 в штуцере 17. Наличие редукционного клапана 21 в штуцере 17 позволяет путем регулировки натяга пружины 22 винтом 23 обеспечить определенное давление газа в газовой полости 3 при остановке насоса, работающего в комплекте с ПГАМ, что позволяет значительно сократить расход сжатого газа. Сжатый газ, оставшийся в газовой полости 3 после остановки насоса, способствует «мягкому» пуску насоса и более быстрому выходу ПГАМ на нормальный режим работы насоса, что является также существенным преимуществом предлагаемого устройства перед известным прототипом. Мембрана 2 при остановке насоса за счет давления сжатого газа, оставшегося в данном случае в газовой полости, ложится на поверхность 30, а нижняя часть жесткого центра 28 входит заподлицо в проточку 32 и таким образом мембрана 2 предохраняется от разрушения.
На фиг.1 пунктиром условно обозначена рабочая зона перемещения мембраны 2 при выходе ПГАМ на нормальный режим работы.
Объем Q ее может быть определен для идеального случая работы ПГАМ, работающего в комплекте с насосом, имеющего, например, единичную подачу q (см3) по формуле: Q=q/2. Т.е. половину единичной подачи ПГАМ поглощает в себя, затем половину выдает в магистраль. Перемещение мембраны 2 за пределы указанной рабочей зоны вверх, как было указано ранее, увеличивает поступление сжатого газа в газовую полость 3, а при перемещении мембраны вниз за пределы рабочей зоны из газовой полости 3 осуществляется сброс в атмосферу части сжатого газа.
Таким образом, автоматически осуществляется оптимальный режим работы мембраны 2 около ее нейтрального положения. Указанное позволяет в качестве материала мембраны 2 использовать пластины из политетрафторэтилена (фторопласта-4, тефлона), стойкого к большинству агрессивных сред. Предложенный ПГАМ обеспечивает устойчивую работу в широком диапазоне рабочих давлений. Величина большого давления определяется только прочностью корпуса емкости и наличием источника давления сжатого газа. После выхода на нормальный режим работы ПГАМ газ не расходует. Газ расходуется только в переходные моменты – переходе на другое рабочее давление.
Объем газовой полости ПГАМ при работе на различных давлениях остается практически постоянным, что является очень важным фактором качества сглаживания пульсаций. В ПГАМ отсутствуют какие-либо уплотнительные элементы движущихся деталей. Копир 26 свободно перемещается (копирует перемещение мембраны 2) внутри канала 9 и продольных сквозных пазов 44 (фиг.3, 4, 5, 6, 7, 8). Клапаны 12, 13 работают в ждущем режиме. При нормальной работе ПГАМ они постоянно закрыты. Срок службы их практически неограничен. Блок управления 7 (фиг.1) представляет собой компактное, несложное устройство.
Использование копира 26 в качестве привода для открытия клапанов 12 и 13 позволяет реализовать различные законы открытия их.
На фиг.9 показан копир, имеющий рабочие элементы для воздействия на упоры 36, 37 клапанов 12, 13 (фиг.1) наклонные поверхности 52 и 53, угол наклона которых к осевой линии определяет величину открытия клапанов 12 и 13 при перемещении копира 26 на определенную величину. На фиг.9 поверхности 52 и 53 условно показаны под одним углом, следовательно, при перемещении копира 26 вверх или вниз относительно упоров 36, 37 (фиг.1) на постоянную величину оба клапана 12 и 13 будут открыты одинаково.
Путем изменения наклона одной из поверхностей 52, 53 можно обеспечить различное открытие клапанов 12 и 13 при перемещении копира 26 на одинаковую величину. Устройство позволяет путем изменения профиля копира 26 обеспечить любой требуемый закон открытия клапанов 12, 13.
Известно, что между расходом газа или жидкости и перепадом давления, возникающим на клапане при его открытии, существует квадратичная зависимость. В некоторых случаях необходимо обеспечить линейную зависимость между расходом сжатого газа и степенью открытия клапанов 12, 13. В данном случае поверхности 52, 53 могут быть выполнены, например, параболической формы. Указанное расширяет функциональные возможности предлагаемого ПГАМ по сравнению с прототипом.
Таким образом, на основании вышеизложенного показано, что цели изобретения достигнуты.
Конструктивно предлагаемый ПГАМ может быть выполнен без жесткого центра 28 мембраны 2, для установки которого требуется выполнять центральное отверстие в мембране 2. Для этого на нижнем конце шпильки 27 крепится специальный дискообразный элемент (шайба – на фиг.1 не показана), которая ложится на поверхность мембраны 2 и весь узел, состоящий из копира 26, шпильки 27 и прикрепленной к ней шайбы, пружиной (на фиг.1 не показана) прижимается к поверхности мембраны 2. Перемещение копира 26 вверх происходит за счет того, что шайба движется вместе с мембраной 2 вверх. С целью устранения прорыва мембраны 2 в крайнем нижнем положении в этом случае вход жидкости в жидкостную камеру 4 может быть осуществлен через перфорированную стенку (на фиг.1 не показана) или постоянно открытый подпружиненный тарельчатый клапан (на фиг.1 не показан), который мембраной 2 закрывается при упоре в стенку 30, предотвращая мембрану 2 от разрушения.
Для устранения теоретически возможного автоколебательного процесса на входе штуцера 16 может быть установлен регулируемый дроссель (на фиг.1 не показан), с помощью которого настраивается оптимальный режим работы ПГАМ.
Формула изобретения
Пневмогидравлический аккумулятор мембранный, содержащий емкость, разделенную мембраной на газовую и жидкостную полости, отличающийся тем, что на верхней стенке емкости имеется блок управления сжатым газом, корпус которого содержит вертикальный цилиндрический канал, выходящий в газовую полость емкости, и два перпендикулярно ему расположенных цилиндрических канала с помещенными внутрь их идентичными клапанами, поджатыми пружинами к торцам штуцеров, установленных в корпусе напротив их и перекрывающих у одного штуцера сопловое отверстие входа сжатого газа в газовую полость емкости, а у другого штуцера, имеющего внутри себя редукционный клапан, сопловое отверстие сброса сжатого газа в атмосферу, причем внутри вертикального канала и продольных сквозных пазов клапанов находится копир, связанный с мембраной и имеющий возможность взаимодействовать с помощью кулачка, находящегося на нем, с упорами клапанов при перемещении мембраны за пределы заданной рабочей зоны.
РИСУНКИ
MM4A – Досрочное прекращение действия патента СССР или патента Российской Федерации на изобретение из-за неуплаты в установленный срок пошлины за поддержание патента в силе
Дата прекращения действия патента: 20.03.2008
Извещение опубликовано: 27.03.2010 БИ: 09/2010
|
|