|
|
(21), (22) Заявка: 2004121849/06, 20.07.2004
(24) Дата начала отсчета срока действия патента:
20.07.2004
(45) Опубликовано: 20.02.2006
(56) Список документов, цитированных в отчете о поиске:
RU 2219378 C1, 20.12.2003. RU 2168072 C2, 27.05.2001. SU 475455 A, 07.10.1975. SU 1211464 A, 15.02.1986. US 4595340 A, 17.06.1986. DE 2401894 C2, 01.08.1974.
Адрес для переписки:
129301, Москва, ул. Касаткина, 13, НТЦ им. А. Люльки ОАО “НПО “Сатурн”, патентный отдел
|
(72) Автор(ы):
Иванов Адольф Павлович (RU), Критский Василий Юрьевич (RU)
(73) Патентообладатель(и):
Открытое акционерное общество “Научно-производственное объединение “Сатурн” (ОАО “НПО “Сатурн”) (RU)
|
(54) КОЛЬЦО ПРИВОДА ПОВОРОТНЫХ ЛОПАТОК СТАТОРА ОСЕВОГО КОМПРЕССОРА ГАЗОТУРБИННОГО ДВИГАТЕЛЯ
(57) Реферат:
Изобретение относится к насосам и компрессорам необъемного вытеснения, а именно к регулируемым устройствам, направляющим текучую среду, для осевых компрессоров и вентиляторов. Изобретение служит для ликвидации возможности выпадения втулок из отверстий кольца привода без привлечения дополнительных деталей или средств. В кольце привода поворотных лопаток статора осевого компрессора газотурбинного двигателя с выполненными в нем радиальными отверстиями и установленными в них до упора антифрикционными втулками с заплечиками каждая антифрикционная втулка с противоположной от заплечика стороны снабжена буртиком, упирающимся в ответную поверхность кольца привода, при этом втулка выполнена из материала с памятью формы, например из фторопласта Ф4Гр25. 2 з.п. ф-лы, 3 ил. 
Изобретение относится к насосам и компрессорам необъемного вытеснения, а именно к регулируемым устройствам, направляющим текучую среду, для осевых компрессоров и вентиляторов.
Известно кольцо привода статора компрессора газотурбинного двигателя (далее ГТД) с выполненными в нем радиальными отверстиями и с установленными в них до упора антифрикционными втулками с заплечиками, при этом кольцо привода на внутренней поверхности снабжено двумя кольцевыми буртиками, в отверстиях которых установлены Z-образные стопоры втулок, расположенные напротив их заплечиков [1].
Недостатком данной конструкции является необходимость установки Z-образных стопоров втулок для фиксации положения антифрикционных втулок в кольце привода и, как следствие этому, необходимость выполнения в кольце привода отверстий, в которые вставляются эти Z-образные стопоры.
Задача изобретения состоит в ликвидации возможности выпадения втулок из отверстий кольца привода без привлечения дополнительных деталей или средств, что позволит увеличить надежность фиксации втулок, упростить конструкцию и индивидуальный ремонт каждого узла крепления лопатки в процессе эксплуатации, а также уменьшить вес узла.
Для достижения указанной задачи в кольце привода поворотных лопаток статора осевого компрессора газотурбинного двигателя с выполненными в нем радиальными отверстиями и установленными в них до упора антифрикционными втулками с заплечиками каждая антифрикционная втулка с противоположной от заплечика стороны снабжена буртиком, упирающимся в ответную поверхность кольца привода, при этом втулка выполнена из материала с памятью формы, например из фторопласта Ф4Гр25.
В качестве ответной поверхности для буртика втулки может быть выбрана внутренняя или наружная поверхность кольца привода.
Кроме того, отверстие может быть выполнено ступенчатым, а торец ступени радиального отверстия большего диаметра выбран в качестве ответной поверхности для буртика.
Новым в предложенном изобретении является то, что каждая антифрикционная втулка с противоположной от заплечика стороны снабжена буртиком, упирающимся в ответную поверхность кольца привода, в качестве которой может быть выбрана внутренняя или наружная поверхность кольца привода, при этом втулка выполнена из материала с памятью формы, например из фторопласта Ф4Гр25. В качестве ответной поверхности для буртика втулки может быть выбрана внутренняя или наружная поверхность кольца привода. Радиальное отверстие может быть выполнено ступенчатым, при этом в качестве ответной поверхности для буртика выбирается торец ступени радиального отверстия большего диаметра.
Снабдив антифрикционную втулку буртиком, расположенным с противоположной от заплечика стороны, мы достигаем надежную фиксацию втулки в отверстии кольца привода. При этом не требуется установки каких-либо дополнительных деталей крепления втулки, а следовательно, и выполнения дополнительных технологических операций. Изготовление антифрикционной втулки из материала с памятью формы, например из фторопласта Ф4Гр25, позволяет запрессовывать втулку в отверстие кольца привода, имеющее меньший диаметр по сравнению с диаметром буртика втулки.
Таким образом, можно утверждать, что изобретение соответствует критерию “изобретательский уровень”.
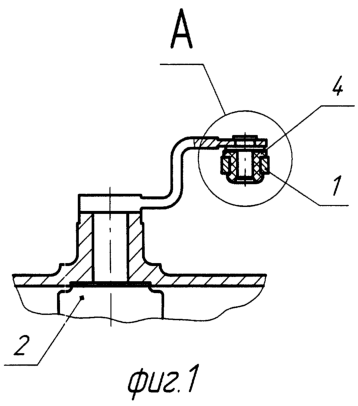
На фиг.1 показан продольный разрез статора компрессора ГТД,
на фиг.2 показан элемент крепления антифрикционной втулки в кольце привода,
на фиг.3 показан элемент крепления антифрикционной втулки в кольце привода в случае выполнения радиального отверстия ступенчатым (согласно п.3 формулы).
Кольцо привода 1 поворотных лопаток 2 содержит радиальные отверстия 3 с установленными в них до упора антифрикционными втулками 4 с заплечиками 5, при этом каждая втулка 4 с противоположной от заплечика 5 стороны снабжена буртиком 6, упирающимся в ответную поверхность 7 кольца привода.
В случае выполнения радиального отверстия ступенчатым буртик 6 упирается в торец 8 ступени отверстия большего диаметра 9.
При сборке антифрикционная втулка 4 запрессовывается в радиальное отверстие 3, при этом конец втулки в районе буртика 6 сжимается при прохождении радиального отверстия 3, а затем за счет памяти формы материала антифрикционной втулки 4 принимает первоначальную форму. В процессе эксплуатации кольцо привода 1 через антифрикционные втулки 4 передает движение поворотным лопаткам 2 статора, устанавливая их на тот или иной угол.
Из описания конструкции видно, что в предлагаемом кольце привода поворотных лопаток статора компрессора ГТД используются элементы, широко применяемые в промышленности, из чего следует вывод о соответствии изобретения критерию “промышленная применимость”.
Источник информации
1. Патент РФ №2219378, МКИ 7 F 04 D 29/56, опубл. 20.12.2003 г.
Формула изобретения
1. Кольцо привода поворотных лопаток статора осевого компрессора газотурбинного двигателя с выполненными в нем радиальными отверстиями и установленными в них до упора антифрикционными втулками с заплечиками, отличающееся тем, что каждая антифрикционная втулка с противоположной от заплечика стороны снабжена буртиком, упирающимся в ответную поверхность кольца привода, при этом втулка выполнена из материала с памятью формы, например из фторопласта Ф4Гр25.
2. Кольцо привода по п.1, отличающееся тем, что в качестве ответной поверхности для буртика выбрана внутренняя или наружная поверхность кольца привода.
3. Кольцо по п.1, отличающееся тем, что радиальное отверстие выполнено ступенчатым, при этом торец ступени радиального отверстия большего диаметра выбран в качестве ответной поверхности для буртика.
РИСУНКИ
|
|