|
|
(21), (22) Заявка: 2004108279/06, 22.03.2004
(24) Дата начала отсчета срока действия патента:
22.03.2004
(43) Дата публикации заявки: 20.08.2004
(45) Опубликовано: 20.02.2006
(56) Список документов, цитированных в отчете о поиске:
SU 641157 A, 08.01.1979. SU 1040217 A, 15.06.1985. US 4179942 A, 25.12.1979.
Адрес для переписки:
426035, г.Ижевск, ул. Проезд Редукторный, 13, кв.25, В.П. Колошко
|
(72) Автор(ы):
Колошко Владимир Павлович (RU), Колошко Валерий Владимирович (RU)
(73) Патентообладатель(и):
Колошко Владимир Павлович (RU), Колошко Валерий Владимирович (RU)
|
(54) СТАНОК-КАЧАЛКА
(57) Реферат:
Устройство предназначено для использования в приводах штанговых скважинных насосов при добыче нефти из нефтяных скважин. Станок-качалка содержит основание, тумбу, электродвигатель, связанный через клиноременную передачу с редуктором. Преобразующий дифференциальный кривошипный механизм установлен на выходном валу редуктора с одной стороны и содержит два взаимосвязанных через планетарную передачу кривошипа – центральный, жестко установленный на выходного валу редуктора, и ведущий кривошип, установленный на выходном валу центрального кривошипа. Подвеска устьевого штока расположена с другой стороны редуктора. Между подвеской устьевого штока и натяжным шкивом установлена стойка с перекладиной, на которой подвижно установлены направляющие шкивы. На ведущем кривошипе установлен натяжной шкив. Стойка установлена на тумбе или непосредственно на основании станка-качалки над редуктором так, что ее ось, продольная ось перекладины, ось подвески устьевого штока и точка крепления натяжного шкива на ведущем кривошипе находятся в одной вертикальной плоскости, проходящей через ось выходного вала редуктора. Гибкий элемент огибает установленный на ведущем кривошипе натяжной шкив и через направляющие шкивы связан с подвеской устьевого штока. Для уравновешивания станка-качалки на ведущем и центральном кривошипах установлены грузы. Обеспечивается прямолинейное возвратно-поступательное движение натяжного шкива на ведущем кривошипе, стойка нагружена только вертикально направленными силами, кривошипы вращаются встречно, поэтому возникающие при их вращении динамические силы взаимно уравновешиваются. 2 з.п. ф-лы, 2 ил. 
Изобретение относится к технике добычи нефти из скважин и может быть использовано для привода штанговых скважинных насосов.
Известен балансирный станок-качалка. Он содержит установленные на раме и связанные клиноременной передачей электродвигатель и редуктор, механизм для преобразования вращательного движения выходного вала редуктора в возвратно-поступательное движение подвески устьевого штока, состоящий из кривошипов, размещенных на выходном валу редуктора с двух сторон, шарнирно связанных с кривошипами шатунов, которые через траверсу связаны с подвижно установленным на стойке двухплечим качающимся балансиром с головкой, на которой закреплен гибкий элемент с подвеской устьевого штока. (ГОСТ Р 51763-2001. Приводы штанговых скважинных насосов. Общие технические требования. ГОССТАНДАРТ РОССИИ, Москва, с.3, рис.1).
Известен также безбалансирный станок-качалка, содержащий установленные на раме и связанные клиноременной передачей электродвигатель и редуктор, механизм для преобразования вращательного движения выходного вала редуктора в возвратно-поступательное движение подвески устьевого штока, состоящий из кривошипов, размещенных на выходном валу редуктора с двух сторон, шарнирно связанных с кривошипами шатунов, которые через траверсу связаны с гибким элементом, а последний через установленный на стойке направляющий шкив связан с подвеской устьевого штока. (ГОСТ Р 51763-2001 Приводы штанговых скважинных насосов. Общие технические требования. ГОССТАНДАРТ РОССИИ, Москва, с.4, рис.2).
Недостатком такого станка-качалки является то, что точка крепления шатуна на кривошипе совершает вращательное движение. Поэтому шатуны раскачиваются с большой амплитудой, возникают переменные усилия на шатунах, которые раскачивают металлоконструкцию станка-качалки.
К этим усилиям добавляются усилия от кривошипов с уравновешивающими грузами, которые вращаются в одной фазе, что также приводит к знакопеременным нагрузкам, действующим на металлоконструкцию, узлы и детали станка-качалки. Наличие траверсы, объединяющей шатуны, также является недостатком, поскольку усложняет конструкцию станка-качалки. Длина хода у такого станка-качалки равна сумме двух радиусов кривошипов, поэтому для получения достаточно большой длины хода (например 3 м) (резко увеличиваются размеры радиусов кривошипов, масса уравновешивающих грузов и напряженность металлоконструкции станка-качалки. Наиболее неблагоприятно недостатки проявляются при большой частоте качаний.
Технической задачей, поставленной в настоящем изобретении, является создание станка-качалки имеющего конструкцию, которая обеспечивает лучшие технические характеристики станка-качалки в части уменьшения нагрузок на узлы, детали и металлоконструкцию, снижение инерционных нагрузок от кривошипов при уравновешивании, создания лучших условий для получения большой длины хода и работы с большой частотой качаний, равномерного распределения нагрузки на фундамент.
Эта задача достигается тем, что в описываемом станке-качалке в качестве преобразующего механизма, применен дифференциальный кривошипный механизм привода штангового скважинного насоса, обеспечивающий не вращательное, как у известных станков-качалок, а возвратно-поступательное движение точки крепления натяжного шкива на ведущем кривошипе. При этом преобразующий механизм установлен на выходном валу редуктора с одной стороны редуктора, а подвеска устьевого штока – с другой стороны редуктора, и между ними на основании или тумбе станка-качалки над редуктором установлены стойка с перекладиной. На концах перекладины установлены направляющие шкивы, при этом ось стойки, продольная ось перекладины, ось симметрии подвески устьевого штока и точка крепления натяжного шкива на ведущем кривошипе расположены в одной вертикальной плоскости, проходящей через ось выходного вала редуктора. Кривошипы установлены так, что при их вертикальном положении они являются продолжением друг друга, радиусы кривошипов равны друг другу.
На ведущем кривошипе подвижно установлен натяжной шкив, который охватывается гибким элементом и через подвижно установленные на стойке направляющие шкивы связан с подвеской устьевого штока. При этом установленная на стойке перекладина имеет равные размеры плеч, при которых ветви гибкого элемента, соединяющие направляющие шкивы с натяжным шкивом и подвеской устьевого штока, занимают вертикальное положение.
Кривошипы взаимосвязаны через планетарную передачу, вращаются в разные стороны с одинаковой частотой, и при равенстве радиусов кривошипов в их относительном движении точка крепления натяжного шкива на ведущем кривошипе совершает прямолинейное возвратно-поступательное движение.
Поскольку точка крепления натяжного шкива на ведущем кривошипе перемещается возвратно-поступательно по вертикальной прямой, то радиусы кривошипов один раз складываются, когда они направлены вниз, а другой раз складываются, когда они направлены вверх, и поэтому длина хода такого станка-качалки равна сумме четырех радиусов кривошипов. Длина хода у такого станка-качалки не регулируемая. Перенастройка станка-качалки на другую длину хода может быть осуществлена заменой кривошипов.
С целью обеспечения возможности проведения на скважине ремонтных работ, перекладина с направляющими шкивами устанавливается на стойке станка-качалки подвижно, с возможностью поворота ее вокруг вертикальной оси стойки.
Установленная на стойке перекладина с направляющими шкивами имеет равные длины плеч, а тяговые усилия на натяжном шкиве и подвеске устьевого штока всегда равны между собой, поэтому на стойку станка-качалки действует только вертикально направленная сила. Кривошипы вращаются встречно, поэтому возникающие при их вращении динамические усилия взаимно уравновешиваются. Стойка станка-качалки устанавливается непосредственно на основании, или тумбе станка-качалки, над редуктором, и таким образом образуется предельно компактная конструкция. Примененный кривошипный преобразующий механизм обеспечивает прямолинейное возвратно-поступательное движение установленного на ведущем кривошипе натяжного шкива и длину хода натяжного шкива, а соответственно и подвески устьевого штока, равную четырем радиусам кривошипов. Следовательно, предлагаемый станок-качалка в сравнении с балансирными и безбалансирными станками-качалками имеет более уравновешенную конструкцию, менее нагруженные детали и металлоконструкцию, равномерно нагруженный фундамент. Все это обеспечивает благоприятные условия для работы станка-качалки при большой частоте качаний в минуту.
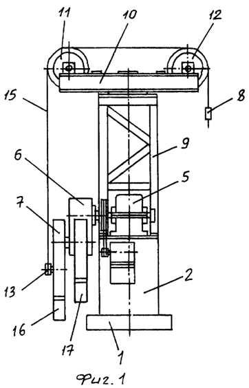
На фиг.1 схематично представлен предлагаемый станок-качалка, общий вид, на фиг.2 схематично представлен вид сбоку. Станок-качалка содержит основание 1, тумбу 2, электродвигатель 3, связанный через клиноременную передачу 4 с редуктором 5, преобразующий дифференциальный кривошипный механизм, который установлен на выходном валу редуктора с одной стороны и содержит два взаимосвязанных через планетарную передачу кривошипа – центральный 6, жестко установленный на выходном валу редуктора 5, и ведущий кривошип 7, установленный на выходном валу центрального кривошипа 6. Подвеска устьевого штока 8 расположена с другой стороны редуктора. Между подвеской устьевого штока и натяжным шкивом установлена стойка 9 с перекладиной 10, на которой подвижно установлены направляющие шкивы 11 и 12. На ведущем кривошипе 7 установлен натяжной шкив 13. Стойка 9 установлена на тумбе или непосредственно на основании станка-качалки над редуктором так, что ее ось, продольная ось перекладины 10, ось подвески устьевого штока 8 и точка крепления натяжного шкива на ведущем кривошипе 7 находится в одной вертикальной плоскости, проходящей через ось выходного вала редуктора 5. Гибкий элемент 15 огибает установленный на ведущем кривошипе натяжной шкив 13 и через направляющие шкивы 11 и 12 связан с подвеской устьевого штока 8. Для уравновешивания станка-качалки на ведущем кривошипе установлены грузы 16, а на центральном – грузы 17. Тормозное устройство и ограждения станка-качалки условно не показаны. Станок-качалка работает следующим образом. Вращение от вала электродвигателя 3 посредством клиноременной передачи 4 через редуктор 5 передается центральному кривошипу 6. При вращении центрального кривошипа 6 за счет содержащейся в его корпусе цилиндрической планетарной передачи с центральным неподвижным колесом, которое жестко связано с корпусом редуктора 5 через его полый выходной вал, вращение передается на выходной вал центрального кривошипа и установленному на этом валу ведущему кривошипу 7 с натяжным шкивом 13. При этом натяжной шкив 13 получает прямолинейное возвратно-поступательное движение, обеспечиваемое конструкцией примененного преобразующего механизма, и через охватывающий его гибкий элемент 15 и направляющие шкивы 11 и 12 передает его подвеске устьевого штока 8. Уравновешивание станка-качалки производится с помощью грузов 16 и 17. При этом груз 16 на ведущем кривошипе 7 предназначен для уравновешивания тягового усилия станка-качалки, а груз 17 на центральном кривошипе – для уравновешивания реакции от ведущего кривошипа на выходном валу центрального кривошипа. В тех случаях, когда величина груза 17 недостаточна для уравновешивания реакции от ведущего кривошипа, на корпус центрального кривошипа 6 от редуктора 5 передается дополнительный крутящий момент. В тех же случаях, когда величина груза 17 превышает величину, необходимую для уравновешивания реакции от ведущего кривошипа 7, через планетарную передачу центрального кривошипа 6, ведущему кривошипу 7 сообщается дополнительный крутящий момент.
Изменение частоты качаний у описываемых станков-качалок производится как обычно за счет применения сменных шкивов клиноременной передачи. При выполнении ремонтных работ поворачивают на 90 град установленную на стойке перекладину с направляющими шкивами или смещают направляющий шкив вдоль оси перекладины в сторону редуктора.
В итоге можно констатировать, что станок-качалка имеет компактную, хорошо уравновешенную конструкцию, обеспечивается прямолинейное возвратно-поступательное движение натяжного шкива на ведущем кривошипе, стойка нагружена только вертикально направленными силами, кривошипы вращаются встречно, поэтому возникающие при их вращении динамические силы взаимно уравновешиваются, станок-качалка имеет сравнительно равномерно нагруженный фундамент, обеспечиваются благоприятные условия для работы станка-качалки с большой частотой качаний в минуту.
Предполагается, что будет создан ряд станков-качалок с различными длинами ходов и потребитель сможет выбрать станок-качалку с требуемой ему длиной хода.
Формула изобретения
1. Станок-качалка, содержащий основание, тумбу, стойку, приводной электродвигатель, клиноременную передачу, редуктор, на выходном валу которого установлен преобразующий дифференциальный кривошипный механизм, натяжной и направляющие шкивы, подвеску устьевого штока и гибкий элемент, отличающийся тем, что преобразующий дифференциальный кривошипный механизм выполнен в виде двух взаимосвязанных через планетарную передачу кривошипов, один из которых – центральный – жестко установлен на выходном валу редуктора, а другой – ведущий – установлен на выходном валу центрального кривошипа и расположен с одной стороны редуктора, а подвеска устьевого штока – с другой стороны редуктора, между ними непосредственно на основании или тумбе станка-качалки над редуктором установлена стойка с перекладиной и направляющими шкивами, при этом ось стойки, продольная ось перекладины, ось симметрии подвески устьевого штока и точка крепления натяжного шкива на ведущем кривошипе расположены в общей вертикальной плоскости, проходящей через ось выходного вала редуктора, гибкий элемент охватывает натяжной шкив ведущего кривошипа и через направляющие шкивы связан с подвеской устьевого штока, при этом установленная на стойке перекладина имеет равные размеры плеч, при которых ветви гибкого элемента, соединяющие направляющие шкивы с натяжным шкивом и подвеской устьевого штока, занимают вертикальное положение.
2. Станок-качалка по п.1, отличающийся тем, что на стойке установлен направляющий шкив, диаметр которого равен расстоянию между вертикальными ветвями гибкого элемента от натяжного блока и от подвески устьевого штока.
3. Станок-качалка по п.1, отличающийся тем, что перекладина с направляющими шкивами установлена на стойке с возможностью поворота ее вокруг вертикальной оси стойки.
РИСУНКИ
|
|