|
|
(21), (22) Заявка: 2004102600/06, 30.01.2004
(24) Дата начала отсчета срока действия патента:
30.01.2004
(43) Дата публикации заявки: 27.07.2005
(45) Опубликовано: 20.02.2006
(56) Список документов, цитированных в отчете о поиске:
RU 2214534 C1, 20.10.2003. RU 2163311 C1, 20.02.2001. RU 2066790 C1, 20.09.1996. RU 2108486 C1, 10.04.1998. SU 1257284 A1, 15.09.1986. US 4719811 A, 19.06.1988.
Адрес для переписки:
346503, Ростовская обл., г. Шахты, ул. Дежнёва, 18а, В.М. Бочарову
|
(72) Автор(ы):
Бочаров Валерий Митрофанович (RU), Бочарова Татьяна Валерьевна (RU), Бочаров Андрей Валерьевич (RU), Корнев Юрий Степанович (RU)
(73) Патентообладатель(и):
Бочаров Валерий Митрофанович (RU)
|
(54) СТАНОК-КАЧАЛКА С ПЛАВНЫМ РЕГУЛИРОВАНИЕМ ПРОИЗВОДИТЕЛЬНОСТИ
(57) Реферат:
Станок-качалка предназначен для использования в нефтедобывающей промышленности при эксплуатации скважин. Содержит колонну насосных штанг, опорную вышку, полиспаст, направляющие и отклоняющие шкивы, домкрат, лебедку с двумя асинхронными двигателями. Последние связаны между собой электрически последовательным соединением статорных обмоток и механически общим валом бицилиндроконического канатного барабана лебедки. Отклоняющие шкивы выполнены с возможностью перемещения. Бицилиндроконический барабан выполнен составным в виде двух цилиндрических частей с возможностью поворота их относительно друг друга и общего вала и двух конических частей, выполненных с возможностью перемещения вдоль цилиндрических частей. Позволяет повысить эффективность работы путем плавного регулирования частоты и амплитуды качаний штанговой подвески. 3 ил. 
Изобретение относится к технике добычи нефти, в частности к наземному оборудованию штанговых насосных установок – станкам-качалкам, и может быть использовано в нефтедобывающей промышленности при эксплуатации скважин.
Известна конструкция станка-качалки, состоящая из рамы, стойки, редуктора, электродвигателя, кривошипа, шатуна, балансира. Точка сочленения шатуна с кривошипом может менять свое расстояние относительно центра вращения перестановкой пальца кривошипа в предусмотренные для этого отверстия. Этим достигается ступенчатое изменение амплитуды качаний балансира, т.е. длины хода штанг. Изменение частоты качаний возможно только за счет смены шкива на валу электродвигателя на больший или меньший диаметр (Мухаметзянов А.К., Чернышев И.Н., Липерт А.И., Ишемгужин С.Б. Добыча нефти штанговыми насосами. – М.: Недра, 1993. – 350 с.).
Наиболее близким к предлагаемому изобретению является станок-качалка, содержащий опорную вышку, раму привода, асинхронные двигатели, вал, барабан, шкивы, неподвижную ось, шкивы, подвижную ось, канат, подвеску насосных штанг, наголовник обсадных труб и упругие элементы. К верхней части вышки прикреплена рама привода, на которой установлены два одинаковых асинхронных двигателя, связанные общим валом между собою и с барабаном. Статорные обмотки двигателей соединены между собой пофазно-последовательно в звезду или треугольник. Барабан выполнен бицилиндроконическим симметричным. Его ось симметрии совпадает с осью скважины. По обе стороны от оси симметрии на барабане имеются участки с цилиндрическими и конусными поверхностями, на которых выполнена канавка для укладки каната. Начало каната присоединено к левому торцу барабана, мерная длина его уложена в канавку цилиндрической части. Далее канат проходит через шкивы, установленные на жестко закрепленной неподвижной оси, и шкивы, установленные на подвижной относительно вышки оси, жестко соединенной с подвеской насосных штанг. Вторая мерная длина каната, равная первой, уложена в продолжение канавки барабана с правой стороны от его оси симметрии. Конец каната прикреплен к правому торцу барабана. Перемещение подвески насосных штанг ограничено внизу одним упругим элементом, вверху двумя упругими элементами (RU 2214534 С 1, 20.10.2003).
Недостатком известного устройства является сложность регулирования амплитуды и частоты качаний, которые определяют производительность насосной установки. Практически регулировать длину хода поступательно движущихся частей в этой качалке можно перестановкой по высоте упругих верхних ограничителей. Однако при этом могут возникнуть ударные нагрузки в системе подвески насосных штанг.
Технической задачей, поставленной в настоящем изобретении, является повышение эффективности работы путем плавного регулирования частоты и амплитуды качаний штанговой подвески.
Поставленная задача достигается тем, что в станке-качалке содержащем колонну насосных штанг, опорную вышку, полиспаст, направляющие и отклоняющие шкивы, домкрат, лебедку с двумя асинхронными двигателями, связанными между собою электрически последовательным соединением статорных обмоток и механически общим валом бицилиндроконического канатного барабана лебедки – отклоняющие шкивы выполнены с возможностью перемещения, а бицилиндроконический барабан выполнен составным, в виде двух разъемных цилиндрических частей, выполненных с возможностью поворота их относительно друг друга, и двух конических частей, выполненных с возможностью перемещения вдоль цилиндрических частей.
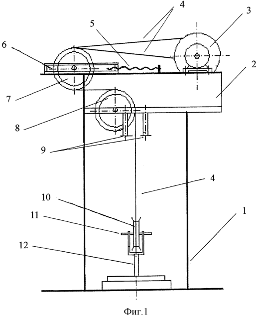
На фиг.1 изображен станок-качалка, общий вид; на фиг.2 представлен общий вид лебедки станка; на фиг.3 дана схема запасовки каната.
Станок-качалка (фиг.1) содержит опорную вышку 1, раму привода 2, лебедку 3, канат 4, домкрат 5, раму отклоняющих шкивов 6, отклоняющие шкивы 7, направляющие шкивы 8, упругие верхние ограничители 9, шкив (шкивы) полиспаста 10, полиспаст 11, колонну штанг 12.
В свою очередь лебедка 3 (фиг.2) содержит раму лебедки 13, асинхронный двигатель 14, соединительную муфту 15, вал 16, подшипниковую опору 17, цилиндрический барабан 18, фиксатор 19, конические барабаны 20, 21, фиксатор 22, цилиндрический барабан 23, подшипниковую опору 24, соединительную муфту 25, асинхронный двигатель 26, тормоз 27.
К верхней части вышки 1 прикреплена рама привода 2, на которой установлены лебедка 3, домкрат 5, рама 6 со шкивами 7, шкивы 8, упругие верхние ограничители 9.
Рама 6 вместе с установленными на ней равноудаленно от оси симметрии лебедки двумя отклоняющими шкивами 7 может перемещаться в направляющих рамы привода 2 перпендикулярно оси вращения барабана лебедки.
Лебедка 3 (фиг.2) состоит из основания 13 с установленными на ней симметрично с левой и правой стороны двумя одинаковыми асинхронными короткозамкнутыми двигателями 14 и 26. Валы этих двигателей соединены муфтами 15 и 25 с валом 16, установленным на подшипниковых опорах 17 и 24. На валу 16 установлены два цилиндрических барабана 18 и 23, каждый из них имеет один фланец. На цилиндрических барабанах выполнены идентичные винтовые канавки для укладки каната 4. На барабане 16 канавка нарезана по часовой стрелке от свободного торца барабана до фланца, а на барабане 23 – по часовой стрелке от фланца до свободного торца. На вал 16 барабаны 18 и 23 установлены так, чтобы их фланцы взаимно соприкасались. Конические барабаны 20, 21 установлены на барабанах 18, 23 на равных расстояниях от их фланцев и таким образом, чтобы вершины конусных образующих были направлены встречно. Барабаны 20, 21 имеют наружную винтовую канавку для укладки каната 4 по конусной поверхности и осевое отверстие с винтовой нарезкой по профилю канавки цилиндрических барабанов 18, 23 для их перемещения вдоль барабанов 18, 23. Фиксаторы 19, 22 соединяют конические барабаны 20, 21 с цилиндрическими барабанами 18, 23 и с валом 16. Асинхронные двигатели 14, 26 имеют два выходных конца вала. К свободному выходному концу вала любого из двигателей (например, 26) присоединено тормозное устройство 27.
Начало каната 4 (фиг.3) присоединено к фланцу барабана 18. Мерная длина его уложена в канавку цилиндрической части, покрывая барабан 18 в один слой, несколько не доходя до начала канавки барабана 20. Далее канат 4 сходит с барабана 18, идет через левый отклоняющий шкив 7, левый направляющие шкив 8, шкив (шкивы) полиспаста 10, правый направляющий шкив 8, правый отклоняющий шкив 7, входит с противоположной стороны (по отношению к барабану 18) в канавку цилиндрического барабана 23. Точка входа каната 4 в канавку барабана 23 удалена от границы барабана 21 на расстояние, равное расстоянию между точкой его схода с барабана 18 и границей барабана 20. Далее канат уложен в канавку барабана 23 до фланца этого барабана, к которому конец каната 4 присоединяется.
Перемещение подвески насосных штанг 12 ограничено внизу длиной петли каната 4 между барабанами 18, 23 и шкивом 10, вверху упругими элементами 8.
За исходное принимается крайнее нижнее положение подвески насосных штанг 12. Барабаны 18, 20, 21, 23 жестко соединены стопорами 19, 22 с валом 16. Барабаны 20 и 21 установлены на одинаковых расстояниях соответственно от фланцев барабанов 18 и 23. На барабане 18 налево от фланца, а на барабане 23 направо от фланца уложена равными частями мерная длина каната, достаточная для обеспечения подъема подвески насосных штанг на заданную высоту. При этом между барабаном 20 и последним витком каната 4 на барабане 18, последним витком каната 4 на барабане 23 и барабаном 21 остаются равные не заполненные поверхности. Общая длина каната 4 принята с превышением, обеспечивающим вариации мерной длины при регулировочных манипуляциях. Избыточная часть каната выбрана отклоняющими шкивами 6. Моменты от силы натяжения ветвей каната 4, созданные силой тяжести колонны насосных штанг и столба нефти, приложенные к валу 16, взаимно уравновешиваются, так как они равны и направлены в разные стороны.
Напряжение сети (равное номинальному напряжению двигателей 14, 26) известным способом подается на вход каскада двигателей (например, на вход двигателя 14). Это напряжение делится между обоими двигателями поровну, т.е. на каждом из двигателей будет 0,5 номинального напряжения и 0,25 номинального пускового момента. Потребляемый из сети пусковой ток снижен в 2 раза. Двигатели соединены последовательно одноименными фазами, но относительно барабана их моменты направлены встречно, так как двигатели установлены с противоположных сторон барабана лебедки 3. Поэтому система остается неподвижной. В связи с этим кратковременно шунтируется двигатель 26. Тогда на двигателе 14 напряжение возрастает до номинального значения, и он запускается в работу, вращая вал 16, например, по часовой стрелке. После запуска двигателя 14 двигатель 26 расшунтируется. При этом снова происходит перераспределение напряжения сети между двигателями обратно пропорционально их скольжению. Двигатель 26 вращается встречно полю, его скольжение больше 1, полное сопротивление минимально. Следовательно, напряжение на двигателе 26 не превышает 10-15% от номинального напряжения. Момент двигателя 26 является величиной второго порядка малости и никакого влияния на работу привода не оказывает.
После начала работы двигателя 14 канат 4 сходит с барабана 18 и укладывается в канавки барабана 23. До тех пор пока перераспределение каната 4 происходит между барабанами 18 и 23, имеющими равные диаметры, подвеска насосных штанг 12 остается неподвижной, нагрузка с ее стороны на вал запускаемого двигателя отсутствует. После того как канат 4 заполнит канавку барабана 23 и начнет укладываться на конусную поверхность барабана 21, изменится соотношение между длиной каната сходящего с левой цилиндрической части и укладываемого на конусную правую, так как справа радиус навивки каната на барабане возрастает с каждым оборотом. Следовательно, длина петли каната 4, проходящая через шкивы 7, 8, 10, должна уменьшиться. При этом к валу 16 прикладываются два момента от силы тяжести со стороны подвески насосных штанг 12. С левой стороны момент от силы натяжения каната направлен согласно с моментом двигателя 14, а с правой встречно. Подвеска насосных штанг 11 начинает перемещаться вверх. С каждым оборотом барабана вала 16 возрастает момент сопротивления на двигателе 14 по причине увеличения радиуса навивки каната на конусную поверхность барабана 21. В результате возрастают скольжение и ток двигателя 14, что в свою очередь приводит к уменьшению на его зажимах напряжения и момента на его валу. Увеличение тока нагрузки вызовет увеличение напряжения и момента на двигателе 26. Движущий момент от двигателя 14 снижается, а тормозной, равный сумме моментов двигателя 26 и от силы натяжения каната 4, приложенной к барабану 21, возрастает. В результате система вращающихся масс лебедки 3 остановится. Если момента сопротивления от силы тяжести окажется недостаточно для остановки системы, то произойдет касание полиспаста 11 с упругими элементами 9 и их сжатие, после чего система остановится.
Напряжение на двигателях 14, 26 и их электромагнитные моменты становятся равными, но разнонаправленными. Двигатели на состояние системы влияния не оказывают. Однако теперь к валу 16 приложены два разнонаправленных и не равных по величине момента от силы тяжести подвески насосных штанг 12. К левой части приложен меньший по величине момент, действующий в направлении вращения поля двигателя 14. К правой части приложен больший момент, действующий в направлении вращения магнитного поля двигателя 26. Под действием разностного момента от силы тяжести и сжатия упругих элементов 9 (если они сжаты) вал 16 начинает вращаться в обратном направлении. Скольжение двигателя 26 становится меньше единицы, а скольжение двигателя 14 больше единицы. Напряжение на двигателе 26 увеличивается практически до номинала, а напряжение на двигателе 14 уменьшается до своего наименьшего значения. Двигатель 26 становится рабочим, а двигатель 14 пассивным.
Канат 4 укладывается в канавку барабана 18 и сходит с конической поверхности барабана 21. Из-за меньшего радиуса навивки на левой части по сравнению с радиусами правой части длина каната, навиваемого на барабан 18, меньше длины сходящей с барабана 21. Следовательно, длина петли каната между лебедкой 3 и полиспастом 11 увеличивается. Подвеска насосных штанг 12 начинает плавное перемещение вниз. Плавность хода обеспечивается, с одной стороны, инерционностью вращающихся масс, с другой, плавным уменьшением радиуса канатной канавки барабана 21.
После полного схода каната 4 с барабана 21 длина каната свиваемого с барабана 23 становится равной длине укладываемой на барабан 18. Подвеска насосных штанг 12 останавливается в крайнем нижнем положении. Моменты от силы натяжения ветвей каната 4, приложенные к валу 16, взаимно уравновешиваются. Вал 16 и закрепленные на нем барабаны 18, 20, 21, 23 продолжают вращаться в прежнем направлении. До тех пор пока канат 4 сходит с барабана 23 и заполняет свободную поверхность барабана 18, подвеска насосных штанг остается неподвижной. После того как канат 4 начинает укладываться на коническую поверхность барабана 20, длина петли каната 4 снова начинает уменьшаться, что заставит систему подвески насосных штанг 12 перемещаться вверх. Снова появляется момент от силы тяжести, приложенный к валу 16, но уже с обратным знаком и с тенденцией к увеличению. Когда момент от силы тяжести подвески 12 и силы упругости элементов 9 станет больше момента двигателя 26, система остановится. Цикл повторится.
Предложенное конструктивное решение станка качалки обеспечивает возможность совместного или раздельного регулирования амплитуды и частоты колебаний.
При всех регулировочных манипуляциях подвеска насосных штанг 12 находится в крайнем нижнем положении
Для совместного изменения амплитуды и частоты возвратно-поступательных движений подвески насосных штанг 12 регулировочные работы производятся следующим образом.
Исходное состояние: вал 16, барабаны 18, 20, 21, 23 скреплены фиксаторами 19 и 22 в общую конструкцию барабана лебедки 3; рама 6 не закреплена относительно рамы привода 2, тормоз 27 включен. Домкратом 5 рама 6 перемещается в направляющих рамы 2, удаляясь от лебедки 3 (или приближаясь к ней), на заданное расстояние. Так как вал лебедки заторможен и суммарный момент на валу 16 от сил натяжения ветвей каната 4 равен нулю, то общая длина петли каната 4 не может измениться за счет схода его с барабанов 18, 23 или навивки на эти барабаны. Длины каната 4 перераспределяется между горизонтальным и вертикальным участками. В результате произойдет подъем (опускание) колонны насосных штанг 12 на новую заданную высоту при удалении (сближении) рамы 6 и шкивов 7 относительно лебедки 3, т.е. изменится положение крайней нижней точки ее хода. Так как положение крайней верхней точки высоты подъема колонны 12 не меняется (определяется длиной каната, укладываемой на конические барабаны и высотой установки упругих верхних элементов 9), то амплитуда колебаний уменьшится (увеличится). Фиксируется рама 6 относительно рамы 2. Станок готов к работе с меньшей (большей) амплитудой колебаний. Вследствие изменения длины хода насосных штанг при неизменной синхронной частоте вращения двигателей частота колебаний качалки также изменится.
Регулирование частоты колебаний качалки при сохранении величины амплитуды осуществляется следующим образом.
1. Мерные длины каната 4, уложенные на барабанах 18 и 23, достаточны для обеспечения заданного значения частоты.
Исходное положение: вал 16, барабаны 18, 23 скреплены фиксаторами 19 и 22; барабаны 20, 21 расфиксированы и могут проворачиваться относительно барабанов 18 и 23 соответственно, тормоз 27 включен.
Барабаны 20 и 21 последовательно вручную проворачиваются на одинаковый по величине, но противоположный по знаку угол. Резьбовое соединение барабанов 18, 20 и 21, 23 обеспечивает их взаимное удаление (или сближение) на равные расстояния. Участки поверхностей барабанов 18 и 23, свободные от уложенных на них ветвей каната 4, увеличиваются (или уменьшаются). Фиксатором 19 барабан 20 фиксируется в новом положении с барабаном 18 и валом 16. Фиксатором 22 барабаны 21 фиксируются в новом положении с барабаном 23 и валом 16.
2. Мерные длины каната 4, уложенные на барабанах 18 и 23, не достаточны или избыточны для обеспечения заданного значения частоты.
Исходное положение: вал 16, барабаны 18, 23, 20, 21 расфиксированы и могут проворачиваться относительно друг друга, рама 6 не закреплена относительно рамы привода 2, тормоз 27 включен.
Домкратом 5 рама 6 вместе со шкивами 7 перемещается в направляющих рамы 2, удаляясь от лебедки 3. Барабаны 18 и 23 моментами от силы натяжения ветвей соответствующих ветвей каната 4 вращаются в противоположных направлениях и с них сходят равные по величине меры каната. Если необходимо наоборот добавить длину каната на барабанах 18 и 23, тогда рама 6 перемещается по направлению к лебедке 3. Суммарная длина горизонтальных и вертикального участков укладки каната 4 сокращается. Образуется провисание каната 4. Барабаны 18 и 23 вручную вращаются в противоположных направлениях так, чтобы на них укладывались дополнительные меры соответствующих ветвей каната 4 до полной выборки образовавшейся слабины. Барабаны 20, 21 устанавливаются в заданных точках. Фиксатором 19 барабан 20 фиксируется в новом положении с барабаном 18 и валом 16. Фиксатором 22 барабан 21 фиксируется в новом положении с барабаном 23 и валом 16. Фиксируется рама 6 относительно рамы 2.
После проведения регулировок работа станка качалки в новых режимах осуществляется так же, как описано выше. Для проведения ремонтных работ в скважине станок может быть сдвинут по направляющим фундаментной плиты в сторону. Для этого предварительно необходимо разъединить полиспаст 11 и колонну насосных штанг 12.
Использование описанного станка-качалки позволит повысить эффективность нефтедобычи за счет возможности плавного регулирования режимов откачки применительно к условиям конкретной скважины.
Формула изобретения
Станок-качалка, содержащий колонну насосных штанг, опорную вышку, полиспаст, направляющие и отклоняющие шкивы, домкрат, лебедку с двумя асинхронными двигателями, связанными между собою электрически последовательным соединением статорных обмоток и механически общим валом бицилиндроконического канатного барабана лебедки, отличающийся тем, что отклоняющие шкивы выполнены с возможностью перемещения, а бицилиндроконический барабан выполнен составным, в виде двух цилиндрических частей, с возможностью поворота их относительно друг друга и общего вала, и двух конических частей, выполненных с возможностью перемещения вдоль цилиндрических частей.
РИСУНКИ
|
|