|
|
|
|
РОССИЙСКАЯ ФЕДЕРАЦИЯ

ФЕДЕРАЛЬНАЯ СЛУЖБА ПО ИНТЕЛЛЕКТУАЛЬНОЙ СОБСТВЕННОСТИ, ПАТЕНТАМ И ТОВАРНЫМ ЗНАКАМ |
(19) |
RU |
(11) |
2270365 |
(13) |
C2 |
|
| (51) МПК
F03G3/00 (2006.01)
|
(12) ОПИСАНИЕ ИЗОБРЕТЕНИЯ К ПАТЕНТУ
| Статус: по данным на 12.01.2011 – прекратил действие |
|
|
|
|
|
(21), (22) Заявка: 2004104610/11, 18.02.2004
(24) Дата начала отсчета срока действия патента:
18.02.2004
(43) Дата публикации заявки: 27.07.2005
(45) Опубликовано: 20.02.2006
(56) Список документов, цитированных в отчете о поиске:
Ж. Техника молодежи. 1969, №6, с.16-19. US 3897692 A, 05.08.1975. RU 7970 U1, 16.10.1998.
Адрес для переписки:
127206, Москва, ул. Вучетича, 15, кв.102, Ю.Е.Демидову
|
(72) Автор(ы):
Демидов Юрий Евгеньевич (RU)
(73) Патентообладатель(и):
Демидов Юрий Евгеньевич (RU)
|
(54) ЦЕНТРОБЕЖНЫЙ ДВИЖИТЕЛЬ
(57) Реферат:
Изобретение относится к области инерционных движителей. Центробежный движитель содержит механизм вращения вокруг оси грузов, которые установлены с возможностью синхронного возвратно-поступательного движения. Грузы установлены с возможностью движения под углом 45 градусов к оси механизма вращения. Технический результат – расширение арсенала технических средств. 4 ил. 
Область техники: авиация, судостроение, автомобилестроение.
Уровень техники: аналогов нет.
Сущность изобретения: вращающаяся на оси рама с грузами, двигающимися возвратно-поступательно под углом 45 градусов к оси вращения рамы. При движении грузов из верхней мертвой точки в нижнюю мертвую точку центробежная сила инерции вращения совершает работу с отрицательным знаком, при возвращении грузов в исходное положение центробежная сила инерции вращения совершает работу, равную нулю. Центробежная сила инерции вращения является внешней силой по отношению к возвратно-поступательному движению грузов, значит, меняет суммарный импульс системы. Центробежный движитель преобразует энергию вращения в тяговое усилие.
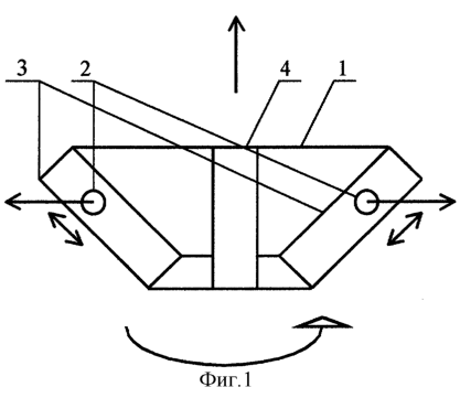
Перечень фигур: Фигура 1: вращающаяся на шарнире рама (1); грузы (2); направляющие (3); шарнир (4). Стрелками показано вращение механизма, возвратно-поступательное движение грузов, направление центробежной силы инерции. Фигура 2: вид сверху. Фигура 3: момент работы механизма – движение грузов из верхней мертвой точки в нижнюю мертвую точку. Фигура 4: момент работы механизма – возвращение грузов в исходное положение. Стрелками показаны направления движения грузов, силы, действующие на грузы, вращение рамы, направление тягового усилия.
Сведения, подтверждающие возможность осуществления изобретения: рама (1) вращается на шарнире (4), грузы (2), приводимые в движение специальным механизмом, двигаются в направляющих (3) возвратно-поступательно, под углом 45 градусов к оси шарнира (4).
Формула изобретения
Центробежный движитель, содержащий механизм вращения вокруг оси грузов, которые установлены с возможностью синхронного возвратно- поступательного движения, отличающийся тем, что грузы установлены с возможностью движения под углом 45° к оси механизма вращения.
РИСУНКИ
MM4A – Досрочное прекращение действия патента СССР или патента Российской Федерации на изобретение из-за неуплаты в установленный срок пошлины за поддержание патента в силе
Дата прекращения действия патента: 19.02.2006
Извещение опубликовано: 27.04.2007 БИ: 12/2007
|
|
|
|
|