|
|
(21), (22) Заявка: 2004128675/06, 27.09.2004
(24) Дата начала отсчета срока действия патента:
27.09.2004
(45) Опубликовано: 20.02.2006
(56) Список документов, цитированных в отчете о поиске:
RU 2204734 C1, 20.05.2003. SU 861716 А, 07.09.1981. RU 2204052 C1, 10.05.2003. RU 2211951 С1, 10.09.2003. WO 96/00349 А1, 04.01.1996. DE 3601745 А1, 23.07.1987.
Адрес для переписки:
394026, г.Воронеж, Московский пр-кт, 14, ГОУВПО “ВГТУ”, патентный отдел
|
(72) Автор(ы):
Литвиненко Александр Михайлович (RU)
(73) Патентообладатель(и):
Государственное образовательное учреждение высшего профессионального образования “Воронежский государственный технический университет” (RU)
|
(54) СТАТОР ВЕТРОЭЛЕКТРОГЕНЕРАТОРА
(57) Реферат:
Изобретение относится к области ветроэнергетики. Технический результат заключается в уменьшении массы и габаритов при минимизации стоимости ветроэлектрогенератора, обеспечении конструктивной преемственности. Статор выполнен в виде трех П-образных сегментов с обмотками, совмещенных смежными стойками так, что в верхней паре магнитопроводов установлена возбуждающая система, а в нижней паре установлена обмотка. 3 ил. 
Изобретение относится к области ветроэнергетики.
Известны ветроэлектрогенераторы [1, 2] со статорами традиционного типа. Из всех известных аналогов наиболее близким к заявляемому по совокупности существенных признаков является статор ветроэлектрогенератора [3] сегментного типа, который выполняется на основе магнитной системы машины постоянного тока или универсальной.
Недостатком данного статора является то, что он приспособлен к работе только с предварительно разрезанным по диаметру индуктором, что усложняет технологию изготовления, увеличивает массу.
Изобретение направлено на уменьшение массы и габаритов генератора при минимизации его стоимости.
Это достигается тем, что статор выполнен в виде трех П-образных магнитопроводов, первый из которых ориентирован перемычкой вниз, второй и третий – перемычками вверх, причем левая стойка первого магнитопровода магнитно соединена с правой стойкой второго магнитопровода и охвачена первой катушкой, а правая стойка первого магнитопровода магнитно соединена с левой стойкой третьего магнитопровода и охвачена второй катушкой. Достижение технического результата обусловлено тем, что в качестве базового элемента выбраны П-образные магнитопроводы, которые широко распространены, обладают большой номенклатурой типоразмеров, а также легко могут быть изготовлены из Ш-образных путем отсечения одной из стоек, кроме того, они изготавливаются в широкой номенклатуре прессованных вариантов.
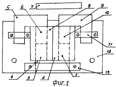
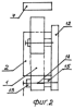
Сущность изобретения иллюстрируется чертежами, где на фиг.1 показан статор ветроэлектрогенератора, вид спереди, на фиг.2 – вид сбоку, на фиг.3 показан общий вид ветроэлектрогенератора, снабженного данным статором.
Статор ветроэлектрогенератора собран на базе трех одинаковых элементов – П-образных магнитопроводов. Каждый из них имеет одну перемычку и две стойки, но конструктивно перемычка и стоики составляют одну деталь. Статор, как показано на фиг.1, имеет нижний первый магнитопровод с правой стойкой 1, второй катушкой 2, левой стойкой 3 и перемычкой 4, второй (верхний) магнитопровод с перемычкой 5, правой стойкой 6. Статор взаимодействует с роторным сегментным элементом 7. Стойки 3 и 6 (левая первого магнитопровода и правая второго магнитопровода) охвачена первой возбуждающей катушкой 8. Имеется и третий магнитопровод с перемычкой 9 и левой стойкой 10, которая магнитно соединена с правой стойкой 1 первого магнитопровода и охвачена второй катушкой 2. Крепление боковых магнитопроводов (второго и третьего) осуществляется с помощью планок 11, которые с помощью болтов прижимают магнитопроводы к основанию 12. Центральный (первый) магнитопровод крепится аналогично с помощью планки 13, болтов 14 и проставок 15.
Такой статор сегментного типа входит в состав ветроэлектрогенератора, который имеет ветроколесо с горизонтальной осью с лопастями 16 (см. фиг.3), ступицей 17, подвижным поворотным основанием 18, установленным на башне 19 и снабженным хвостовым элементом 20.
Работа статора происходит следующим образом. Статор 21 установлен под основанием и периодически входит в магнитный контакт с роторными элементами, которые укреплены на лопастях ветроколеса. В результате в катушке 2 будет наводиться электродвижущая сила, которая приведет к появлению напряжения на клеммах, присоединенных к нагрузке при условии подачи напряжения возбуждения на катушку 8.
Технико-экономическим преимуществом данного статора является его высокая технологичность, основанная на модульной структуре П-образных магнитопроводов. Это приводит к уменьшению массы, габаритов, при этом стоимость является минимально возможной, что важно для объектов ветроэнергетики. Важно, что также могут быть использованы штатные катушки трансформаторов, из которых может быть собран данный статор.
Источники информации
1. А. с. СССР № 732572 / В.К.Александров и др. – Ветроагрегат, Б.И. № 17,1980 г., F 03 D 3/30.
2. А.с. СССР № 861716 / И.П.Копылов и др. – Безредукторный ветроагрегат, Б.И. № 11, 1981 г., F 03D 1/00.
3. Патент РФ № 2204734 / А.М.Литвиненко – Статор ветроэлектрогенератора, опубл. Б.И. № 14, от 20.05.2003, з-ка № 2001129417/06 от 31.10.2001, МКИ 7 F 03 D 9/00.
Формула изобретения
Статор ветроэлектрогенератора, содержащий магнитопроводы, систему возбуждения, стяжные элементы и обмотки, отличающийся тем, что статор выполнен в виде трех П-образных магнитопроводов, первый из которых ориентирован перемычкой вниз, второй и третий – перемычками вверх, причем левая стойка первого магнитопровода магнитно соединена с правой стойкой второго магнитопровода и охвачена первой катушкой, а правая стойка первого магнитопровода магнитно соединена с левой стойкой третьего магнитопровода и охвачена второй катушкой.
РИСУНКИ
MM4A – Досрочное прекращение действия патента СССР или патента Российской Федерации на изобретение из-за неуплаты в установленный срок пошлины за поддержание патента в силе
Дата прекращения действия патента: 28.09.2006
Извещение опубликовано: 20.04.2008 БИ: 11/2008
|
|