|
|
(21), (22) Заявка: 2005100980/06, 18.01.2005
(24) Дата начала отсчета срока действия патента:
18.01.2005
(45) Опубликовано: 20.02.2006
(56) Список документов, цитированных в отчете о поиске:
RU 2215898 С1, 10.11.2003. SU 1373858 А1, 15.02.1988. SU 408049 А, 10.12.1973. SU 985402 А, 30.12.1982. SU 1278482 A1, 23.12.1986. RU 2168059 C2, 27.05.2001. RU 2147693 C1, 20.04.2000. DE 19739921 A1, 06.05.1999. FR 2507252 A, 10.12.1982.
Адрес для переписки:
127540, Москва, ул,Дубнинская,6, корп.3, кв,170, А,В,Иванайскому
|
(72) Автор(ы):
Иванайский Алексей Васильевич (RU), Иванайская Татьяна Сергеевна (RU), Иванайский Владимир Алексеевич (RU)
(73) Патентообладатель(и):
Иванайский Алексей Васильевич (RU), Иванайская Татьяна Сергеевна (RU), Иванайский Владимир Алексеевич (RU)
|
(54) РОТОРНАЯ ВЕТРОЭЛЕКТРОСТАНЦИЯ
(57) Реферат:
Изобретение относится к области электроэнергетики, а именно к конструкциям ветроэлектрических установок. Технический результат заключается в повышении полноты использования энергии ветрового потока путем рекуперации электроэнергии с вытяжных, вентиляционных и других систем, а также в упрощении конструкции роторной ветроэлектростанции и ее эксплуатации и обеспечивается за счет того, что роторная ветроэлектростанция содержит, по меньшей мере, один модуль. Модуль включает ротор с лопастями, выполненными в форме аэродинамических крыльев и установленными с зазором относительно вала модуля, механически связанного с валом электрогенератора. Ветроэлектростанция снабжена обтекателем, расположенным перед модулем по воздушному потоку и охватывающим зазор между внутренними кромками лопастей ротора модуля, и конфузором, размещенным перед обтекателем по потоку и на выходе его охватывающим. Причем ротор модуля выполнен в виде диска, а его лопасти установлены на диске. 3 з.п. ф-лы, 3 ил. 
Изобретение относится к энергетике, в частности, к конструкциям ветроэлектрических установок, у которых оси вращения роторов могут иметь различное положение относительно координатных осей, но всегда соосно с направлением воздушного потока, что может быть использовано для выработки электроэнергии за счет преобразования энергии воздушного потока, удаляемого вентиляционными установками из различных помещений (метро, заводские цеха и др.), а также на ветровых электростанциях с выдачей ее как в частную, так и в общественную энергосистемы.
Известен ветродвигатель, содержащий ротор с криволинейными лопастями, направляющий аппарат, установленный с возможностью поворота относительно ротора и выполненный в виде двух групп лопаток, в каждой из которых длина лопаток увеличивается в направлении вращения ротора, и флюгер, расположенный в плоскости, проходящей между группами лопаток (см. SU 985402 А, МПК F 03 D 3/00, 30.12.1982).
В известном ветродвигателе часть воздушного потока непосредственно воздействует на изогнутые поверхности лопастей ротора, а другая часть потока улавливается направляющим аппаратом и посредством его лопаток направляется на лопасти ротора, что обеспечивает более полное использование ветра.
К недостаткам известного устройства следует отнести невозможность его работы без флюгера, наличие которого усложняет конструкцию устройства и повышает его инерционность.
Усложняет конструкцию известного устройства и необходимость установки лопаток различной длины, а натекание потока практически под прямым углом к поверхности лопастей приводит к их ударному воздействию и, как следствие, появлению обратных потоков.
Кроме того, лопасти ротора по всей длине выполнены плоскими, то есть без учета аэродинамики.
Известен ветродвигатель, турбина которого образована рядом профилированных осесимметричных лопастей и расположена внутри направляющей системы, образованной несколькими установленными неподвижно направляющими створками, при этом каждая из лопастей турбины представляет собой часть боковой поверхности цилиндра, поперечное сечение каждой из створок имеет профиль в виде синусоиды, кромки лопастей сориентированы так, чтобы обеспечить плавное обтекание воздуха с направляющих створок на лопасти турбины (см. RU 2168059 С2, МПК F 03 D 3/04, 27.05.2001).
Известный ветродвигатель может работать без флюгера, что повышает его маневренность и делает его простым в изготовлении.
Однако полнота использования энергии ветра в данном устройстве недостаточна, что является одним из его главных недостатков.
Наиболее близким по технической сущности к предлагаемому изобретению является установка для преобразования ветровой энергии в электрическую, представляющая собой роторную ветроэлектростанцию, состоящую из направляющего аппарата с лопатками, выполненными в форме аэродинамических крыльев, направленных к его периферии, и ротора с лопастями, также имеющими форму аэродинамических крыльев, но направленными в сторону вала ротора и установленными с зазором относительно его. Лопатки и лопасти своими вогнутыми поверхностями ориентированы в противоположных окружных направлениях, а сама ветроэлектростанция выполнена по меньшей мере из одного модуля. При этом вал модуля механически связан с валом электрогенератора (см. RU 2215898 С1, МПК F 03 D 3/04, 10.11.2003).
Обеспечиваемая известным устройством схема движения воздушного потока внутри устройства повышает эффективность использования энергии ветра, однако не в полной мере.
Известная роторная ветроэлектростанция не может применяться для утилизации энергии воздушного потока, отходящего от вентиляционных установок, из-за своего только вертикального расположения.
Задачей настоящего изобретения является повышение полноты использования энергии ветрового потока, а также упрощение конструкции роторной ветроэлектростанции и ее эксплуатации.
Указанная задача решена тем, что роторная ветроэлектростанция, содержащая по меньшей мере один модуль, включающий ротор с лопастями, выполненными в форме аэродинамических крыльев и установленными с зазором относительно вала модуля, механически связанного с валом электрогенератора, снабжена обтекателем, расположенным перед модулем по воздушному потоку и охватывающим зазор между внутренними кромками лопастей ротора модуля, и конфузором, размещенным перед обтекателем по потоку и на выходе его охватывающим, причем ротор модуля выполнен в виде диска, а его лопасти установлены на диске.
Указанная задача решена также тем, что роторная ветроэлектростанция может быть дополнительно снабжена флюгером, установленным на электрогенераторе.
Указанная задача решена также тем, что роторная ветроэлектростанция может быть дополнительно снабжена направляющим аппаратом с лопатками.
Указанная задача решена также тем, что каждый последующий модуль может быть выполнен с диаметром, превышающим диаметр предыдущего модуля не менее чем в 1,3 раза.
Благодаря такому выполнению ветроэлектростанции обеспечивается более полная передача энергии как естественного, так и искусственно созданного воздушных потоков.
Изобретение иллюстрируется чертежами.
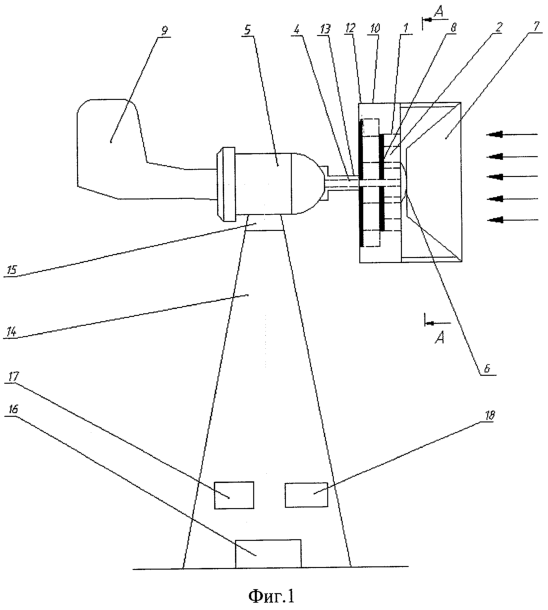
На фиг.1 представлена предлагаемая роторная ветроэлектростанция с горизонтально расположенной осью ротора.
На фиг.2 – вариант предлагаемой роторной ветроэлектростанции с вертикально расположенной осью ротора.
На фиг.3 – поперечное сечение фиг.1 по А-А.
Предлагаемая роторная ветроэлектростанция (фиг.1) содержит по меньшей мере один модуль 1. Модуль 1 включает ротор 2 с лопастями 3, установленными с зазором относительно вала 4 модуля 1, механически связанного с валом электрогенератора 5. Лопасти 3 ротора 2 выполнены в форме аэродинамических крыльев, обращенных в сторону оси вала 4. Ветроэлектростанция снабжена также отклоняющим воздушный поток обтекателем 6, расположенным перед модулем 1 по воздушному потоку и охватывающим зазор между внутренними кромками лопастей 3 ротора 2 модуля 1, и конфузором 7, размещенным перед обтекателем 6 по потоку и на выходе его охватывающим. Ротор 2 модуля 1 выполнен в виде диска 8, а его лопасти 3 установлены на диске 8. Установка на ветер производится флюгером 9, которым роторная ветроэлектростанция может быть дополнительно снабжена, причем флюгер 9 установлен на электрогенераторе 5. Кроме того, роторная ветроэлектростанция может быть дополнительно снабжена направляющим аппаратом 10 с лопатками 11, который обеспечивает возможность работы ветроэлектростанции при любых ветрах без ее остановки. Наличие направляющего аппарата 10 также предохраняет птиц от гибели во время работы ротора 2. В случае использования в ветроэлектростанции нескольких модулей каждый последующий модуль 12 может быть выполнен с диаметром, превышающим диаметр предыдущего модуля 1 не менее чем в 1,3 раза. При этом валы 4 каждого модуля образуют общий вал. Направляющий аппарат 10 и конфузор 7 крепятся на электрогенераторе 5 посредством переходной втулки 13, внутри которой проходит вал 4. Ветроэлектростанция установлена на опоре 14 с соединительным поворотным устройством 15 для настройки на ветер. Выход нагрузки электрогенератора 5 производится через преобразователь (условно не показан) и регулятор 16, электрически связанный с распределительным щитом 17. Кроме того, электрогенератор 5 связан с аккумуляторной батареей 18.
Работа описываемой ветроэлектростанции осуществляется следующим образом.
Поток ветра поступает в конфузор 7, ускоряется в нем и с большой скоростью попадает на обтекатель 6, отклоняясь им, перетекает сразу на все лопасти 3 ротора 2 и, отдав часть своей кинетической энергии сразу всем лопастям 3, покидает объем модуля 1 через зазор между лопастями 3 и попадает в следующий модуль 12, где, также отдав сразу всем лопастям 3 часть своей кинетической энергии, покидает ветростанцию. Известно, что при обтекании геометрических тел потоком ветра всегда возникают вихри, а при образовании вихревого воздушного потока его скорость увеличивается в несколько раз по сравнению со скоростью ветра на входе в ветростанцию, причем наибольшая скорость его наблюдается на лопастях 3.
Работа сразу всех лопастей 3 модулей 1 и 12 позволит повысить КПД ветростанции. Скорость вращения роторов может достигать несколько тысяч оборотов в минуту, что позволит отказаться от применения редукторов.
В варианте в случае неподвижной установки ветроэлектростанции (фиг.2) в креплении 19, например, над вентиляционной шахтой 20 (ось ротора 2 вертикальна), воздушный поток также поступает в конфузор 7, ускоряется в нем и попадает на обтекатель 6, отклоняясь им, перетекает сразу на все лопасти 3, покидает объем модуля 1 и попадает в следующий модуль 12, где, также отдав часть своей кинетической энергии, покидает ветростанцию. При наличии естественного горизонтального потока ветра он может через лопатки 11 направляющего аппарата 10 одновременно воздействовать на лопасти 3 модулей 1 и 12. В этом случае произойдет сложение сил от воздействия взаимно перпендикулярных воздушных потоков на лопасти модулей 1 и 12 независимо от направлений потоков.
Таким образом, использование предлагаемой ветроэлектростанции позволит повысить полноту использования энергии ветрового потока путем рекуперации электроэнергии с вытяжных, вентиляционных и других систем, а также упростить конструкцию роторной ветроэлектростанции и ее эксплуатацию.
Формула изобретения
1. Роторная ветроэлектростанция, содержащая, по меньшей мере, один модуль, включающий ротор с лопастями, выполненными в форме аэродинамических крыльев и установленными с зазором относительно вала модуля, механически связанного с валом электрогенератора, отличающаяся тем, что она снабжена обтекателем, расположенным перед модулем по воздушному потоку и охватывающим зазор между внутренними кромками лопастей ротора модуля, и конфузором, размещенным перед обтекателем по потоку и на выходе его охватывающим, причем ротор модуля выполнен в виде диска, а его лопасти установлены на диске.
2. Роторная ветроэлектростанция по п.1, отличающаяся тем, что она дополнительно снабжена флюгером, установленным на электрогенераторе.
3. Роторная ветроэлектростанция по п.1 или 2, отличающаяся тем, что она дополнительно снабжена направляющим аппаратом с лопатками.
4. Роторная ветроэлектростанция по п.1, отличающаяся тем, что каждый последующий модуль выполнен с диаметром, превышающим диаметр предыдущего модуля не менее чем в 1,3 раза.
РИСУНКИ
|
|