|
(21), (22) Заявка: 2003102441/06, 20.06.2001
(24) Дата начала отсчета срока действия патента:
20.06.2001
(30) Конвенционный приоритет:
29.06.2000 IT MI2000A001461
(43) Дата публикации заявки: 10.08.2004
(45) Опубликовано: 20.02.2006
(56) Список документов, цитированных в отчете о поиске:
US 4193603 A, 18.03.1980. GB 852805 А, 02.11.1960. RU 2151897 С1, 27.06.2000. RU 2134808 С1, 20.08.1999. RU 2036312 C1, 27.05.1995. RU 2039872 С1, 20.07.1995.
(85) Дата перевода заявки PCT на национальную фазу:
29.01.2003
(86) Заявка PCT:
EP 01/07024 (20.06.2001)
(87) Публикация PCT:
WO 02/01046 (03.01.2002)
Адрес для переписки:
129010, Москва, ул. Б.Спасская, 25, стр.3, ООО “Юридическая фирма Городисский и Партнеры”, пат.пов. Г.Б. Егоровой
|
(72) Автор(ы):
КОППОЛА Алессандро (IT)
(73) Патентообладатель(и):
НУОВО ПИНЬОНЕ ХОЛДИНГ С.П.А. (IT)
|
(54) СИСТЕМА УПЛОТНЕНИЯ ДЛЯ ГАЗОВОЙ ТУРБИНЫ
(57) Реферат:
Система предназначена для уплотнения и создания повышенного давления для амортизатора опоры газовой турбины. Газовая турбина снабжена компрессором, с которым связана внутренняя полость, а амортизатор опоры, в свою очередь, снабжен уплотнениями по отношению к оси компрессора, и имеет по меньшей мере одну трубу для воздухообмена. Воздух подается во внутреннюю полость с использованием вентиляционной трубы амортизатора опоры с тем, чтобы создавался поток воздуха, который начинается от промежуточной ступени компрессора и протекает по направлению к внутренней полости. Такое выполнение системы позволит обеспечить возможность регулировки, ориентированной на потребителя и непрерывной в течение периода времени без необходимости прекращения работы установки. 3 з.п. ф-лы, 7 ил. 
Настоящее изобретение относится к системе уплотнения и создания повышенного давления для амортизатора опоры газовой турбины.
Как известно, газовые турбины содержат компрессор, в который подается воздух, отбираемый из окружающего пространства, например, с целью сжатия в компрессоре.
Сжатый воздух проходит в несколько камер сгорания, заканчивая свой путь в соплах, в каждое из которых инжектор подает топливо, которое смешивается с воздухом для образования горючей воздушно-топливной смеси, предназначенной для сжигания.
Теплосодержание газообразных продуктов сгорания в указанных камерах сгорания преобразуется турбиной в механическую энергию, которая предоставляется пользователю.
В частности, настоящее изобретение относится к участку выпускного отверстия компрессора газовой турбины.
Чтобы ввести в курс технических проблем, которые решаются настоящим изобретением, необходимо отметить, что непрерывные поиски путей улучшения характеристик газовых турбин привели к необходимости оптимизации всех потоков внутри газотурбинных двигателей.
В частности, поскольку термодинамическое качество воздуха, получаемого из ступеней сжатия, достаточно высокое, его, по возможности, необходимо использовать для горения, а не для охлаждения и уплотнения, что однако необходимо на большей части ответственных горячих участков.
Поэтому проблема, которая возникает в этой связи, заключается в точной дозировке воздуха, отбираемого из ступеней сжатия на различных участках, с учетом того, что количество необходимого воздуха изменяется в соответствии с режимами работы, сроком службы и износом или загрязнением газотурбинного двигателя и его деталей, а также с изменениями размеров деталей во время переходных процессов.
В действительности, последствием недостаточного потока воздуха в лучшем случае является существенное сокращение срока службы деталей установки с вытекающей из этого возможностью разрушения лопаток и пожаров.
В этом месте необходимо отметить, что, между прочим, эти обстоятельства могут способствовать увеличению затрат пользователей, и что важно обращать внимание на проблему точной дозировки воздуха в случае улучшения технических характеристик уже имеющихся установок.
Для лучшего понимания технических проблем, затрагиваемых в настоящем изобретении, сначала обратимся к Фиг. 1-3, на которых показаны соответственно разрез газовой турбины в соответствии с уровнем техники, в целом обозначенной ссылочным номером 20, увеличенное изображение выпускного участка компрессора 21 газовой турбины 20 и детализация участка, относящегося к амортизатору 24 опоры турбины.
Точнее, на Фиг. 1 показана газовая турбина 20, снабженная компрессором 21, с которым связана внутренняя полость 23, и амортизатором 24 опоры; среди прочего на Фиг. 1 также показаны рабочие колеса 25 и 26 турбины 20.
Практически, на Фиг. 2 показано обычное решение, предназначенное для регулирования охлаждающих потоков в газовой турбине 20, и это решение может включать в себя неподвижные отверстия 22 в корпусе 50 внутренней полости 23; кроме того, стрелками указаны направления охлаждающих потоков.
При более детальном рассмотрении Фиг. 2 можно увидеть статор 27 и лопатки 28, которые относятся к последним ступеням компрессора 21, выпускной диффузор 29 компрессора 21, вентиляционную выпускную трубу 33, которая связана с амортизатором 24 опоры, и воздухонепроницаемые уплотнения 30 и 38 внутренней полости 23; на фигуре также показана часть ротора 32.
На Фиг. 3 детально показан участок, относящийся к амортизатору 24 опоры турбины, на котором потоки воздуха согласно уровню техники показаны стрелками.
Решения, которые в настоящее время используют для точной дозировки потоков воздуха, предназначенных для охлаждения и уплотнения, заключаются в точном задании отверстий в системе трубопроводов и в подающих трубопроводах и в определении размеров зазоров между вращающимися узлами и лабиринтными уплотнениями, предусмотренными на дополнительных деталях статора установки.
В соответствии с указанным отверстия и лабиринтные уплотнения (см. Фиг. 2-3) выполняют взаимозависимыми с конструктивной точки зрения и однозначно задают на этапе разработки опытного образца, чтобы иметь возможность контролировать экстремальные и нерасчетные ситуации.
Это означает, что тем самым эти технические нормы и допуски на этапе сборки сохраняются изготовителем неизменными.
Непосредственное последствие этой ситуации заключается в том, что по этой причине невозможно скорректировать количество воздуха, который непрерывно подается на все ответственные участки турбины, в соответствии с действительными текущими потребностями, которые существенно зависят от изменчивости окружающих и рабочих условий.
Однако в настоящее время возрастают требования заказчиков к характеристикам установок, что приводит к необходимости уменьшения потоков воздуха по существу до минимальных путем использования все более высокоэффективных уплотнений, и это усугубляет недостаток, обусловленный наличием заранее заданных технических норм, которые не являются гибкими.
В частности, существует тенденция к уменьшению количества воздуха, который выпускается из компрессора 21 к самым внутренним частям установки 20 (Фиг. 1-3), особенно в пространство во внутренней полости 23.
Этот воздух, который проходит через барьер первого лабиринтного уплотнения 38, далее выходит из выпускного отверстия амортизатора 24 опоры компрессора 21 через рабочий зазор первой лопатки турбины, через лабиринтное уплотнение, образованное с ложными крылышками на хвостовых частях лопаток, и неподвижные уплотнения, которые расположены на статоре.
Поэтому функция этого воздуха заключается в блокировке паров масла в амортизаторе 24, блокировке горячих газов в турбине 20, в охлаждении диска турбины и в отведении теплоты, создаваемой трением при воздухообмене во внутренней полости 23.
Следовательно, очевидно, что дозировка этого потока является определяющей в части его влияния на общую надежность и на характеристику производительности.
Поэтому целесообразно реализовать систему регулирования, приводимую в действие непосредственно в реальном времени с пульта управления установкой, с тем, чтобы образовать самонастраивающуюся встроенную систему.
В обычной системе уплотнения и создания повышенного давления для амортизатора опоры газовой турбины, где указанная газовая турбина снабжена компрессором, связанным с внутренней полостью, при этом указанный амортизатор опоры, в свою очередь, снабжен уплотнениями по отношению к оси компрессора и имеет по меньшей мере одну вентиляционную трубу для подачи воздуха через ее выпускное отверстие во внутреннюю полость с тем, чтобы создать суммарный поток воздуха, который начинается от промежуточной ступени компрессора и протекает по направлению к внутренней полости, раскрытой, например, в патентных документах США № 4193603 А (кл. F 16 J 15/40, от 18.03.1980) и Великобритании № 852805 А (кл. B 13 C 16/14, от 02.11.1960), весь воздух, который необходим для охлаждения пространства внутренней полости 23, промежуточного (компрессор/турбина) вала 34, амортизатора 24 и ротора турбины под высоким давлением, и дополнительный воздух, который необходим для блокировки масла и паров полости 24, получают через лабиринтное уплотнение, которое блокирует поверхность раздела внутренняя полость/фланец промежуточного вала.
Поток, полученный из последней ступени компрессора 21, затем впускается в пространство внутренней полости 23 через лабиринтное уплотнение и далее разделяется на два потока, один из которых обтекает ротор турбины, а затем выводится, блокируя канал горячих газов, а другой протекает к внешнему лабиринтному уплотнению амортизатора 24 опоры и затем выводится преимущественно в вентиляционную трубу 33, при этом оставшееся количество с целью слива масла из амортизатора 24 опоры протекает в расположенный под ним сборный резервуар 35, проходя через внутреннее лабиринтное уплотнение 38, которое блокирует масло и пары.
Воздух, который выводится из вентиляционной трубы 33 амортизатора 24, затем направляется к заднему пространству турбины низкого давления, выполняя функции охлаждения (как в случае контуров типа FR3.2, когда он необязательно добавляется к другому воздуху, отводимому к компрессору), или направляется в окружающую среду.
При «фиксированной» схеме этого типа распределение потоков тесно связано с действием различных лабиринтных уплотнений и его изменением при использовании, и очевидно, что оно не зависит от логики регулирования, а также от износа и изменений размеров деталей, которые трудно предсказать с необходимой точностью.
Поэтому задача настоящего изобретения заключается в разработке системы уплотнения и создания повышенного давления для амортизатора опоры газовой турбины, которая обеспечивает возможность регулировки, ориентированной на потребителя и непрерывной в течение периода времени без необходимости прекращения работы установки.
В частности, задача заключается в обеспечении подачи воздуха, осуществляемой непрерывно в соответствии с реальными потребностями, которые время от времени возникают в газовой турбине.
Еще одна задача изобретения заключается в разработке системы уплотнения и создания повышенного давления для амортизатора опоры газовой турбины, которая позволяет продлить срок службы деталей газовой турбины, на которых она установлена.
Еще одна задача изобретения заключается в разработке системы уплотнения и создания повышенного давления для амортизатора опоры газовой турбины, которая исключает необходимость какого-либо удаления ответственных деталей газотурбинной установки при осуществлении возможности регулировки потока воздуха во внутреннюю полость.
Еще одна задача изобретения заключается в разработке системы уплотнения и создания повышенного давления для амортизатора опоры газовой турбины, использование которой не требует радикальной перекомпоновки установки и которая может быть легко приспособлена к существующим установкам и, кроме того, экономична.
Еще одна задача изобретения заключается в разработке системы уплотнения и создания повышенного давления для амортизатора опоры газовой турбины, которая является по существу простой, безопасной и надежной.
Эти и другие задачи решаются посредством системы уплотнения и создания повышенного давления для амортизатора опоры газовой турбины, где указанная газовая турбина снабжена компрессором, связанным с внутренней полостью, при этом указанный амортизатор опоры, в свою очередь, снабжен уплотнениями по отношению к оси компрессора и имеет по меньшей мере одну вентиляционную трубу для подачи воздуха через ее выпускное отверстие во внутреннюю полость с тем, чтобы создать суммарный поток воздуха, который начинается от промежуточной ступени компрессора и протекает по направлению к внутренней полости, характеризующейся тем, что подача воздуха обеспечивается как через уплотнения, так и через боковое отверстие вентиляционной трубы, так что первая часть суммарного потока воздуха передается во внутреннюю полость с помощью отверстия трубы.
Предпочтительно, уплотнения имеют внутреннюю и внешнюю, разнесенные на расстояние по направлению оси части уплотнений по отношению к вкладышу, так что вторая часть суммарного потока воздуха передается во внутреннюю полость через внешнее лабиринтное уплотнение амортизатора.
Предпочтительно, амортизатор опоры включает в себя пневматический дроссельный клапан, регулируемый непосредственно с пульта управления, и электромеханический привод с датчиком положения клапана.
Предпочтительно, внешнее лабиринтное уплотнение включает в себя отверстие для прохода воздуха и уплотняющую гребенку.
В соответствии с предпочтительным вариантом осуществления настоящего изобретения первая часть суммарного потока воздуха передается в пространство первой полости через посредство отверстия, образованного в указанной вентиляционной трубе, а вторая часть суммарного потока воздуха проходит через внешнее лабиринтное уплотнение амортизатора, всецело для того, чтобы создать циркуляцию воздуха в обратном направлении.
В соответствии с предпочтительным вариантом осуществления настоящего изобретения указанный амортизатор опоры во взаимодействии со своими собственными лабиринтными уплотнениями обеспечивает возможность задания указанной циркуляции воздуха в обратном направлении посредством введения клапана, который может регулировать поток воздуха, и электромеханического привода, который предусмотрен с датчиком положения клапана.
Кроме того, автоматический клапан регулируется непосредственно с пульта управления установкой с тем, чтобы по существу мгновенно отслеживать изменения режимов функционирования в соответствии с алгоритмом, подходящим для обработки данных, получаемых от стандартных датчиков, поставляемых вместе с газовой турбиной.
Наконец, используемый охлаждающий воздух отводится в десятую ступень компрессора, а второй диск турбины охлаждается непосредственно путем подачи из выпуска в указанную десятую ступень.
Дополнительные характеристики изобретения определены в формуле изобретения, приложенной к настоящей патентной заявке.
Дополнительные задачи и преимущества настоящего изобретения и его конкретные структурные и функциональные характеристики станут очевидными из рассмотрения следующего описания и приложенных к нему чертежей, которые представлены только в качестве поясняющего, не создающего ограничений примера и на которых:
Фиг. 1 – поперечный разрез газовой турбины в соответствии с уровнем техники;
Фиг. 2 – увеличенное изображение в поперечном разрезе участка выпуска компрессора газовой турбины из Фиг. 1;
Фиг. 3 – детализация в поперечном разрезе участка, относящегося к амортизатору опоры турбины, с показом потоков воздуха согласно уровню техники;
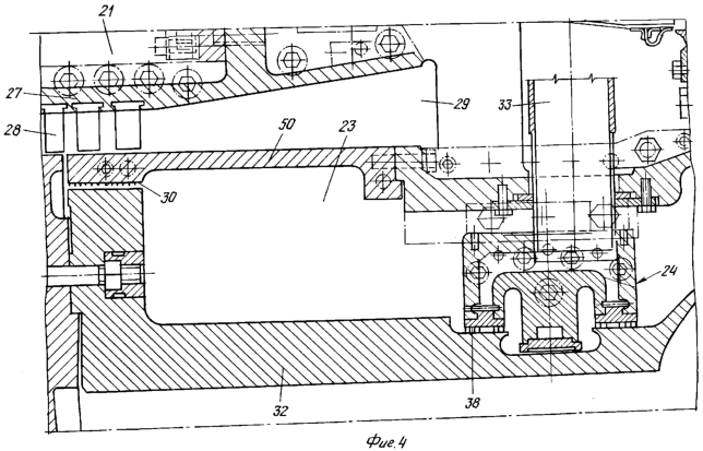
Фиг. 4 – поперечный разрез системы уплотнения и создания повышенного давления для амортизатора опоры газовой турбины в соответствии с настоящим изобретением;
Фиг. 5 – детализация в поперечном разрезе участка, относящегося к амортизатору опоры турбины, с показом потоков воздуха согласно настоящему изобретению;
Фиг. 6 – детализация в поперечном сечении участка, относящегося к лабиринтному уплотнению, предназначенному для уплотнения амортизатора опоры; и
Фиг. 7 – вид в плане лабиринтного уплотнения, предназначенного для уплотнения амортизатора опоры.
В этом месте обратим особое внимание на Фиг. 4-7, на которых система уплотнения и создания повышенного давления согласно настоящему изобретению для амортизатора опоры газовой турбины с целом обозначена ссылочным номером 10.
В системе 10 уплотнения и создания повышенного давления согласно настоящему изобретению воздух подают во внутреннюю полость 23, используя вентиляционную трубу 33 амортизатора 24, с помощью потока, который является противоположным по сравнению с потоком согласно уровню техники, тем самым по возможности уменьшая поток воздуха в лабиринтном уплотнении.
Таким образом, основной поток воздуха передают обратно в полость, в основном через отверстие, а частично через внешнее лабиринтное уплотнение амортизатора 24, также с помощью потока, который по возможности уменьшают, и в направлении, которое противоположно направлению в компоновке прототипа.
Поэтому остальная часть воздуха, который входит в корпус амортизатора 24, проходит в область вкладышей 37, в результате чего исключаются утечки масла и паров.
Следовательно, можно отметить, что амортизатор 24 опоры во взаимодействии с лабиринтными уплотнениями 38 и 39 обеспечивает возможность получения нового контура циркуляции воздуха путем введения пневматического дроссельного клапана и электромеханического привода с датчиком положения клапана.
Для реализации циркуляции согласно изобретению в дополнение к форме и фланцевому соединению вентиляционная труба 33 амортизатора 24 опоры к тому же снабжена отверстием 42.
В системе предусмотрена возможность автоматической регулировки клапана непосредственно с пульта управления установкой, чтобы по существу мгновенно осуществлять согласование с изменениями рабочих режимов в соответствии с алгоритмом, подходящим для обработки данных, получаемых от стандартных датчиков, поставляемых вместе с газовой турбиной.
Кроме того, на Фиг. 6 представлено поперечное сечение детали, относящейся к лабиринтному уплотнению, предназначенному для уплотнения амортизатора 24 опоры, с отверстием 40 для прохода воздуха и уплотняющей гребенкой 41.
Приведенное описание делает очевидными характеристики и преимущества системы уплотнения и создания повышенного давления для амортизатора опоры газовой турбины, выполненной в соответствии с изобретением.
Нижеследующие соображения и замечания приведены для того, чтобы охарактеризовать указанные преимущества более ясно и точно.
Предложенное решение разработано для того, чтобы иметь возможность изменять поток воздуха, подаваемого во внутреннюю полость, без необходимости замены или демонтажа какой-либо ответственной детали газотурбинного двигателя, а путем простого действия без нарушения непрерывности регулировки соответствующего дроссельного клапана, который введен в систему нового типа, ранее описанную применительно к охлаждению и вентиляции.
Это обеспечивает возможность ориентированной на потребителя регулировки непрерывно во времени без простоя установки.
Основное преимущество заключается в возможности уплотнять наилучшим возможным способом поверхность раздела между внутренней полостью и осью компрессора, при этом необязательно использовать новые уплотнения щеточного типа, чтобы при необходимости иметь возможность регулировать поток воздуха полностью независимо от изменений размеров с течением времени.
Поэтому также можно наилучшим образом преградить доступ через внешнее лабиринтное уплотнение пневматического уплотнения в амортизаторе 24 опоры, дополнительно рассчитывая на то, что, поскольку канал, имеющийся между внутренним и внешним лабиринтными уплотнениями, находится под повышенным давлением, то это может ограничить опасность загрязнения внешнего уплотнения путем соприкосновения с маслом.
Воздух, который необходим для того, чтобы путем вентилирования отвести теплоту, создаваемую валом, и который затем обтекает диск турбины и, наконец, создает уплотнение канала горячих газов, полностью и точно регулируется посредством внешнего клапана.
Следовательно, в течение всего периода времени работы газотурбинного двигателя гарантируется непрерывная регулировка, а кроме того, используемый охлаждающий воздух является более холодным, чем воздух, который выпускается в пятнадцатую ступень (полученный из десятой ступени), и поэтому обеспечивается возможность дополнительного охлаждения.
Второй диск турбины охлаждается непосредственно путем подачи из выпуска в десятую ступень.
Весьма удовлетворительные теоретические и экспериментальные результаты демонстрируют возможность использования системы в широко распространенных газотурбинных двигателях.
Очевидно, что многочисленные изменения могут быть сделаны в выполненной согласно настоящему изобретению системе уплотнения и создания повышенного давления для амортизатора опоры газотурбинного двигателя, которая является объектом настоящего изобретения, без отступления от принципов новизны, которые присущи показанной идее изобретения.
Наконец, очевидно, что при практическом осуществлении изобретения для показанных деталей в соответствии с предъявляемыми требованиями могут быть использованы любые материалы, конфигурации и размеры, а детали могут заменяться другими, которые эквивалентны с технической точки зрения.
Объем изобретения определяется приложенной формулой изобретения.
Формула изобретения
1. Система уплотнения и создания повышенного давления для амортизатора опоры газовой турбины, где указанная газовая турбина снабжена компрессором, связанным с внутренней полостью, при этом указанный амортизатор опоры, в свою очередь, снабжен уплотнениями по отношению к оси компрессора и имеет по меньшей мере одну вентиляционную трубу для подачи воздуха через ее выпускное отверстие во внутреннюю полость с тем, чтобы создать суммарный поток воздуха, который начинается от промежуточной ступени компрессора и протекает по направлению к внутренней полости, отличающаяся тем, что подача воздуха обеспечивается как через уплотнения, так и через боковое отверстие вентиляционной трубы, так что первая часть суммарного потока воздуха передается во внутреннюю полость с помощью отверстия трубы.
2. Система по п.1, отличающаяся тем, что уплотнения имеют внутреннюю и внешнюю разнесенные на расстояние по направлению оси части уплотнений по отношению к вкладышу, так что вторая часть суммарного потока воздуха передается во внутреннюю полость через внешнее лабиринтное уплотнение амортизатора.
3. Система по п.2, отличающаяся тем, что внешнее лабиринтное уплотнение включает в себя отверстие для прохода воздуха и уплотняющую гребенку.
4. Система по п.1, отличающаяся тем, что амортизатор опоры включает в себя пневматический дроссельный клапан, регулируемый непосредственно с пульта управления, и электромеханический привод с датчиком положения клапана.
РИСУНКИ
|