|
(21), (22) Заявка: 95107516/06, 16.05.1995
(24) Дата начала отсчета срока действия патента:
16.05.1995
(43) Дата публикации заявки: 20.04.1997
(45) Опубликовано: 20.02.2006
(56) Список документов, цитированных в отчете о поиске:
Источники информации отсутствуют.
Адрес для переписки:
129301, Москва, ул. Касаткина 13, руководителю НПО “Сатурн”
|
(72) Автор(ы):
Гойхенберг Михаил Михайлович (RU), Иванов Виталий Владимирович (RU), Канахин Юрий Александрович (RU), Чепкин Виктор Михайлович (RU)
(73) Патентообладатель(и):
Открытое акционерное общество “Научно-производственное объединение “Сатурн” (RU)
|
(54) МАСЛЯНОЕ УПЛОТНЕНИЕ ОПОРЫ ГАЗОТУРБИННОГО ДВИГАТЕЛЯ
(57) Реферат:
Масляное уплотнение опоры газотурбинного двигателя касается уплотнения вала опоры и выполняет задачу по резкому уменьшению попадания воздуха высокого давления в масляную полость и, как следствие, уменьшению выбросов масла через полость суфлирования, уменьшению расхода масла и исключению “масляного голодания”. При работе газотурбинного двигателя воздух от компрессора двигателя поступает в камеру наддува 4, откуда с одной стороны через лабиринтное уплотнение 6 истекает в газовоздушный тракт 5, а с другой стороны – через лабиринтное уплотнение 7 поступает в камеру суфлирования 3. Незначительное количество воздуха, поступившего в камеру суфлирования 3, проходит в масляную полость. Основная часть воздуха выбрасывается из камеры суфлирования 3 через клапан постоянного перепада 9 в атмосферу. Давление в камере суфлирования 3 всегда меньше давления в камере наддува 4 и обеспечивается настройкой клапана постоянного перепада 9. 1 ил. 
Изобретение относится к газотурбинным двигателям и касается уплотнения опоры вала.
Известно масляное уплотнение опоры газотурбинного двигателя, содержащее масляную полость с контактным уплотнением, камеру суфлирования и камеру наддува, отделенную от газовоздушного тракта одним лабиринтным уплотнением (Патент США N 3205024, НКИ 308-184, опубл. 1965 г.).
Однако во время работы двигателя воздух высокого давления и высокой температуры попадает в масляную полость, что приводит к повышению температуры и давления в ней и выбросу масла через камеру суфлирования, то есть, к “масляному голоданию”.
Известно масляное уплотнение опоры газотурбинного двигателя, содержащее масляную полость с контактным уплотнением, камеру суфлирования и камеру наддува, отделенную от газовоздушного тракта двумя ступенями лабиринтного уплотнения (Патент США N 4683714, НКИ 60-39.02, опубл. 1987 г.).
Однако несмотря на наличие 2-го лабиринтного уплотнения существенных улучшений по сравнению с предыдущим решением здесь не происходит.
Наиболее близким решением является масляное уплотнение опоры газотурбинного двигателя, содержащее масляную полость с контактным уплотнением, камеру суфлирования и камеру наддува, отделенную от газовоздушного тракта лабиринтным уплотнением (Патент США N 4542623, фиг.3, НКИ 60-226.1).
В таком масляном уплотнении горячий воздух высокого давления уже не попадает в масляную полость. Однако воздух из полости наддува, который все же имеет более низкую температуру, также попадает в масляную полость, что приводит к повышению давления в ней и выбросу масла через камеру суфлирования, то есть к “масляному голоданию”.
Задача изобретения – резко уменьшить попадание воздуха высокого давления в масляную полость и, как следствие, уменьшить выбросы масла через полость суфлирования, что уменьшает расход масла, а значит, и исключает “масляное голодание”.
Поставленная задача достигается тем, что в масляном уплотнении опоры газотурбинного двигателя, содержащем масляную полость с контактным уплотнением, камеру суфлирования и камеру наддува, отделенную от газовоздушного тракта уплотнением, камера суфлирования размешена между масляной полостью и камерой наддува, отделена от последней лабиринтным уплотнением и снабжена на выходе регулирующим устройством, выполненным в виде клапана постоянного перепада.
При работе газотурбинного двигателя воздух от компрессора двигателя поступает в камеру наддува, откуда с одной стороны через лабиринтное уплотнение истекает в газовоздушный тракт, а с другой стороны – через лабиринтное уплотнение поступает в камеру суфлирования. Незначительное количество воздуха, поступившего в камеру суфлирования, проходит в масляную полость. Основная часть воздуха выбрасывается из камеры суфлирования через клапан постоянного перепада в атмосферу. Давление в камере суфлирования всегда меньше давления в камере наддува и обеспечивается настройкой регулирующего устройства, в качестве которого можно использовать самый обычный клапан постоянного перепада.
Масляное уплотнение предотвращает попадание воздуха высокого давления и температуры в масляную полость. В самой масляной полости можно держать минимально возможное давление. Поскольку воздух здесь всегда движется из камеры наддува в камеру суфлирования и далее в атмосферу через клапан постоянного перепада, то масло, в случае его попадания из масляной полости в камеру суфлирования на переходных режимах, немедленно эвакуируется потоком воздуха через клапан постоянного перепада в атмосферу, то это исключает попадание масла в газовоздушный тракт.
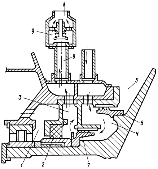
На чертеже показан продольный разрез масляного уплотнения.
Масляное уплотнение содержит масляную полость 1 с контактным графитовым уплотнением 2, камеру суфлирования 3 и камеру наддува 4, отделенную от газовоздушного тракта 5 лабиринтным уплотнением 6. Камера суфлирования 3 размещена между масляной полостью 1 и камерой наддува 4 и отделена от последней лабиринтным уплотнением 7. На выходе 8 камеры суфлирования 3 установлен регулирующее устройство в виде клапана постоянного перепада 9.
При работе газотурбинного двигателя воздух от компрессора двигателя поступает в камеру наддува 4, откуда с одной стороны через лабиринтное уплотнение 6 истекает в газовоздушный тракт 5, а с другой стороны – через лабиринтное уплотнение 7 поступает в камеру суфлирования 3. Незначительное количество воздуха, поступившего в камеру суфлирования 3, проходит в масляную полость. Основная часть воздуха выбрасывается из камеры суфлирования 3 через клапан постоянного перепада 9 в атмосферу. Давление в камере суфлирования 3 всегда меньше давления в камере наддува 4 и обеспечивается настройкой клапана постоянного перепада 9.
Масляное уплотнение предотвращает в широком диапазоне режимов работы двигателя попадание воздуха высокого давления и температуры в масляную полость. В самой масляной полости можно держать минимально возможное давление и, как следствие, исключить “масляное голодание”. Поскольку воздух здесь всегда движется из камеры наддува в камеру суфлирования и далее в атмосферу через клапан постоянного перепада, то масло, в случае его попадания из масляной полости в камеру суфлирования на переходных режимах, немедленно эвакуируется потоком воздуха через клапан постоянного перепада в атмосферу, и это исключает попадание масла в газовоздушный тракт.
Формула изобретения
Масляное уплотнение опоры газотурбинного двигателя, содержащее масляную полость с контактным уплотнением, камеру суфлирования и камеру наддува, отделенную от газовоздушного тракта уплотнением, отличающееся тем, что камера суфлирования размещена между масляной полостью и камерой наддува, отделена от последней уплотнением и снабжена на выходе регулирующим устройством, выполненным в виде клапана постоянного перепада.
РИСУНКИ
PC4A – Регистрация договора об уступке патента Российской Федерации на изобретение
(73) Патентообладатель(и):
Открытое акционерное общество “Научно-производственное объединение “Сатурн”
(73) Патентообладатель:
Открытое акционерное общество “Научно-производственное объединение “Сатурн”
(73) Патентообладатель:
Открытое акционерное общество “Уфимское моторостроительное производственное объединение”
Дата и номер государственной регистрации перехода исключительного права: 12.03.2008 № РД0033747
Извещение опубликовано: 27.04.2008 БИ: 12/2008
|