|
|
(21), (22) Заявка: 2004119004/06, 23.06.2004
(24) Дата начала отсчета срока действия патента:
23.06.2004
(45) Опубликовано: 20.02.2006
(56) Список документов, цитированных в отчете о поиске:
SU 1180554 А, 23.09.1985. US 3966899 А, 14.12.1976. DE 3311626 A1, 11.10.1984. FR 2423634 А1, 16.11.1979. US 3633358 А, 11.06.1972. GB 1440564 А, 23.06.1976. ЕР 0039182 A1, 04.11.1981.
Адрес для переписки:
105203, Москва, ул. Первомайская, 100, кв.132, Б.Ф. Кочеткову
|
(72) Автор(ы):
Кочетков Борис Федорович (RU)
(73) Патентообладатель(и):
Кочетков Борис Федорович (RU)
|
(54) СПОСОБ НАДДУВА С ОДНОВРЕМЕННЫМ СНИЖЕНИЕМ ШУМА ДВИГАТЕЛЯ ВНУТРЕННЕГО СГОРАНИЯ И УСТРОЙСТВО ДЛЯ ЕГО ОСУЩЕСТВЛЕНИЯ
(57) Реферат:
Изобретение относится к поршневым двигателям внутреннего сгорания. Компрессор 3 связывают с преобразователем энергии 1 при помощи ведущего вала 2. Компрессор и преобразователь энергии имеют одинаковое устройство, каждый в виде двух роторов 8, содержащих радиальные выступы 9, постоянно соприкасающиеся между собой и с соответствующими корпусами 7. Между радиальными выступами имеется свободное пространство 10. Вращение роторов преобразователя энергии обеспечивают за счет давления выхлопных газов. Вращение роторов компрессора обеспечивает подачу предварительно сжатого воздуха в цилиндры двигателя. Один из роторов преобразователя закреплен на ведущем валу. Роторы преобразователя энергии совместно с их радиальными выступами образуют сплошную преграду для распространения шума от двигателя при выходе выхлопных газов. Изобретение обеспечивает повышение мощности с одновременным снижением шума. 2 н. и 2 з.п. ф-лы, 2 ил. 
Изобретение относится к поршневым двигателям внутреннего сгорания, в частности к устройствам, связанным с забором воздуха, выхлопом газов, а также к глушителям выхлопа. Может применяться на любых типах упомянутых двигателей для повышения их мощности с одновременным снижением шума при их работе.
Известен способ наддува двигателей внутреннего сгорания, при котором применяют компрессор для подачи предварительно сжатого воздуха в цилиндры двигателя, который приводят в действие при помощи шестеренной передачи, связанной с коленчатым валом двигателя (см. “Политехнический словарь” под ред. А.Ю.Ишлинского, изд. “Советская энциклопедия”, М. – 1980, стр.318-319, рис. “а”).
Указанный способ связан с затруднениями в осуществлении в связи со сложностью привода компрессора и не обеспечивает одновременного снижения шума двигателя.
Наиболее близким по совокупности признаков к заявленному является способ наддува двигателя, при котором применяют компрессор для подачи предварительно сжатого воздуха в цилиндры двигателя, который приводят в действие при помощи газовой турбины с использованием выхлопных газов. Упомянутая газовая турбина является преобразователем кинетической энергии выходящих из цилиндров двигателя газов (см. там же, рис. “б”).
К недостаткам этого способа наддува относится то, что он не обеспечивает одновременного снижения шума двигателя.
Известно устройство для наддува двигателей внутреннего сгорания, содержащее компрессор для подачи предварительно сжатого воздуха в цилиндры двигателя, который приводится в действие при помощи связанной с коленчатым валом шестеренной передачи (см. там же, рис. “а”).
Указанное устройство сложно по устройству, имеет большую массу и не обеспечивает одновременного снижения шума двигателя.
Наиболее близким к предложенному изобретению по совокупности признаков является устройство для наддува двигателя внутреннего сгорания, содержащее сообщающийся с цилиндрами двигателя со стороны выпуска газа газовую турбину, являющуюся преобразователем кинетической энергии выхлопных газов во вращательное движение ведущего вала, связанного с компрессором, входное отверстие которого сообщается с атмосферным воздухом и выходное отверстие – с цилиндрами двигателя (см. там же, рис. “б”).
Недостатками этого устройства для наддува двигателя является сложность устройства, требующего существенных изменений в конструкции двигателя, большая масса и неспособность к одновременному снижению шума двигателя.
Предлагаемое изобретение по способу наддува двигателей внутреннего сгорания и устройству для его осуществления позволяет получить технический результат, заключающийся в простоте устройства, не требующей сложных изменений в конструкции двигателя, малой массе и способности к одновременному снижению шума двигателя.
Указанный технический результат по способу наддува с одновременным снижением шума двигателя внутреннего сгорания достигается тем, что применяют компрессор для подачи предварительно сжатого воздуха в цилиндры двигателя и преобразователь энергий выходящих из цилиндров двигателя газов, при помощи которого приводят в действие упомянутый компрессор.
Согласно изобретению в преобразователе энергии используют остаточное давление газов при выпуске их из цилиндров двигателя и при этом осуществляют вращение двух взаимодействующих роторов, снабженных постоянно соприкасающимися между собой и с их корпусом радиальными выступами, воспринимающими давление газов. Одновременно применяют упомянутые роторы и их радиальные выступы в качестве преграды распространению шума от выхлопных газов двигателя. При этом используют одинаковые по устройству преобразователь энергии и компрессор в части их роторов с радиальными выступами и корпусов, что существенно упрощает осуществление предложенного способа по сравнению с известными аналогами.
Устройство для осуществления указанного выше способа наддува с одновременным снижением шума двигателя внутреннего сгорания содержит сообщающийся с цилиндрами двигателя со стороны выпуска газа механический преобразователь энергий выхлопных газов во вращательное движение ведущего вала, при помощи которого связывают преобразователь энергии с входящим в состав устройства компрессором. Входное отверстие компрессора сообщается с атмосферой, например, через воздушный фильтр, а выходное отверстие компрессора посредством трубопровода сообщается со стороны впуска воздуха с цилиндрами двигателя.
Согласно изобретению преобразователь энергии установлен на выхлопной трубе двигателя и содержит корпус и два ротора с одинаковыми по форме радиальными выступами, постоянно соприкасающимися между собой и стенками корпуса и имеющими между собой на каждом из роторов свободное пространство. Один из роторов закреплен на упомянутом ведущем валу, который соединен с одним из двух роторов компрессора, оба ротора которого устроены подобно роторам с их радиальными выступами упомянутого выше преобразователя энергии. Возможность вращения роторов преобразователя энергии под воздействием газов при выпуске их из цилиндров двигателя обеспечивается радиальными выступами. Одновременно и совокупно роторы с их радиальными выступами являются преградой распространению шума из выхлопной трубы в окружающее пространство и при этом выполняют функции глушителя.
Роторы преобразователя энергии так же, как и роторы компрессора, каждые самостоятельно связаны между собой своей парой зубчатых колес с передаточным отношением, равным единице.
За компрессором перед цилиндрами двигателя установлена камера для поступающего от компрессора сжатого воздуха.
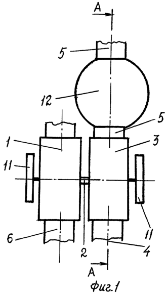
На фиг.1 и фиг.2 показано в общем виде осуществление способа наддува с одновременным снижением шума двигателя внутреннего сгорания на примере соответствующего устройства для осуществления этого способа. Стрелками показано направление движения выхлопных газов через преобразователь энергии и воздуха – через компрессор в цилиндры двигателя. На фиг.1 показана общая компоновка устройства, а на фиг.2 – устройство компрессора, a также в равной мере аналогичное устройство в части роторов с корпусом преобразователя энергии. В связи с одинаковым устройством роторов и корпусов компрессора и преобразователя энергии они в равной мере показаны на фиг.2 с применением одних и тех же цифровых обозначений их частей.
Устройство для наддува с одновременным снижением шума двигателя внутреннего сгорания содержит сообщающийся с цилиндрами двигателя со стороны выпуска газа механический преобразователь энергии 1 выхлопных газов во вращательное движение ведущего вала 2, при помощи которого связывают преобразователь энергии с входящим в состав устройства компрессором 3. Входное отверстие 4 компрессора сообщается с атмосферой, например, через воздушный фильтр, а выходное отверстие компрессора посредством трубопровода 5 сообщается со стороны впуска воздуха с цилиндрами двигателя. Преобразователь энергии 1 установлен на выхлопной трубе 6 двигателя и содержит корпус 7 и два ротора 8 с одинаковыми по форме радиальными выступами 9, постоянно соприкасающимися между собой и стенками корпуса и имеющими между собой на каждом из роторов свободное пространство 10. Один из роторов закреплен на упомянутом выше ведущем валу 2, который соединен с одним из двух роторов компрессора 3, оба ротора которого устроены подобно роторам 8 с их радиальными выступами 9 упомянутого выше преобразователя энергии 1. Возможность вращения роторов 8 преобразователя энергии под давлением газов при выпуске их из цилиндров двигателя обеспечивается радиальными выступами 9. Одновременно и совокупно роторы 8 с их радиальными выступами 9 являются преградой распространению шума из выхлопной трубы 6 в окружающее пространство и при этом выполняют функции глушителя.
Роторы 8 преобразователя энергии 1 так же, как и роторы 8 компрессора 3, каждые самостоятельно связаны между собой своей парой зубчатых колес 11 с передаточным отношением, равным единице.
За компрессором 3 перед цилиндрами двигателя установлена камера 12 для поступающего от компрессора сжатого воздуха.
Приведенное устройство осуществляет предложенный способ наддува с одновременным снижением шума двигателя внутреннего сгорания следующим образом.
Выхлопные газы при выходе из цилиндров обладают остаточным давлением, которое, воздействуя на радиальные выступы 9 роторов 8 преобразователя энергии, приводит их во вращение. Вращение роторов 8 преобразователя энергии посредством ведущего вала 2 передается на роторы 8 компрессора 3. Радиальные выступы 9 компрессора постоянно соприкасаются между собой и с корпусом 7 компрессора, что при наличии между радиальными выступами свободного пространства 10 обеспечивает перемещение воздуха от его входного отверстия 4 в трубопровод 5 и далее в камеру 12 для сжатого воздуха и в цилиндры двигателя. Наличие в камере 12 постоянно сжатого воздуха обеспечивает надежное и быстрое поступление воздуха при его впуске в цилиндры двигателя, в том числе и за счет его предварительного сжатия. Повышение давления воздуха при впуске обеспечивает увеличение мощности двигателя (см. там же, стр.319). Постоянное соприкосновение радиальных выступов 9 преобразователя энергии между собой и с корпусом 7 преобразователя энергии создает твердую сплошную преграду для распространения шума по выхлопной трубе 6, что обеспечивает снижение шума при работе двигателя от выхлопных газов за пределами преобразователя энергии.
Роторы 8 преобразователя энергии 1 так же, как и роторы 8 компрессора 3, связаны между собой каждые самостоятельно своими парами зубчатых колес 11 с передаточным отношением, равным единице, что обеспечивает надежное вращение обоих роторов с одинаковой частотой.
Формула изобретения
1. Способ наддува с одновременным снижением шума двигателя внутреннего сгорания, при котором применяют компрессор для подачи предварительно сжатого воздуха в цилиндры двигателя и преобразователь энергии выходящих из цилиндра газов, при помощи которого приводят в действие компрессор, причем в преобразователе энергии используют остаточное давление газов, выходящих из цилиндров, отличающийся тем, что остаточное давление газов при выпуске их из цилиндров используют для вращения двух взаимодействующих роторов преобразователя энергии, снабженных радиальными выступами, причем один из роторов преобразователя закреплен на ведущем валу, соединенным с одним из двух роторов компрессора, а роторы и выступы преобразователя энергии используют в качестве преграды распространению шума от выхлопных газов двигателя.
2. Устройство для наддува с одновременным снижением шума двигателя внутреннего сгорания, содержащее сообщающийся с цилиндрами двигателя со стороны выпуска газа механический преобразователь энергии выхлопных газов во вращательное движение ведущего вала, при помощи которого связывают преобразователь энергии с входящим в состав устройства компрессором, входное отверстие компрессора сообщается с атмосферой, например, через воздушный фильтр, а выходное отверстие компрессора посредством трубопровода сообщается со стороны впуска воздуха с цилиндрами двигателя, отличающееся тем, что преобразователь энергии содержит корпус и два ротора с одинаковыми по форме радиальными выступами, имеющими между собой на каждом из роторов свободные пространства, один из роторов преобразователя закреплен на ведущем валу, который соединен с одним из двух роторов компрессора, оба ротора которого устроены подобно роторам с их радиальными выступами преобразователя энергии, причем возможность вращения роторов преобразователя энергии под давлением газов при выпуске обеспечивается радиальными выступами, а совокупно роторы с их радиальными выступами являются преградой распространению шума из выхлопной трубы в окружающее пространство и при этом выполняют функции глушителя.
3. Устройство по п.2, отличающееся тем, что роторы преобразователя энергии, также как и роторы компрессора, каждые самостоятельно связаны между собой своей парой зубчатых колес с передаточным отношением, равным единице.
4. Устройство по п.2, отличающееся тем, что за компрессором перед цилиндрами двигателя размещена камера для поступающего из компрессора сжатого воздуха.
РИСУНКИ
|
|