|
|
(21), (22) Заявка: 2004104420/06, 17.02.2004
(24) Дата начала отсчета срока действия патента:
17.02.2004
(43) Дата публикации заявки: 27.07.2005
(45) Опубликовано: 20.02.2006
(56) Список документов, цитированных в отчете о поиске:
SU 67560 А, 30.06.1961. US 4294208 А, 13.10.1981. SU 966277 A, 15.10.1982. RU 2167316 С1, 20.05.2001. ЕР 0080439 А1, 01.06.1983. DE 2300776 А, 17.01.1974. GB 2026607 А, 06.02.1980. US 4292935 А, 06.10.1981.
Адрес для переписки:
142400, Московская обл., г. Ногинск, ул. 200-летия города, 2, ЭП ЦНИТИ, В.С. Барышникову
|
(72) Автор(ы):
Барышников Виктор Сергеевич (RU)
(73) Патентообладатель(и):
Барышников Виктор Сергеевич (RU)
|
(54) ФОРКАМЕРА ДВИГАТЕЛЯ ВНУТРЕННЕГО СГОРАНИЯ
(57) Реферат:
Изобретение относится к двигателестроению, преимущественно к двигателям внутреннего сгорания с воспламенением от сжатия. Форкамера содержит полость, сообщенную с основной камерой сгорания перепускным каналом, смонтирован на наружной части головки блока цилиндров, имеет полость со встроенной распиливающей форсункой, а перепускной канал выполнен в виде профилированного сопла Лаваля, причем входной участок перепускного канала имеет образующую в виде гладкой кривой, форма которой определяется по соотношению Витошинского, а сопряжение входного и выходного участков выполнено по дуге эллипса. Изобретение обеспечивает работу ДВС на бедных жидкотопливно-воздушных и газовоздушных смесях, экономию дизельного топлива, малую токсичность отработавших газов, простоту технического обслуживания и низкую себестоимость. 1 ил. 
Изобретение относится к двигателестроению, преимущественно к двигателям внутреннего сгорания с воспламенением от сжатия, и предназначено для улучшения их технико-экономических и экологических показателей.
Известны форкамеры двигателей внутреннего сгорания, выполненные в головке блока цилиндров, сообщенные с основной камерой сгорания соединительными каналами (см., например, патент США №4442807 кл. F 02 В 19/18, 1984 г., патент РФ №2099550 F 02 В 19/18, 1995 г.)
Недостатками таких форкамер являются высокая трудоемкость производства и технического обслуживания, а также невозможность использования на действующем и производимом парке автотехники, так как неизбежные изменения в конструкции двигателя потребуют вложения капитальных затрат на разработку конструкций его новых деталей и узлов, изменение технологии производства и дополнительное оборудование и техоснастку. Размещение известных форкамер в нижней части головки блока цилиндров существенно затрудняет их технологическое обслуживание и, при необходимости, демонтаж, так как потребует разборку двигателя автомобиля. Указанные недостатки затрудняют внедрение известных форкамер на действующем автопарке и выпускающихся автомобилях и решение в реальном времени задач повышения топливной экономичности автомобилей и экологических проблем в крупных городах и на автотрассах.
Эти недостатки устранены в форкамерах по патентам Великобритании №1261176, Кл. F 02 В 19/12, 1972 г. и РФ №2210677, F 02 В 19/18, 2001 г., смонтированными на внешней (наружной) части головки блока цилиндров и содержащими полость, сообщенную с основной камерой сгорания двигателя при помощи перепускного криволинейного канала. Известные форкамеры просты по конструкции, легко и быстро монтируемы и чрезвычайно дешевы в производстве и эксплуатации, а форкамера по патенту РФ №2210677 на испытаниях показала высокие результаты топливной экономичности и экологичности автомобильных двигателей.
Однако эти форкамеры применимы на двигателях с принудительным (искровым) зажиганием и не могут быть использованы на двигателях с воспламенением от сжатия горючей смеси (дизельных ДВС).
Известны топливные насосы дизельных двигателей с повышенным давлением впрыска топлива 70-100 МПа (70-100 атм), например ЯМЗ ТА 423, ТА 444, ТА 861. Такое увеличение давления впрыска топлива необходимо для лучшего его распыления в камерах сгорания новых двигателей, чтобы сжигать дизтопливо по критериям, удовлетворяющим требованиям экологических стандартов EURO-1, EURO-2 и EURO-3.
Однако такое повышение давления впрыска вызывает повышение мощности топливного насоса и его привода, что составляет 10-15% мощности ДВС, развиваемой автомобилем на крейсерской скорости движения (80 км/час). Такая высокая мощность привода топливного насоса обуславливает значительный дополнительный расход топлива, что ухудшает топливную экономичность ДВС, а экологические характеристики автомобиля остаются в существенной степени зависимы от надежности и эффективности работы форсунок и качества смесеобразования в цилиндре ДВС, которые в настоящее время еще очень низкие.
Целью настоящего изобретения является существенное улучшение топливной экономичности и экологичности ДВС с воспламенением от сжатия горючей смеси на основе простого и надежного технического решения.
Для этого известный двигатель с воспламенением от сжатия горючей смеси (например, ЯМЗ-238, КамАЗ-740 дизельные) согласно изобретению оснащается форкамерой, смонтированной на внешней (наружной) части головки блока цилиндров и содержащей полость, сообщенную с основной камерой сгорания при помощи перепускного криволинейного канала, выполненного в виде профилированного сопла Лаваля, выходной участок которого выходит в основную камеру сгорания, а полость форкамеры содержит распыливающую форсунку для впрыска топлива.
Установка форкамеры дизельного ДВС на внешней (наружной) части головки блока цилиндров обуславливает простоту ее конструкции и технического обслуживания, а также высокую доступность и оперативность реализации предложенного технического решения в реальном времени на действующих и новых автодвигателях. Установка в полости форкамеры распыливающей форсунки устраняет необходимость увеличения давления впрыска топливного насоса высокого давления (ТНВД) и оставить его на уровне 300-350 атм, т.к. после впрыска давление в полости форкамеры, после предварительного сгорания топливной смеси, может достигать более 1000 атм, что обусловлено геометрическими и конструктивно-прочностными характеристиками головки блока цилиндров и форкамеры. Выполнение перепускного канала в виде профилированного сопла Лаваля обеспечит наивысшую (сверхзвуковую) скорость истечения топливно-воздушной смеси в цилиндр двигателя и ее наилучшие дисперсность и распыление, что приведет к оптимальным параметрам смесеобразования и сгорания топлива и, как следствие, к снижению расхода топлива, токсичности выхлопных газов и высокому КПД двигателя автомобиля.
Компактная, легко и быстро монтируемая и демонтируемая конструкция форкамеры обеспечит простоту ее производства, эксплуатации и технического обслуживания, низкую себестоимость и доступность широкому потребителю, решение актуальных экологических проблем автотранспорта.
Предложенное техническое решение не известно из доступных источников информации уровня техники, из которого явным образом не следует для специалиста-двигателестроителя и промышленно легко осуществимо для производства форкамерно-факельных систем ДВС, то есть соответствует критериям патентоспособности.
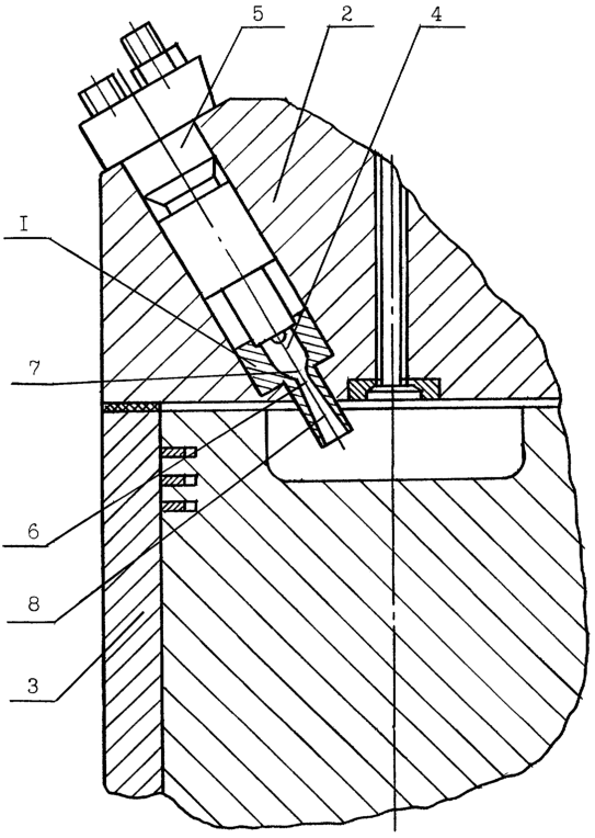
Сущность изобретения поясняется чертежом (фиг.1), который имеет чисто иллюстративное значение и не ограничивает объема прав совокупности существенных признаков формулы изобретения, где изображены: форкамера 1, смонтированная на наружной части головки 2 блока цилиндров 3, содержащая полость 4 с установленной распыливающей форсункой 5, перепускной канал 6, выполненный в виде профилированного сопла Лаваля с контуром, образованным плавной кривой и состоящим из входного 7 и выходного 8 участков.
По совокупности конструктивных признаков форкамера представляет собой импульсный реактивый двигатель, работающий в заторможенном (обращенном) режиме, в котором окислитель (воздух) подается через реактивное сопло.
Входной участок 7 перепускного канала 6 имеет образующую в виде гладкой кривой, форма которой может быть определена, например, по известному соотношению Витошинского, а контур выходного участка 8 может быть построен известным методом характеристик. Сопряжение образующих этих участков можно выполнить по дуге эллипса.
Устройство функционирует следующим образом. На такте сжатия ДВС сжатый воздух при Т700-900°С из основной камеры сгорания через перепускной канал 6 поступает в полость 4 форкамеры и заполняет ее. В момент впрыска из распылителя форсунки 5 в полость 4 впрыскивается распыленное топливо, где воспламеняется и частично сгорает, температура в полости форкамеры повышается до 1500-2000°С, а давление поднимается до величины более 1000 атм. Раскаленные продукты предварительного сгорания за счет сильного перепада давлений на входе и выходе перепускного канала 6 истекают со сверхзвуковой скоростью в основную камеру сгорания, где интенсивно перемешиваются со сжатым воздушным зарядом и эффективно догорают при наивысшей скорости сгорания топлива и максимальной полноте окисления топлива, обеспечивая повышенное давление на поршень и минимальную токсичность продуктов сгорания в цилиндре ДВС.
Ограниченное сообщение полости форкамеры 4 с объемом цилиндра ДВС за счет малого сечения перепускного канала 6 существенно снижает возможность коррозийного запирания отверстий распылителя форсунки 5 вследствие образования пускового конденсата или их закоксовывания от пригарания масляных брызг, что повышает надежность работы топливной аппаратуры ДВС.
Использование настоящего изобретения обеспечивает надежный пуск дизельного ДВС, устойчивость и мощность его работы на бедных топливно-воздушных смесях при снижении выхлопных газов в десятки раз и снижение скорости разрушения озонового слоя Земли, так как дизельные ДВС составляют более 50% единиц автотранспортной техники всех стран мира.
Формула изобретения
Форкамера двигателя внутреннего сгорания с воспламенением от сжатия, содержащая полость, сообщенную с основной камерой сгорания перепускным каналом, отличающаяся тем, что она смонтирована на наружней части головки блока цилиндров, содержит установленную в полости распыливающую форсунку и сообщена с основной камерой сгорания двигателя при помощи перепускного канала, выполненного в виде профилированного сопла Лаваля, причем входной участок перепускного канала имеет образующую в виде гладкой кривой, форма которой определяется по соотношению Витошинского, а сопряжение входного и выходного участков выполнено по дуге эллипса.
РИСУНКИ
MM4A – Досрочное прекращение действия патента СССР или патента Российской Федерации на изобретение из-за неуплаты в установленный срок пошлины за поддержание патента в силе
Дата прекращения действия патента: 18.02.2008
Извещение опубликовано: 10.12.2009 БИ: 34/2009
|
|