|
|
(21), (22) Заявка: 2004105323/06, 24.02.2004
(24) Дата начала отсчета срока действия патента:
24.02.2004
(43) Дата публикации заявки: 10.08.2005
(45) Опубликовано: 20.02.2006
(56) Список документов, цитированных в отчете о поиске:
DE 3806744 A1, 15.09.1988. FR 2621075 A1, 31.03.1989. DE 3915346 A1, 30.11.1989. GB 2349915 A, 15.11.2000. RU 30856 U1, 10.07.2003. SU 1353905 A1, 23.11.1987.
Адрес для переписки:
445633, Самарская обл., г. Тольятти, ул. Заставная, 2, корп.3/1, ОАО “АВТОВАЗ” ДТР, ПЛО, А.П. Голикову
|
(72) Автор(ы):
Чудинов Борис Анатольевич (RU), Габитов Равиль Рахимджанович (RU), Жестоков Павел Юрьевич (RU), Шепилов Юрий Николаевич (RU), Гааг Владимир Константинович (RU), Чернов Владимир Алексеевич (RU), Денисов Евгений Геннадьевич (RU)
(73) Патентообладатель(и):
Открытое акционерное общество “АВТОВАЗ” (RU)
|
(54) СИСТЕМА ВЫХЛОПА ОТРАБОТАВШИХ ГАЗОВ ДВИГАТЕЛЯ ВНУТРЕННЕГО СГОРАНИЯ
(57) Реферат:
Система выхлопа отработавших газов ДВС содержит, по крайней мере, один узел неразъемного соединения трубы выхлопного коллектора с фланцем ее крепления к элементу корпуса ДВС, причем фланец формообразован путем заливки в кокиле концевого участка трубы металлическим сплавом, температура плавления которого ниже температуры плавления материала трубы, коэффициент температурного расширения которого превышает коэффициент температурного расширения материала трубы, и коэффициент теплопередачи которого по крайней мере вдвое превышает коэффициент теплопередачи материала трубы. Фланец и сопрягаемый с ним элемент корпуса (например, головка цилиндра), выполнены из идентичного материала, преимущественно из алюминиевого и/или магниевого сплава. На конце залитого металлическим сплавом участка трубы сформирована наружная отбортовка, например, в виде конического раструба, входной срез которого совпадает с присоединительной плоскостью фланца. Либо конец залитого металлическим сплавом участка трубы снабжен кольцевой или конической отбортовкой, заглубленной внутрь фланца так, что входное отверстие во фланце совпадает с внутренним каналом трубы. Также концевой участок трубы выполнен из ряда ступенчато чередующихся коаксиальных участков различного наружного диаметра, при этом участок трубы с наименьшим наружным диаметром расположен со стороны фланца. Кроме того, концевой участок трубы выполнен коническим, таким образом, что толщина стенки трубы в зоне входного среза составляет 0,4…0,6 от толщины цилиндрической стенки трубы. Использование изобретения позволяет упростить конструкцию устройства и повысить надежность при эксплуатации. 6 з.п. ф-лы, 3 ил. 
Изобретение относится к машиностроению, преимущественно к двигателестроению, в частности к конструкции элементов системы выхлопа отработавших газов двигателя внутреннего сгорания (далее ДВС).
Известна система выхлопа отработавших газов, содержащая трубу с присоединительным фланцем (заявка DE №3832728, МКИ 4 F 01 N 7/18, 1989 г.), которая для крепления снабжена поверхностями лазерной сварки.
Преимущества сварного коллектора по сравнению с литым чугунным заключены в уменьшении металлоемкости ‘и, как следствие, более быстром нагреве выхлопных газов на входе в катализатор, что способствует повышению качества нейтрализации выхлопных газов. Однако данное устройство обладает рядом недостатков, а именно: наличие множества сварных швов и нетехнологичность сборки (изготовления) коллектора.
Известна также система выхлопа отработавших газов, содержащая выходную трубу с концевым фланцем, которая механически, путем пластической деформации, закреплена в отверстии концевого фланца (DE №3806744, МКИ 4 F 01 N 7/18, 1988 г.). Данное устройство обеспечивает герметичность соединения труб и фланца, экономически более эффективно, чем, например, соединение сваркой, особенно при массовом производстве Недостатком приведенной конструкции является увеличение числа деталей (дополнительных патрубков для увеличения жесткости и герметичности соединения), наличие больших температурных деформаций деталей коллектора (фланца, труб), приводящих к потере герметичности выпускного канала, прорывов газов. В значительной степени большие деформации вызваны неравномерным нагревом частей коллектора, ввиду как особенностей конструкции, так и разных скоростей нагрева и охлаждения труб и фланца.
Данное решение принято за прототип.
Изобретение направлено на упрощение конструкции устройства и повышение надежности при эксплуатации.
Решение поставленной технической задачи достигается путем изменения конструкции соединения концевого участка выходной трубы и фланца, и в конечном итоге, повышении прочности и герметичности соединения в рабочем диапазоне температур фланца от -40 до +300°С.
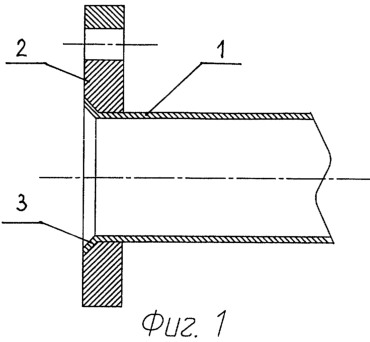
На фиг.1 изображен разрез неразъемного соединения выхлопного коллектора и фланца.
На фиг.2 – то же, что фиг.1, при котором входное отверстие во фланце совпадает с внутренним каналом выхлопного коллектора.
На фиг.3 – то же, что фиг.1, при котором концевой участок выхлопного коллектора выполнен коническим.
Сущность изобретения заключается в том, система выхлопа отработавших газов ДВС, содержит, по крайней мере, один узел неразъемного соединения трубы выхлопного коллектора 1 с фланцем 2 ее крепления к элементу корпуса ДВС (не показан), причем фланец формообразован путем заливки в кокиле концевого участка трубы 1 металлическим сплавом, температура плавления которого ниже температуры плавления материала трубы, коэффициент температурного расширения которого превышает коэффициент температурного расширения материала трубы, и коэффициент теплопередачи которого по крайней мере вдвое превышает коэффициент теплопередачи материала трубы. Фланец 2 и сопрягаемый с ним элемент корпуса (например, головка цилиндра), выполнены из идентичного материала, преимущественно из алюминиевого и/или магниевого сплава. На конце залитого металлическим сплавом участка трубы сформирована наружная отбортовка 3, например, в виде конического раструба, входной срез которого совпадает с присоединительной плоскостью фланца 2. Либо конец залитого металлическим сплавом участка трубы снабжен кольцевой или конической отбортовкой 4, заглубленной внутрь фланца 2 так, что входное отверстие во фланце 2 совпадает с внутренним каналом трубы 1. Также концевой участок трубы 1 выполнен из ряда ступенчато чередующихся коаксиальных участков различного наружного диаметра (фиг.3), при этом участок трубы 1 с наименьшим наружным диаметром расположен со стороны фланца 2. Кроме того, концевой участок трубы выполнен коническим, таким образом, что толщина стенки трубы в зоне входного среза составляет 0,4…0,6 от толщины цилиндрической стенки трубы.
Предложенное техническое решение промышленно применимо, поскольку оно может быть использовано промышленным способом в машиностроении, работоспособно, осуществимо и воспроизводимо. Осуществление изобретения по любому из пунктов формулы позволяет реализовать указанное назначение изобретения.
Изобретение позволяет упростить конструкцию устройства и повысить надежность при эксплуатации.
Формула изобретения
1. Система выхлопа отработавших газов ДВС, содержащая, по крайней мере, один узел неразъемного соединения трубы выхлопного коллектора с фланцем ее крепления к элементу корпуса ДВС, отличающаяся тем, что фланец формообразован путем заливки в кокиле концевого участка трубы металлическим сплавом, температура плавления которого ниже температуры плавления материала трубы, коэффициент температурного расширения которого превышает коэффициент температурного расширения материала трубы и коэффициент теплопередачи которого, по крайней мере, вдвое превышает коэффициент теплопередачи материала трубы.
2. Система выхлопа отработавших газов ДВС по п.1, отличающаяся тем, что фланец и сопрягаемый с ним элемент корпуса (например, головка цилиндра) выполнены из идентичного материала.
3. Система выхлопа отработавших газов ДВС по п.2, отличающаяся тем, что фланец выполнен из алюминиевого и/или магниевого сплава.
4. Система выхлопа отработавших газов ДВС по п.1, отличающаяся тем, что на конце залитого металлическим сплавом участка трубы сформирована наружная отбортовка, например, в виде конического раструба, входной срез которого совпадает с присоединительной плоскостью фланца.
5. Система выхлопа отработавших газов ДВС по п.4, отличающаяся тем, что конец залитого металлическим сплавом участка трубы снабжен кольцевой или конической отбортовкой, заглубленной внутрь фланца так, что входное отверстие во фланце совпадает с внутренним каналом трубы.
6. Система выхлопа отработавших газов ДВС по п.4, отличающаяся тем, что концевой участок трубы выполнен из ряда ступенчато чередующихся коаксиальных участков различного наружного диаметра, при этом участок трубы с наименьшим наружным диаметром расположен со стороны фланца.
7. Система выхлопа отработавших газов ДВС по п.4, отличающаяся тем, что концевой участок трубы выполнен коническим, таким образом, что толщина стенки трубы в зоне входного среза составляет 0,4-0,6 от толщины цилиндрической стенки трубы.
РИСУНКИ
MM4A Досрочное прекращение действия патента Российской Федерации на изобретение из-за неуплаты в установленный срок пошлины за поддержание патента в силе
Дата прекращения действия патента: 25.02.2006
Извещение опубликовано: 20.01.2007 БИ: 02/2007
|
|