|
|
(21), (22) Заявка: 2003103197/06, 03.02.2003
(24) Дата начала отсчета срока действия патента:
03.02.2003
(43) Дата публикации заявки: 20.09.2004
(45) Опубликовано: 20.02.2006
(56) Список документов, цитированных в отчете о поиске:
RU 2125166 C1, 20.01.1999. RU 2068115 C1, 20.10.1996. RU 2149268 C1, 20.05.2000. SU 1068603 А, 23.01.1984. WO 02/090730 А1, 14.11.2002. DE 3002098 A1, 23.07.1981. DE 2928281 А1, 29.01.1981.
Адрес для переписки:
440028, г. Пенза, ул.Г.Титова, 28, ПГАСА, пат. отд.
|
(72) Автор(ы):
Салмин Владимир Васильевич (RU)
(73) Патентообладатель(и):
Пензенская государственная архитектурно-строительная академия (RU)
|
(54) СИСТЕМА СМАЗКИ ДВС С ТЕРМОАККУМУЛЯТОРОМ
(57) Реферат:
Изобретение относится к двигателестроению и может быть использовано в системах смазки ДВС. Система смазки содержит масляный картер, маслозаборник, масляный насос, гидромуфту, обратные клапаны, гидроаккумулятор, электромагнитный клапан, регулятор температуры, датчик температуры, масляный фильтр, масляный радиатор, клапан-термостат, главную масляную магистраль, датчик давления и регулятор давления, термоаккумулятор с теплоизолированным корпусом, выхлопную трубу и змеевик внутри рабочего тела термоаккумулятора, управляемый регулятором температуры посредством электромагнитного клапана и заслонки с исполнительным механизмом, расположенным в рабочем теле термоаккумулятора. Изобретение позволяет облегчить регулирование теплового режима ДВС в условиях низких температур. 1 ил. 
Изобретение относится к двигателестроению и может быть использовано в системах смазки ДВС.
Уровень техники
Известны: устройство (А.С. СССР №1346053, МКИ4 F 01 М 5/02, F 02 М 31/12, 31/14), содержащее теплообменник, работающий на охлаждающей жидкости двигателя, или на отработавших газах, или от автономного электронагревателя, подключенный к ответвлению подающего трубопровода двигателя через циркулирующий насос, который включается при температуре масла ниже оптимальной; и устройство (А.С. СССР №1229388, МКИ4 F 01 М 5/00), содержащее теплообменник, одна из секций которого размещена во внутреннем объеме топливного бака, а другая выполнена в виде каналов в стенках бака, причем секции подключены к напорному трубопроводу, снабженному перепускным клапаном, последний управляется термодатчиком через автоматический регулятор.
Недостатком этих устройства является отсутствие предпускового разогрева масла.
Известно устройство (А.С. СССР №1563299, F 01 М 1/20, 1988), содержащее: емкость с охлаждающей жидкостью, находящейся между внутренними стенками поддона и наружными стенками емкости с моторным маслом; эластичный патрубок, соединяющий нижний бачок радиатора с емкостью; эластичный патрубок, соединяющий емкость с всасывающей полостью насоса системы охлаждения; эластичную температуро-маслостойкую втулку гофрированной формы; лопасти вентилятора; водяной радиатор; эластичный патрубок для обеспечения циркуляции охлаждающей жидкости по малому кругу; рубашку системы охлаждения; распределительную трубу; клапан-термостат, обеспечивающий циркуляцию жидкости по малому и большому кругу; расширительный бачок; жалюзи и др.
Недостатком является сложность конструкции масляного картера, наличие механического зависимого привода водяного насоса и вентилятора, сложность и ненадежность герметизации соединений масляного картера и нижнего бочка. Значительная продолжительность времени предпускового разогрева и невозможность использования данной конструкции для регулирования теплового режима работы ДВС в условиях эксплуатации.
Известным устройством, наиболее близким по техническому решению к предлагаемому является система смазки ДВС (Патент РФ №2125166, F 01 М 5/00, 1999), содержащая маслозаборник из картера двигателя, масляный фильтр тонкой очистки, соединенный с масляным насосом через обратный клапан и гидромуфту, а также содержит клапан давления, гидроаккумулятор, необходимый для подачи, нагрева и охлаждения моторного масла, представляющий собой теплообменный аппарат, оребренная поверхность которого омывается отработавшими газами или воздухом, поступающим через исполнительный механизм, управляемый блоком сопротивлений в зависимости от частоты вращения коленчатого вала ДВС.
Недостатком прототипа является то, что теплообменный аппарат не может выполнять роль термоаккумулятора, а следовательно, не может использоваться как предпусковой подогреватель масла.
Целью изобретения является облегчение пуска двигателя и регулирование теплового режима ДВС в условиях низких температур эксплуатации, а также повышение надежности работы двигателя.
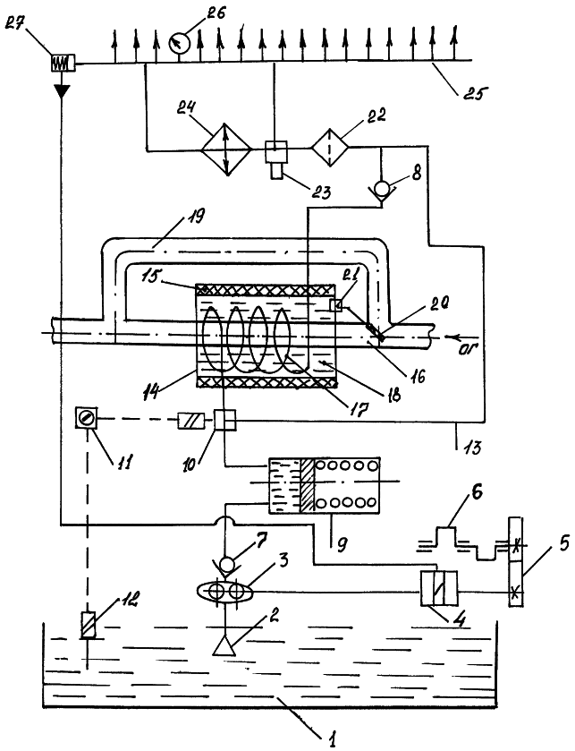
Система смазки состоит (чертеж) из масляного картера 1, маслозаборника 2, масляного насоса 3, имеющего привод через гидромуфту 4 от шестерен распределения 5 и коленчатого вала 6, обратных клапанов 7 и 8, гидроаккумулятора 9, электромагнитного клапана 10, регулятора температуры 11, датчика температуры 12, обводного канала 13, термоаккумулятора 14, состоящего из корпуса с теплоизоляцией 15, внутри которого проходит выхлопная труба 16 и змеевик 17, расположенный в рабочем теле 18 термоаккумулятора.
Система также состоит из обводного газопровода 19, заслонки 20, работой которой управляет исполнительный механизм 21, расположенный в рабочем теле термоаккумулятора масляного фильтра 22, клапана-термостата 23, масляного радиатора с изменяемой площадью поверхности 24, главной масляной магистрали (ГММ) 25, датчика давления масла 26, регулятора давления 27.
Система смазки работает следующим образом. В момент пуска двигателя из гидроаккумулятора 9 через электромагнитный клапан 10, который открывается в момент пуска двигателя с помощью регулятора температуры 11, получающего управляющий сигнал от датчика температуры 12, масло подается в змеевик 17. Холодное масло, попадая в змеевик 17, нагревается от горячего рабочего тела 18 термоаккумулятора 14 и, пройдя через обратный клапан 8, поступает в масляный фильтр 22, а затем через закрытый клапан-термостат 23 в главную масляную магистраль 25, обеспечивая предпусковую прокачку подогретым маслом трущихся узлов двигателя.
После запуска двигателя коленчатый вал 6 посредством шестерен распределения 5 передает вращение через гидромуфту 4 масляному насосу 3. Масляный насос 3 закачивает масло через маслозаборник 2 из масляного картера 1 и подает его через обратный клапан 7 в гидроаккумулятор 9, заряжая его. Масло, попадая в змеевик 17, нагревается от горячего рабочего тела 18 термоаккумулятора 14 и, пройдя через обратный клапан 8, поступает в масляный фильтр 22, а затем через закрытый клапан-термостат 23 в главную масляную магистраль 25, обеспечивая быстрый прогрев масла до нормальной температуры (80°С).
Нагрев рабочего тела 18 в термоаккумуляторе 14 осуществляется отработавшими газами. В период прогрева двигателя обводной газопровод 19 перекрыт заслонкой 20 работой, которой управляет исполнительный механизм 21. Отработавшие газы проходят через выхлопную трубу 16 и разогревают рабочее тело 18 термоаккумулятора. В результате нагрева рабочего тела 18 в термоаккумуляторе 14 повышается давление. При достижении давления рабочим телом 18 в термоаккумуляторе 14 заданной величины исполнительный механизм 21 перекрывает с помощью заслонки 20 выхлопную трубу 16 и направляет поток отработавших газов в обводной газопровод 19, прекращая разогрев рабочего тела 18. При этом термоаккумулятор 14 будет закрыт, а корпус с теплоизоляцией 15 будет сохранять накопленную энергию рабочего тела 18 в течение 16 часов до следующего запуска холодного двигателя.
В период эксплуатации двигателя, когда температура масла достигает нормального значения (80°С), датчик температуры 12 подает сигнал регулятору температуры 11. Регулятор температуры 11 передает управляющий сигнал на электромагнитный клапан 10, который производит переключение потока масла из гидроаккумулятора 9 в обводной канал 13, из которого масло поступает в масляный фильтр 22, а затем через закрытый клапан-термостат 23 в главную масляную магистраль 25, обеспечивая подогретым маслом трущиеся узлы двигателя.
При эксплуатации двигателя в случае перегрева масла клапан-термостат 23 открывается и подает поток масла из масляного фильтра 22 в масляный радиатор с изменяемой площадью поверхности 24, который в зависимости от величины перегрева масла автоматически изменяет величину поверхности теплообмена и обеспечивает быстрое выравнивание температуры масла до нормального значения. После чего масло из масляного радиатора 24 поступает в главную масляную магистраль 25.
В ходе эксплуатации двигателя контроль за давлением в системе смазки осуществляется автоматически с помощью датчика давления 26, который передает сигнал на регулятор давления 27. При этом регулятор давления 27 (в случае понижения давления в главной масляной магистрали 25) перекрывает канал подачи масла к гидромуфте 4, что приводит к автоматическому подключению постоянно вращающихся шестерен распределения 5 через включенную гидромуфту 4 к масляному насосу 3. Масляный насос 3 обеспечивает подзарядку гидроаккумулятора 9 и выравнивание давления в ГММ 25 до давления, заданного регулятором 27. В случае превышения давления в ГММ 25 регулятор давления 27 открывает канал подачи масла к гидромуфте 4, что приводит к автоматическому выключению гидромуфты 4 и отключению постоянно вращающихся шестерен распределения 5 от масляного насоса 3. Масляный насос 3 прекращает подзарядку гидроаккумулятора 9 и обеспечивает понижение давления в ГММ 25 до заданного регулятором 27.
При остановке двигателя термоаккумулятор 14 закрывается посредством отключения электромагнитного клапана 10 и закрытия заслонки 20, а корпус с теплоизоляцией 15 сохраняет накопленную энергию рабочего тела 18 до следующего запуска холодного двигателя.
Формула изобретения
Система смазки, содержащая масляный картер, маслозаборник, масляный насос, гидромуфту, обратные клапаны, гидроаккумулятор, электромагнитный клапан, регулятор температуры, датчик температуры, масляный фильтр, масляный радиатор, клапан-термостат, главную масляную магистраль, датчик давления, регулятор давления, отличающаяся тем, что дополнительно содержит термоаккумулятор с теплоизолированным корпусом, выхлопную трубу и змеевик внутри рабочего тела термоаккумулятора, управляемый регулятором температуры посредством электромагнитного клапана и заслонки с исполнительным механизмом, расположенным в рабочем теле термоаккумулятора.
РИСУНКИ
MM4A Досрочное прекращение действия патента Российской Федерации на изобретение из-за неуплаты в установленный срок пошлины за поддержание патента в силе
Извещение опубликовано: 27.10.2006 БИ: 30/2006
|
|