|
(21), (22) Заявка: 2003102893/06, 28.06.2001
(24) Дата начала отсчета срока действия патента:
28.06.2001
(30) Конвенционный приоритет:
03.07.2000 IT MI2000A001492
(43) Дата публикации заявки: 10.08.2004
(45) Опубликовано: 20.02.2006
(56) Список документов, цитированных в отчете о поиске:
GB 2185544 A, 22.07.1987. RU 2146006 C1, 27.02.2000. GB 689270 A, 25.03.1953. US 3939651 А, 24.02.1976. US 4353679 A, 12.10.1982. SU 1777407 A1, 20.05.1995. FR 2777318 A, 15.10.1999.
(85) Дата перевода заявки PCT на национальную фазу:
03.02.2003
(86) Заявка PCT:
EP 01/07413 (28.06.2001)
(87) Публикация PCT:
WO 02/02911 (10.01.2002)
Адрес для переписки:
129010, Москва, ул. Б.Спасская, 25, стр.3, ООО “Юридическая фирма Городисский и Партнеры”, пат.пов. С.А.Дорофееву
|
(72) Автор(ы):
ФРОЗИНИ Франко (IT), МЕЙ Лучано (IT)
(73) Патентообладатель(и):
НУОВО ПИНЬОНЕ ХОЛДИНГ С.П.А. (IT)
|
(54) СОЕДИНИТЕЛЬНОЕ УСТРОЙСТВО ДЛЯ ПЕРЕХОДНОГО КАНАЛА В ГАЗОВОЙ ТУРБИНЕ
(57) Реферат:
Устройство для соединения сопла низкого давления с переходным каналом в газовой турбине содержит сопла низкого давления, расположенные в секторах, состоящих из двух или трех лопаток статора, и установленные в кольцо сопла низкого давления. Платформы этих сопел низкого давления имеют, по меньшей мере, один канал, внутрь которого устанавливают переходный канал при помощи кромки, причем переходный канал поддерживается платформами сопел низкого давления. Центрирование между переходным каналом и кольцом сопел низкого давления обеспечивается центрирующим средством, действующим в трех или более точках кольца сопел. Изобретение позволяет упростить установку устройства в газовой турбине, а также предотвратить передачу тепла наружному корпусу. 9 з.п. ф-лы, 4 ил. 
Настоящее изобретение относится к устройству для соединения сопла низкого давления с переходным каналом, которые формируют часть газовой турбины.
Кроме того, настоящее изобретение относится к соплу низкого давления, которое формирует часть газовой турбины.
Как известно, газовые турбины содержат компрессор, в который подается окружающий воздух и затем сжимается.
Сжатый воздух проходит через серию камер сгорания, заканчивающихся соплом, в каждую из которых форсунка подает топливо, которое смешивается с воздухом для формирования топливовоздушной смеси для сгорания.
Газообразные продукты сгорания затем направляются в турбину, которая преобразует теплосодержание газов, являющихся продуктом сгорания в камере сгорания, в механическую энергию, поставляемую пользователю.
Двухвальные газовые турбины имеют газогенератор и силовую турбину с независимыми валами, которые вращаются с разными скоростями.
Силовой ротор состоит из вала, который на одном конце несет диски турбины низкого давления и на другом конце – опорный фланец.
Энергия горячих газов, генерируемых в газогенераторе, должна преобразовываться в энергию, поставляемую пользователю турбиной низкого давления.
Сопла низкого давления ускоряют и направляют горячие газы в направлении лопаток ротора, передавая полезную мощность валу турбины.
Для того, чтобы поддерживать корпус газовой турбины при возможно низкой температуре, сопла статора, через которые проходят горячие газы, прикреплены не непосредственно к корпусу статора, а вместо этого расположены в секторах, причем каждый сектор состоит из двух или трех сопел, и они изолированы от корпуса статора разделителями, выполненными из материала с низкой теплопроводностью.
Здесь следует отметить, что переходный канал является соединительным компонентом между зоной расположения лопаток ступени высокого давления и соплами низкого давления.
В частности, переходный канал в целом состоит из двух концентрических цилиндров, центральное сечение которых может иметь разные конфигурации для получения необходимого потока горячих газов.
Горячие газы должны проходить так, чтобы минимизировать механические и тепловые потери. Горячие газы имеют очень высокие температуры и, таким образом, стенки переходного канала должны быть способными выдерживать эти условия и поддерживать их конструктивную целостность.
Кроме того, уплотнение между переходным каналом и соплами низкого давления является важной переменной для обеспечения производительности двигателя и для поддержания целостности внешнего корпуса газовой турбины.
Для содействия пониманию технических проблем, разрешаемых изобретением, теперь следует сослаться на указанный ниже известный уровень техники.
Переходные каналы существующих турбин могут подразделяться на две категории: переходные каналы большой толщины (которые разделены на сегменты) и переходные каналы малой толщины (которые являются деталями протяженностью 360°).
Согласно обоим решениям корпуса и сопла низкого давления могут легко поддерживать внешние стенки.
Главная проблема, которая должна быть решена, состоит в правильном поддерживании внутренней стенки, которая в целом обращена к задней стороне ротора высокого давления.
Таким образом, внутренняя стенка может поддерживаться только наружной стенкой с использованием профильных стоек, или соединительных кронштейнов, или выступов, которые отступают от платформы сопел низкого давления.
Первое решение особенно предпочтительно, если осевая длина переходного канала значительна, поскольку внутреннюю стенку трудно удерживать только за один конец.
Однако стойки и соединительные кронштейны могут вызывать механические потери и имеют непростую конструкцию, в частности, из-за высоких температур газов, которые проходят по переходным каналам.
Эти высокие температуры могут приводить к случаям “термической усталости”, которые могут вызывать поломки различных компонентов и, таким образом, существенно ограничивать их срок службы и их стойкость к термической усталости.
В любом случае осевая длина переходного канала может быть минимизирована только посредством увеличения осевой длины площадки сопел низкого давления таким образом, чтобы в некоторых вариантах применения переходный канал был включен в удлиненные площадки сопел низкого давления.
Это техническое решение показано на фиг.1 как пример устройства известного уровня техники.
В частности, на фиг.1 показан узел, обозначенный в целом ссылочным номером 20, содержащий переходный канал 21, соединенный с удлиненной платформой 22 сопел 23 низкого давления. Также показан соединительный кронштейн 24.
Сегментированные внутренние стенки могут также удерживаться внутренней структурой, которая защищена от горячих газов, и подвергаются воздействию весовых нагрузок и перепадов давлений.
Согласно известному уровню техники сегментированные переходные каналы обычно используют для высокопроизводительных двигателей с разделенными по горизонтали корпусами вблизи (тонкостенных) переходных каналов протяженностью 360°, которые распространены в авиационных турбинах.
Задачей настоящего изобретения, таким образом, является получение устройства для соединения сопла низкого давления с переходным каналом в газовой турбине, которое дает возможность предотвращать теплопередачу наружному корпусу через само центрирующее устройство.
Другой задачей изобретения является получение устройства для соединения сопла низкого давления с переходным каналом в газовой турбине, которое устраняет необходимость использования стоек или соединительных кронштейнов для его удерживания и центрирования.
Еще одной задачей настоящего изобретения является получение устройства для соединения сопла низкого давления с переходным каналом в газовой турбине, причем устройство устанавливается просто и надежно.
Другой задачей настоящего изобретения является получение устройства для соединения сопла низкого давления с переходным каналом в газовой турбине, которое надежно, при этом принимая во внимание оптимизацию характеристик двигателя, и которое экономически жизнеспособно.
Эти и другие задачи решены с созданием устройства для соединения сопла низкого давления с переходным каналом в газовой турбине, в котором сопла низкого давления расположены в секторах из двух или трех лопаток статора и установлены в кольцо сопел низкого давления, отличающегося тем, что платформы сопел низкого давления имеют, по меньшей мере, один канал, внутрь которого установлен переходный канал при помощи кромки, и тем, что центрирование между переходным каналом и кольцом сопел низкого давления непосредственно достигнуто при помощи центрирующих средств, действующих в трех или более точках кольца сопел низкого давления.
В предпочтительном варианте осуществления изобретения центрирующее средство переходного канала состоит, по меньшей мере, из трех замков, которые посажены между соплами низкого давления и переходным каналом. Переходный канал имеет три выреза, причем каждый из вырезов соответствует одному из трех вырезов, относящихся к трем секторам сопел низкого давления, и в целом они имеют такие размеры, чтобы удерживать замки на месте.
Более конкретно, три замка могут быть расположены в трех разнесенных на 120° точках для обеспечения равномерного удерживания переходного канала.
В другом предпочтительном варианте осуществления настоящего изобретения секторы сопел низкого давления непосредственно содержат указанные выше замки в их платформе.
В другом предпочтительном варианте осуществления изобретения поддерживать переходный канал и задавать ему правильное осевое положение может канал кольца сопел низкого давления.
В другом предпочтительном варианте осуществления изобретения переходный канал имеет замки, установленные в него или включенные в его конструкцию, и сопло низкого давления только имеет вырез для соответствующего замка.
В другом предпочтительном варианте осуществления изобретения, по меньшей мере, три точки на кромке переходного канала имеют заданный зазор относительно канала сопла низкого давления.
Кроме того, заданный зазор равен разности тепловых расширений, испытываемых переходным каналом и соплом низкого давления, при этом зазор равен нулю в установившемся состоянии таким образом, что это обеспечивает центрирование переходного канала газовой турбины каналом, при этом кромка формирует уплотнение для горячих газов турбины.
Наконец, изобретение также относится к соплу низкого давления, которое формирует часть газовой турбины и имеет секторы с двумя или тремя лопатками статора, отличающемуся тем, что его платформа имеет, по меньшей мере, один канал, внутрь которого устанавливается переходный канал при помощи кромки, и в котором центрирование между переходным каналом и кольцом сопел низкого давления непосредственно достигается при помощи центрирующего средства, действующего в трех или более точках на кольце сопел низкого давления.
Другие признаки изобретения описаны в прилагаемой формуле изобретения.
Другие задачи и преимущества изобретения и его конструктивные и функциональные признаки будут понятны при ознакомлении с нижеследующим описанием и прилагаемыми чертежами, которые даны для иллюстрации и не ограничивают объем изобретения, и на которых:
фиг.1 изображает вид сечения детали двухвальной турбины, показывающий переходный канал известного уровня техники;
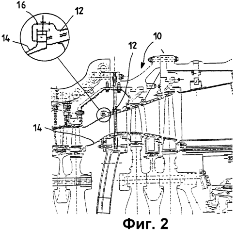
фиг.2 изображает вид сечения детали двухвальной турбины, показывающий устройство для соединения сопла низкого давления с переходным каналом, соответствующее настоящему изобретению;
фиг.3 изображает перспективный вид устройства для соединения сопла низкого давления с переходным каналом, соответствующего изобретению;
фиг.4 изображает вид сечения устройства для соединения сопла низкого давления с переходным каналом, соответствующего настоящему изобретению.
На указанных чертежах ссылочным номером 10 обозначено в целом устройство для соединения сопла низкого давления с переходным каналом в газовой турбине, соответствующее настоящему изобретению.
В частности, платформы 11 сопел 12 низкого давления имеют канал 13, в который установлен переходный канал 14 при помощи кромки 15.
Сопла 12 расположены в секторах из двух или трех лопаток статора и смонтированы в кольце сопел низкого давления.
Таким образом, они могут легко устанавливаться на кромку 15 переходного канала 14, чтобы формировать уплотнение и соединение между этими компонентами.
Кроме того, канал 13 сопел 12 низкого давления удерживает переходный канал 14, а также задает правильное осевое положение переходного канала 14.
Особенно важным новым признаком является средство для центрирования переходного канала 14 и сопел 12 низкого давления.
Как можно было видеть, в газовых турбинах известного уровня техники это центрирование достигалось благодаря использованию наружного корпуса газовой турбины.
Усовершенствование, соответствующее настоящему изобретению, состоит в непосредственном центрировании переходного канала 14 относительно сопел 12 низкого давления.
Это обеспечивает существенное преимущество, заключающееся в исключении теплопередачи наружному корпусу через центрирующее средство.
Материал, из которого выполнен наружный корпус, не приспособлен к высоким температурам, и это новое техническое решение исключает окисление, деформацию или потерю уплотнения из-за высокой локальной температуры, которая могла бы возникать в наружном корпусе.
Устройство, соответствующее настоящему изобретению, собирают с использованием, по меньшей мере, трех замков 16 между соплами 12 низкого давления и переходным каналом 14.
Каждый замок 16 имеет цилиндрическую часть 30 с центральным отверстием 32 и квадратную часть 31.
Переходный канал 14 имеет три выреза 17, и три соответствующих сектора сопел низкого давления имеют другой вырез 18 или непосредственно содержат замки 16 в их платформе 11.
Полученное устройство всегда отцентрировано, поскольку переходный канал 14 проходит вдоль замков 16 и может быть только соосным с кольцом сопел 12 низкого давления и со ступенью сопел 12, что, таким образом, устраняет указанные выше проблемы известного уровня техники.
Более конкретно, три замка 16 расположены в трех разнесенных на 120° точках таким образом, чтобы обеспечивать равномерное удерживание переходного канала 14.
В альтернативном варианте переходный канал 14 может иметь замки 16, посаженные в него или включенные в его конструкцию, и сопло 12 низкого давления может иметь только вырез 18 для соответствующего замка 16.
Другое техническое решение, которое можно рассматривать, состоит в применении, по меньшей мере, трех точек на кромке 11 переходного канала 14, которые имеют заданный зазор относительно канала 13 сопла 12 низкого давления.
Этот заданный зазор равен разности тепловых расширений, которые испытывают переходный канал 14 и сопло 12 низкого давления, таким образом, что зазор равен нулю в установившемся состоянии.
Это явление, очевидно, обеспечивает центрирование переходного канала 14 относительно канала 13, тогда как кромка 11 формирует уплотнение для горячих газов турбины.
Наконец, компоненты описанного выше устройства для соединения сопла низкого давления с переходным каналом в газовой турбине, соответствующего настоящему изобретению, имеют следующие важные конструктивные и функциональные признаки.
Во-первых, переходный канал 14 является деталью протяженностью 360° с тонкими стенками; во-вторых, переходный канал 14 не имеет стоек или соединительных кронштейнов; наконец, переходный канал 14 удерживается платформами 11, соединенными с соплами 12 низкого давления.
При ознакомлении с приведенным описанием очевидны отличительные признаки, а также преимущества устройства для соединения сопла низкого давления с переходным каналом, которое является объектом настоящего изобретения.
Желательно изложить здесь следующие заключительные соображения и наблюдения для более точного и ясного определения указанных выше преимуществ.
Было разработано, таким образом, новое техническое решение указанных выше проблем для осуществления в новой турбине.
Осевая длина переходного канала была уменьшена, и разработаны новые переходные каналы и новые соединения с соплами низкого давления.
Очевидно, что в новое устройство для соединения сопла низкого давления с переходным каналом в газовой турбине, являющееся объектом настоящего изобретения, могут быть внесены многие изменения без отхода от новых принципов, содержащихся в показанном замысле.
Очевидно, что настоящее изобретение также относится к описанному выше соответствующему соплу низкого давления с его устройством для соединения с переходным каналом газовой турбины.
Наконец, очевидно, что при практическом использовании настоящего изобретения материалы, конфигурации и размеры показанных деталей могут быть любыми в зависимости от потребностей, и они могут быть заменены другими вариантами деталей, которые эквивалентны с технической точки зрения.
Объем изобретения определен прилагаемой формулой изобретения.
Формула изобретения
1. Устройство для соединения сопла низкого давления с переходным каналом в газовой турбине, в которой сопла низкого давления расположены в секторах, состоящих из двух или трех лопаток статора, и установлены в кольцо сопел низкого давления, отличающееся тем, что платформы этих сопел низкого давления имеют, по меньшей мере, один канал, внутрь которого устанавливают переходный канал при помощи кромки, при этом центрирование между переходным каналом и кольцом сопел низкого давления обеспечивается непосредственно центрирующим средством, действующим в трех или более точках кольца сопел низкого давления, причем переходный канал поддерживается платформами сопел низкого давления.
2. Устройство по п.1, отличающееся тем, что центрирующее средство переходного канала состоит, по меньшей мере, из трех замков, посаженных между соплами низкого давления и переходным каналом.
3. Устройство по п.1 или 2, отличающееся тем, что переходный канал имеет три выреза, причем каждый из вырезов соответствует одному из трех вырезов, формирующих часть трех секторов сопел низкого давления таким образом, чтобы удерживать три замка на месте.
4. Устройство по п.3, отличающееся тем, что три замка расположены в трех разнесенных на 120° точках так, чтобы обеспечивать равномерное поддерживание переходного канала.
5. Устройство по п.1 или 2, отличающееся тем, что секторы сопел низкого давления непосредственно содержат замки в их платформе.
6. Устройство по п.1 или 2, отличающееся тем, что канал кольца сопел низкого давления способен поддерживать переходный канал и задает его правильное осевое положение.
7. Устройство по п.1 или 2, отличающееся тем, что переходный канал имеет замки, посаженные в него или включенные в конструкцию, и сопло низкого давления имеет только вырез для соответствующего замка.
8. Устройство по п.1 или 2, отличающееся тем, что, по меньшей мере, три точки кромки переходного канала имеют заданный зазор относительно канала сопла низкого давления.
9. Устройство по п.8, отличающееся тем, что заданный зазор равен разности тепловых расширений, испытываемых переходным каналом и соплом низкого давления, таким образом, что зазор равен нулю в установившемся состоянии, чтобы обеспечивать центрирование переходного канала относительно канала, тогда как кромка формирует уплотнение для горячих газов турбины.
10. Устройство по любому из предшествующих пунктов, отличающееся тем, что переходный канал является деталью протяженностью 360°, снабженной тонкими стенками.
РИСУНКИ
|