|
|
(21), (22) Заявка: 2003138096/06, 30.12.2003
(24) Дата начала отсчета срока действия патента:
30.12.2003
(43) Дата публикации заявки: 10.06.2005
(45) Опубликовано: 20.02.2006
(56) Список документов, цитированных в отчете о поиске:
FR 2318306 A, 11.02.1977. RU 2144985 C1, 27.01.2000. SU 877129 A, 05.11.1981. RU 2012823 C1, 15.05.1994. US 2727465 A, 20.12.1955. DE 4325166 A1, 09.02.1995.
Адрес для переписки:
192288, Санкт-Петербург, ул. М. Бухарестская, 3, кв.81, Д.Д. Ямпольскому
|
(72) Автор(ы):
Ямпольский Даниил Давыдович (RU)
(73) Патентообладатель(и):
Ямпольский Даниил Давыдович (RU)
|
(54) СФЕРИЧЕСКАЯ РОТОРНАЯ МАШИНА С ТОРОИДАЛЬНЫМИ ПОРШНЯМИ
(57) Реферат:
Изобретение может быть использовано в качестве реверсивного гидравлического или пневматического привода, паровой машины или насоса, а также в качестве двигателя внутреннего сгорания. Роторная машина содержит сферический корпус с входными и выпускными каналами, ротор и два выходных вала, оси которых пересекаются под углом в центре сферы. Ротор выполнен в виде сферы, из которой в двух взаимно перпендикулярных центральных плоскостях вырезаны симметричные относительно общей оси, совпадающей с линией пересечения указанных плоскостей, непересекающиеся тороидальные пазы. В пазах располагаются соответствующие им по форме тороидальные поршни, образующие вместе с торцами пазов ротора и внутренней сферической поверхностью корпуса четыре тороидальных рабочих объема, имеющих возможность пульсации при вращении выходных валов, осесимметрично соединенных с поршнями. Уменьшаются удельные механические нагрузки в элементах, передающих крутящий момент, увеличивается эффективность уплотнений между рабочими объемами. 5 ил.

Изобретение относится к тем областям техники, где применяются различные машины, работающие по принципу изменения объема некоторой активной (например, расширяющийся газ) или пассивной (например, жидкость) среды. Примерами таких машин являются компрессоры, гидроприводы, пневматические приводы, двигатели внутреннего сгорания, паровые машины. В широко распространенном подклассе таких машин рабочими элементами являются, например поршни, движущиеся возвратно – поступательно в цилиндрах. Это движение каким-либо механизмом, например кривошипно-шатунным, преобразуется во вращение выходного вала. Характерной их особенностью являются значительные знакопеременные инерционные нагрузки и малое отношение величины рабочего объема к габариту. Однако их достоинством является то, что поверхности соприкосновения рабочих элементов (поршня и цилиндра) имеют равную кривизну, что определяет простоту конструктивных решений уплотнений рабочих объемов. Другим подклассом таких машин являются роторные машины, в которых периодическое изменение рабочего объема происходит при непрерывном комбинированном вращении ротора специальной формы, непрерывно скользящего своими выступами по стенкам трохоидального цилиндра. При этом также образуются несколько изменяющихся рабочих объемов, что может быть использовано для создания, например, двигателя внутреннего сгорания (ДВС). Такие двигатели созданы несколько десятилетий тому назад и применяются серийно (например, двигатель Ванкеля). Существуют и другие конструктивные схемы такого типа (например, двигатель Веселовского), но всех их объединяет наличие проблем, связанных с необходимостью обеспечить эффективное уплотнение находящихся под высоким давлением рабочих объемов, образованных скользящими друг по другу поверхностями, имеющими различную кривизну. Известны конструктивные решения, в которых одинаковая кривизна соприкасающихся поверхностей рабочих объемов достигается применением лопаток, вращающихся относительно оси цилиндра и соприкасающихся с ее образующими (например, US 6550442 B2, 22.04.2003, F 02 B 53/00). Эти лопатки имеют сложное движение относительно эксцентричного ротора, поэтому конструкция элементов уплотнения в местах взаимного пересечения лопаток и ротора получается достаточно громоздкой Все сказанное выше относится ко всем устройствам (ДВС, компрессорам, насосам, приводам), сконструированным на базе этих машин.
Известны также (например, FR 2318306 А, 11.02.1977, F 02 В 53/02, RU 2144985 С1, 27.11.2000, F 01 С 3/00) конструкции роторных машин объемного вытеснения, состоящих из трех роторов, заключенных в корпус со сферической полостью и имеющих внешние сферические поверхности, прилегающие к этой полости. При этом крайние роторы имеют форму, близкую к форме апельсиновой дольки (onglet), и соединяются ортогонально расположенными диаметральными шарнирами с центральным ротором, имеющим форму фигурно изогнутой шайбы с периферийной сферической поверхностью, прилегающей к полости корпуса. Движение системы происходит при вращении запрессованных в крайние роторы по их осям симметрии валов, оси которых пересекаются в центре сферы под углом друг к другу. Несферические поверхности роторов соприкасаются друг с другом по поверхностям шарниров и образуют четыре рабочих объема, которые используются в зависимости от назначения роторной машины. Конструкция по FR 2318306 А принимается в качестве ближайшею аналога.
Недостатками данного конструктивного решения является наличие значительных механических напряжений в диаметральных шарнирах и малая площадь поверхности взаимного касания роторов, что определяет трудности обеспечения уплотнения между рабочими объемами и достаточной прочности механизма.
Техническая задача, решаемая данным изобретением, состоит в уменьшении удельных механических нагрузок в элементах, передающих крутящий момент роторной машины, и увеличение эффективности уплотнений между рабочими объемами.
Указанная задача решается в роторной машине объемного вытеснения, содержащей сферический корпус с входными и выпускными каналами, ротор и два выходных вала, оси которых пересекаются под углом в центре сферы, согласно изобретению, ротор выполнен в виде сферы, из которой в двух взаимно перпендикулярных центральных плоскостях вырезаны симметричные относительно общей оси, совпадающей с линией пересечения указанных плоскостей, непересекающиеся тороидальные пазы, в которых располагаются соответствующие им по форме тороидальные поршни, образующие вместе с торцами пазов ротора и внутренней сферической поверхностью корпуса четыре тороидальных рабочих объема, имеющих возможность пульсации при вращении выходных валов, осесимметрично соединенных с поршнями.
Изобретение поясняется чертежами:
Фиг.1. Роторная машина. Вариант: 4-тактный ДВС. Разрез.
Фиг.2. Ротор. Общий вид.
Фиг.3. Роторная машина. Вариант: 4-тактный ДВС. Сечение по А-А.
Фиг.4. Роторная машина. Вариант: гидропневмопривод. Разрез.
Фиг.5. Роторная машина. Вариант: гидропневмопривод. Сечение по В-В.
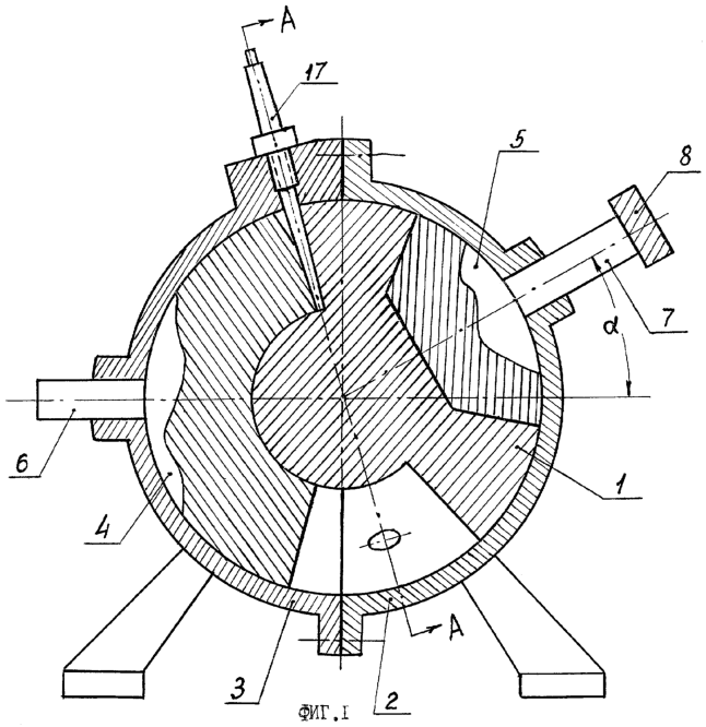
Роторная машина, показанная на фиг.1 в варианте ДВС, содержит, в основном, семь частей: центральный сферический ротор 1, сферический корпус, состоящий из двух соединенных фланцами частей 2 и 3, а также тороидальных поршней 4 и 5, которые имеют общие оси симметрии с соединенными с ними выходными валами 6 и 7. На вал 7 напрессована шестерня 8 привода механизма газораспределения.
Общий вид ротора показан на фиг.2. Ротор 1 выполнен в виде сферы, из которой в двух взаимно перпендикулярных центральных плоскостях вырезаны симметричные относительно общей оси, совпадающей с линией пересечения указанных плоскостей, непересекающиеся тороидальные пазы, имеющие, в данном случае, трапецеидальное поперечное сечение. Тороидальные поршни образуют вместе с торцами пазов ротора и внутренней сферической поверхностью корпуса четыре тороидальных рабочих объема, имеющих возможность пульсации при вращении выходных валов, проходя цикл расширение-сжатие один раз за полный оборот валов.
На фиг.3 показано сечение машины по линии А-А в таком положении, когда один из четырех рабочих объемов, нижний по рисунку, имеет максимальное значение, а верхний – минимальное. Другие два рабочих объема в данный момент равны и находятся в противоположных фазах изменения. Подпружиненные клапаны 9, 10, 11 и 12, управляемые кулачками 13, 14, 15 и 16, вращаемыми через понижающий редуктор (на чертеже не показан) от шестерни 8, обеспечивают впуск топливной смеси и выпуск отработанных газов соответственно известным условиям четырехтактного цикла. Свеча зажигания 17 обеспечивает воспламенение сжатой смеси в нужный момент. Как следует из фиг.3, рабочие объемы по мере вращения изменяют свое положение относительно впускного и выпускного клапанов, что требует учета этого обстоятельства при выборе мест их установки. При работе машины в качестве ДВС в малом объеме будет выделяться значительное количество тепла. Для его удаления можно применить внешнюю рубашку водяного охлаждения, как у обычного ДВС, и сквозную прокачку масла через осевые каналы выходных валов и сферического ротора (не показаны). Уплотняющие элементы там, где это необходимо, могут быть выполнены в виде сегментов тонких радиально подпружиненных пластин, расположенных в соответствующих пазах ротора и поршней, и их действие ничем не отличается от действия обычных поршневых колец ДВС.
Если убрать управляемые клапаны и свечу зажигания, а также расположить нужным образом впускные и выпускные отверстия, то роторная машина сможет работать в режиме реверсивного привода (гидравлического или пневматического), а также в режиме паровой машины. При этом требуемые отсечки подачи рабочей среды будут обеспечиваться автоматически за счет движения рабочих объемов мимо впускных отверстий. Эти варианты машины показаны в двух проекциях на фиг.4 и 5. Они отличаются только использованием впускных и выпускных отверстий 18,19, 20 и 21, поскольку при применении сжатого газа или пара важно установить оптимальную отсечку подачи рабочей среды для более полного использования ее внутренней энергии. Поэтому при показанном стрелкой направлении вращения машины отверстие 19 целесообразно заглушить. Гидравлический и пневматический приводы являются обратимыми и могут использоваться в режиме насоса (компрессора) без каких-либо изменений.
Формула изобретения
Роторная машина объемного вытеснения, содержащая сферический корпус с входными и выпускными каналами, ротор и два выходных вала, оси которых пересекаются под углом в центре сферы, отличающаяся тем, что ротор выполнен в виде сферы, из которой в двух взаимно перпендикулярных центральных плоскостях вырезаны симметричные относительно общей оси, совпадающей с линией пересечения указанных плоскостей, непересекающиеся тороидальные пазы, в которых располагаются соответствующие им по форме тороидальные поршни, образующие вместе с торцами пазов ротора и внутренней сферической поверхностью корпуса четыре тороидальных рабочих объема, имеющих возможность пульсации при вращении выходных валов, осесимметрично соединенных с поршнями.
РИСУНКИ
MM4A – Досрочное прекращение действия патента СССР или патента Российской Федерации на изобретение из-за неуплаты в установленный срок пошлины за поддержание патента в силе
Дата прекращения действия патента: 31.12.2006
Извещение опубликовано: 27.02.2008 БИ: 06/2008
|
|