|
|
(21), (22) Заявка: 2004124468/03, 10.08.2004
(24) Дата начала отсчета срока действия патента:
10.08.2004
(45) Опубликовано: 20.02.2006
(56) Список документов, цитированных в отчете о поиске:
ЗАЙЦЕВ Ю.В. и др. Технология и техника эксплуатации нефтяных и газовых скважин. М.: Недра, 1986, с. 6. RU 2019687 C1, 15.09.1994. SU 717296 A1, 25.02.1980. SU 691557 A1, 15.10.1979. SU 1767163 A1, 07.10.1992. US 3465823 A, 09.09.1969. US 3863717 A, 04.02.1975.
Адрес для переписки:
614070, г.Пермь, ул. Бульвар Гагарина, 39, кв.28, А.А. Дзюбенко
|
(72) Автор(ы):
Дзюбенко Александр Анатольевич (RU), Дзюбенко Анатолий Иванович (RU)
(73) Патентообладатель(и):
Дзюбенко Александр Анатольевич (RU), Дзюбенко Анатолий Иванович (RU)
|
(54) СПОСОБ ОСВОЕНИЯ СКВАЖИНЫ
(57) Реферат:
Изобретение относится к области нефтедобывающей промышленности и предназначается для использования при освоении скважин или сдаче их в эксплуатацию на стадии вызова притока пластового флюида из энергетически истощенных коллекторов. Обеспечивает исключение репрессивного, кольматирующего коллектор, воздействия скважинной жидкости, при ее газировании на призабойную зону продуктивного пласта. Сущность изобретения: по способу в скважине устанавливают колонну насосно-компрессорных труб (НКТ). Нижний конец НКТ оборудуют запорным устройством периодического действия. В заполненную скважинной жидкостью колонну НКТ вводят газообразователь при открытом трубном и затрубном пространствах скважины, оставляя их открытыми на весь период освоения скважины. С начала процесса газирования нижний конец НКТ закрывают и процесс газирования скважинной жидкости в НКТ выдерживают для осуществления вытеснения части газированного объема скважинной жидкости из НКТ на поверхность. После окончания вытеснения скважинной жидкости нижний конец НКТ открывают на время выравнивания гидростатических давлений в НКТ и затрубном пространстве скважины на глубине установки НКТ. Далее скважину выдерживают на притоке. Затем нижний конец НКТ закрывают и осуществляют процесс газирования скважинной жидкости. Указанный цикл работ повторяют до заполнения скважины пластовым флюидом из продуктивного пласта. 1 табл., 4 ил. 
Изобретение относится к нефтедобывающей промышленности и может быть использовано при освоении скважин или сдаче их в эксплуатацию на стадии вызова притока пластового флюида из энергетически истощенных коллекторов.
Известен способ освоения скважин, заключающийся в применении компрессора для вызова притока пластового флюида. При этом способе, после промывки скважины, в ее затрубное пространство нагнетают компрессором газ или воздух, который вытесняет жидкость в колонну насосно-компрессорных труб (НКТ). Когда уровень скважинной жидкости в затрубном пространстве будет снижен до башмака колонны НКТ или пускового клапана, газ попадает в НКТ и газирует скважинную жидкость. При этом удельный вес жидкости понижается, а уровень ее в колонне НКТ повышается до устья, в результате чего происходит ее выброс. При переливе жидкости давление на забой падает, что вызывает приток пластового флюида в скважину (см. книгу: И.М.Муравьев, В.С.Андриасов, Ш.К.Гиматудинов, Г.А.Говорова и В.Т.Полозков. Разработка и эксплуатация нефтяных и газовых месторождений. Гостоптехиздат, 1958, с.161).
Известен также способ освоения скважин, заключающийся в том, что вызов притока пластового флюида осуществляют путем нагнетания жидкости в затрубное пространство скважины с одновременным нагнетанием в нее сжатого газа (или воздуха). При этом газ, попадая вместе с жидкостью в трубы, газирует ее. Количество нагнетаемого газа постепенно увеличивают, уменьшая подачу в скважину жидкости, и, наконец, полностью переходят на нагнетание газа. Тем самым достигается постепенное снижение давления на забой, что способствует постепенному увеличению притока нефти из продуктивного пласта в скважину (там же, с.160-161).
Однако на стадии вызова притока пластового флюида из энергетически истощенных коллекторов, использование указанных известных способов освоения скважин, основанных на газировании скважинной жидкости и нагнетании ее в скважину, приводит на начальной стадии нагнетания к репрессивному воздействию нагнетаемой жидкости на призабойную зону продуктивного пласта, в результате чего происходит кольматация продуктивного пласта механическими частицами и коллоидами, осевшими в нижней части эксплуатационной колонны скважины. Это снижает продуктивность скважины и увеличивает время ее освоения.
Наиболее близким к предлагаемому способу является способ освоения скважины, основанный на газировании скважинной жидкости, известный из книги: Ю.В.Зайцев и Ю.А.Балакиров. Технология и техника эксплуатации нефтяных и газовых скважин. М.”Недра”, 1986. с.6. Указанный известный способ освоения скважины заключается в том, что для газирования скважинной жидкости используют твердую двуокись углерода (“сухой лед”), которую сбрасывают в скважину. По мере погружения “сухого льда” в скважинную жидкость выделяется углекислый газ, который газирует скважинную жидкость и способствует тем самым подъему ее на поверхность. Этот способ предназначен для вызова фонтанирования скважин, вскрывших пласты с высоким давлением.
Однако на стадии вызова притока пластового флюида из энергетически истощенных коллекторов использование указанного известного способа освоения скважины также приводит к репрессивному воздействию скважинной жидкости на призабойную зону продуктивного пласта в результате реактивного сублимационного давления, образующегося в зоне контакта скважинной жидкости в колонне НКТ с газообразователем – твердой двуокисью углерода (“сухим льдом”), которое передается на забой скважины. В результате этого в интервале перфорации эксплуатационной колонны происходит кольматация продуктивного пласта механическими частицами и коллоидами, осевшими в нижней части эксплуатационной колонны, что тем самым снижает продуктивность скважины и увеличивает время ее освоения.
Задачей, на решение которой направлено заявляемое изобретение, является исключение репрессивного, кольматирующего коллектор, воздействия скважинной жидкости при ее газировании на призабойную зону продуктивного пласта путем исключения воздействия на забой скважины реактивного сублимационного давления, образующегося при газировании скважинной жидкости, за счет исключения контакта скважинной жидкости, заполняющей колонну НКТ на время ее газирования и выброса из скважины, со скважинной жидкостью, заполняющей затрубное пространство скважины.
Указанный технический результат достигается тем, что заявляемый способ включает установку в скважине колонны НКТ и газирование скважинной жидкости путем введения в колонну НКТ газообразователя, выделяющего газ в процессе погружения его в скважинной жидкости. Новым в заявляемом способе является то, что на нижнем конце колонны НКТ устанавливают запорное устройство периодического действия, причем введение газообразователя осуществляют при открытых трубном и затрубном пространствах скважины, оставляя их открытыми на весь период освоения скважины, при этом с начала процесса газирования нижний конец колонны НКТ закрывают, и процесс газирования скважинной жидкости в колонне НКТ выдерживают для осуществления вытеснения части газированного объема скважинной жидкости из колонны НКТ на поверхность, а после вытеснения части газированного объема скважинной жидкости на поверхность нижний конец колонны НКТ открывают на время выравнивания гидростатических давлений в колонне НКТ и затрубном пространстве скважины на глубине установки колонны НКТ, после чего скважину выдерживают на притоке, затем нижний конец колонны НКТ закрывают. Указанный цикл работ повторяют до получения притока пластового флюида из продуктивного пласта.
Достижение поставленной цели обеспечивается нижеследующим.
Благодаря тому, что на нижнем конце колонны НКТ устанавливают запорное устройство периодического действия для закрывания и открывания внутренней полости колонны НКТ, обеспечивается в процессе освоения скважины, при закрывании полости колонны НКТ на время газирования скважинной жидкости, заполняющей колонну НКТ, исключение ее контакта со скважинной жидкостью, заполняющей затрубное пространство скважин. Поскольку происходит отсечение скважинной жидкости, заполняющей колонну НКТ, от скважинной жидкости, заполняющей затрубное пространство скважины, исключается также воздействие реактивного сублимационного давления на скважинную жидкость, заполняющую затрубное пространство скважины, которое образуется в результате введения в заполненную скважинной жидкостью колонну НКТ, при открытых трубном и затрубном пространствах скважины, газообразователя. Тем самым исключается репрессивное воздействие скважинной жидкости, заполняющей затрубное пространство скважины, на призабойную зону продуктивного пласта. В то же время благодаря образующемуся с момента начала процесса газирования реактивному сублимационному давлению в полости колонны НКТ, с закрытым ее нижним концом, создается газогидродинамический напор, вытесняющий газированную жидкость из колонны НКТ на поверхность. При этом процесс газирования скважинной жидкости в колонне НКТ выдерживают для осуществления вытеснения части газированного объема скважинной жидкости из колонны НКТ на поверхность. В результате вытеснения части газированного объема скважинной жидкости из колонны НКТ на поверхность происходит снижение гидростатического давления в колонне НКТ, вследствие чего запорное устройство на нижнем конце колонны НКТ открывается за счет противодавления скважинной жидкости, заполняющей затрубное пространство скважины.
Благодаря тому, что нижний конец колонны НКТ открывают на время выравнивания гидростатических давлений в колонне НКТ и затрубном пространстве скважины на глубине установки колонны НКТ, которое обеспечивается за счет перетока скважинной жидкости из затрубного пространства скважины в колонну НКТ при открытом затрубном пространстве скважины для исключения вакуума, который может образоваться при понижении уровня скважинной жидкости в затрубном пространстве скважины во время перетока ее в колонну НКТ, создается условие для последующего удаления скважинной жидкости из затрубного пространства через колонну НКТ путем ее газирования в колонне НКТ.
Благодаря выравниванию указанных гидростатических давлений и заполнению в результате этого полости колонны НКТ частью объема скважинной жидкости из затрубного пространства скважины, уровень которой при этом в затрубном пространстве скважины снижается, создаются условия для притока жидкости из пласта в скважину и последующего выдерживания скважины на притоке. После окончания притока запорное устройство на нижнем конце колонны НКТ закрывается, обеспечивая тем самым возможность осуществления последующего периода газирования скважинной жидкости в колонне НКТ. На этом заканчивается цикл работ, составляющий сущность заявляемого способа.
В целях дальнейшего, возможно необходимого, многократного газирования скважинной жидкости до получения притока в скважину чистого флюида из продуктивного энергетически истощенного пласта, указанный цикл работ повторяют. В этом случае при каждом последующем цикле работ за счет перетока части объема скважинной жидкости из затрубного пространства в колонну НКТ для ее газирования уровень жидкости в затрубном пространстве снижается, уменьшая тем самым давление ее столба на продуктивный пласт ниже пластового давления, что приводит к образованию депрессии на продуктивный пласт и притоку пластовой жидкости в скважину, а в конечном итоге к притоку чистого флюида из продуктивного пласта, т.е. к полному освоению скважины.
Заявляемый способ освоения скважины поясняется чертежами.
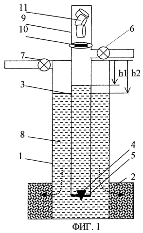
На фиг.1 схематически показан разрез скважины, обвязка ее устья с установленным лубрикатором, положение уровней скважинной жидкости в затрубном пространстве скважины и в колонне НКТ в начальный момент освоения скважины, вскрывшей энергетически истощенный продуктивный пласт.
На фиг.2 – то же, в процессе газирования скважинной жидкости, заполняющей полость колонны НКТ, при закрытом нижнем конце колонны НКТ, в момент начала вытеснения газированного объема скважинной жидкости из колонны НКТ на поверхность.
На фиг.3 – то же, при окончании газирования скважинной жидкости в колонне НКТ и продолжении вытеснения скважинной жидкости из колонны НКТ на поверхность в момент снижения давления столба газированной скважинной жидкости в колонне НКТ для осуществления перетока скважинной жидкости из затрубного пространства скважины в колонну НКТ через открытый, в результате этого, нижний конец колонны НКТ и в момент начала притока пластовой жидкости в скважину.
На фиг.4 – то же, в конце цикла работ по освоению скважины после отработки порции твердого газообразователя, выравнивания гидростатических давлений в колонне НКТ и затрубном пространстве скважины при начавшемся притоке пластового флюида в скважину и при загрузке в лубрикатор очередной порции твердого газообразователя.
Заявляемый способ содержит следующие операции:
– устанавливают в скважине колонну НКТ;
– устанавливают на нижнем конце колонны НКТ запорное устройство периодического действия для закрывания и открывания нижнего конца колонны НКТ в процессе освоения скважины;
– осуществляют газирование скважинной жидкости при открытых трубном и затрубном пространствах скважины путем введения в заполненную скважинной жидкостью колонну НКТ газообразователя, выделяющего газ при погружении в скважинную жидкость;
– трубное и затрубное пространства скважины оставляют открытыми на весь период освоения скважины;
– с начала процесса газирования закрывают нижний конец колонны НКТ;
– процесс газирования скважинной жидкости в колонне НКТ выдерживают для осуществления вытеснения части газированного объема скважинной жидкости из колонны НКТ на поверхность;
– после вытеснения части газированного объема скважинной жидкости на поверхность нижний конец колонны НКТ открывают на время выравнивания гидростатических давлений в колонне НКТ и затрубном пространстве скважины на глубине установки колонны НКТ;
– после чего скважину выдерживают на притоке;
– после окончания притока нижний конец колонны НКТ закрывают;
– указанный цикл работ повторяют до заполнения скважины пластовым флюидом из продуктивного пласта.
Заявляемый способ освоения скважины осуществляется следующим образом.
После проводки скважины и проведения перфорации эксплуатационной колонны 1 в скважину, заполненную скважинной жидкостью, уровень столба которой в результате ее репрессивного воздействия на продуктивный пласт 2 снизился до отметки уровня h1, производят спуск колонны НКТ 3. При этом для необходимого по заявляемому способу освоения скважины путем газирования скважинной жидкости в колонне НКТ 3 нижний конец колонны НКТ 3, для осуществления процесса его периодического закрывания и открывания, оборудуют запорным устройством периодического действия, в качестве которого используют, например, обратный клапан 4 с седлом 5. После спуска колонны НКТ 3 устье скважины оборудуют выкидными задвижками 6 и 7 соответственно для колонны НКТ 3 и затрубного пространства 8 скважины. При этом задвижки 6 и 7 оставляют в открытом состоянии на весь период освоения скважины. Вместе с этим устье скважины оборудуют лубрикатором 9 с задвижкой 10.
Затем через лубрикатор 9 при открытой задвижке 10 в колонну НКТ 3 на тросе с шлипсовым отцепом спускают обратный клапан 4 в сборе с установкой его в седло 5 нижнего конца колонны НКТ 3. После чего трос со шлипсовым отцепом поднимают на поверхность и обратный клапан 4 закрывается. Затем задвижку 10 лубрикатора 9 закрывают. В результате этого уровень h1 скважинной жидкости, установившийся в колонне НКТ 3 после ее спуска, перестает снижаться, что служит показателем герметичности запорного устройства. В то же время уровень h2 скважинной жидкости, заполняющей затрубное пространство 8 скважины, продолжает снижаться за счет репрессии на продуктивный пласт 2. Таким образом исключается контакт скважинной жидкости, заполняющей колонну НКТ 3 со скважинной жидкостью, заполняющей затрубное пространство 8 скважины за счет отсечения их одной от другой посредством перекрытия запорным устройством нижнего конца колонны НКТ 3. Этим также снижают интенсивность начального репрессивного воздействия скважинной жидкости на продуктивный пласт 2 и подготавливают условие для создания режима газирования скважинной жидкости только в пределах полости колонны НКТ 3.
В заявляемом способе в качестве газообразователя 11 используют отвержденную двуокись углерода (“сухой лед”), разбитую на куски.
Порцию указанного газообразователя 11 загружают в лубрикатор 9 выше его задвижки 10 через его верхнее входное отверстие (Фиг.1).
После этого верхнее входное отверстие закрывают. Затем открывают задвижку 10 лубрикатора 9 и через нее порцию газообразователя 11 вводят в скважинную жидкость, заполняющую колонну НКТ 3.
При входе в контакт со скважинной жидкостью в колонне НКТ 3 газообразователь 11 – твердая двуокись углерода (“сухой лед”) выделяет углекислый газ, газируя тем самым скважинную жидкость в процессе своего погружения. С возрастанием глубины погружения газообразователя 11 объем газированной 12 жидкости увеличивается. Также увеличивается и сублимационное давление в зоне газообразования, генерирующее энергию, одна часть которой, в виде реактивного давления, направляется вниз, увеличивая силу прижатия обратного клапана 4 к седлу 5, установленному на нижнем конце колонны НКТ 3, что надежно защищает продуктивный пласт 2 от репрессивного воздействия избыточного давления, образующегося в колонне НКТ 3, а другая расходуется для подъема газированной 12 скважинной жидкости вверх по колонне НКТ 3 и выброса части ее на поверхность после выдерживания процесса газирования скважинной жидкости в колонне НКТ 3 до окончания процесса вытеснения части газированного объема скважинной жидкости из колонны НКТ 3 на поверхность (Фиг.2).
После вытеснения части скважинной жидкости из скважины сумма гидростатических давлений на клапан 4 в колонне НКТ 3, включающая давления, создаваемые столбами газированной и еще негазированной жидкостей, а также реактивным давлением, становится меньше противодавления столба негазированной скважинной жидкости, заполняющей к этому моменту затрубное пространство 8 скважины. В результате разницы в давлениях клапан 4 на нижнем конце колонны НКТ 3 открывается и часть негазированной скважинной жидкости, содержащей мехпримеси, из затрубного пространства 8 перетекает в колонну НКТ 3. При этом уровень h2 понижается, а часть газированной скважинной жидкости, оставшейся в колонне НКТ 3, вытесняется на поверхность. Одновременно с этим негазированная скважинная жидкость, перетекающая из затрубного пространства 8, заполняет колонну НКТ 3, в результате чего происходит выравнивание гидростатических давлений столбов жидкостей в колонне НКТ 3 и затрубном пространстве на глубине установки НКТ 3 (клапана 4). Снижение же уровня h2 скважинной жидкости, заполняющей затрубное пространство 8, уменьшает ее гидростатическое давление на забой скважины, которое становится ниже пластового. В результате создавшейся депрессии в колонну НКТ 3 вместе со скважинной жидкостью из затрубного пространства 8 частично поступает скважинная жидкость из продуктивного пласта 2 ранее, до начала освоения скважины, им поглощенная вследствие гидростатического давления столба скважинной жидкости, превышающего пластовое давление энергетически истощенного продуктивного пласта (Фиг.3).
Выравнивание гидростатических давлений в колонне НКТ 3 и затрубном пространстве 8 скважины на глубине установки колонны НКТ 3 обеспечивает закрытие клапана 4 и прекращение вытеснения скважинной жидкости из колонны НКТ 3 на поверхность. В то же время приток жидкости из продуктивного пласта 2 в затрубное пространство 8 продолжается, за счет чего давление на забое скважины поднимается, в результате чего открывается клапан 4 и колонна НКТ 3 заполняется пластовым флюидом. В таком режиме скважину выдерживают до ее заполнения скважинной жидкостью до определенного уровня в затрубном пространстве 8.
В этот период закрывают задвижку 10 лубрикатора 9, открывают его верхнее входное отверстие и загружают новую порцию газообразователя 11 (Фиг.4).
Указанный цикл работ по заявляемому способу освоения скважины повторяют до полного удаления из скважины и из продуктивного пласта 2 скважинной жидкости и заполнения скважины пластовым флюидом с последующим переходом работы скважины на добычу пластового флюида.
Пример реализации заявляемого способа.
Проводили освоение нефтедобывающей скважины, вскрывшей продуктивный энергетически истощенный нефтяной пласт, пластовое давление которого составляло 15,5 МПа против первоначального пластового давления, равного 21,5 МПа, на момент пуска залежи в разработку.
Спущенная в скважину эксплуатационная колонна диаметром 146 мм была перфорирована в интервале 2070-2092 м. Перфорацию колонны осуществляли в среде, заполняющего ее до устья раствора хлористого кальция (удельный вес 1,08 г/см3). Тем самым, после перфорации эксплуатационной колонны на продуктивный пласт действовало давление столба раствора хлористого кальция, равное 22,4МПа (2070×1,08:100). Следовательно, репрессия на пласт составила 22,4МПа – 15,5МПа=6,9МПа.
В скважину через сутки после перфорации эксплуатационной колонны была спущена колонна НКТ с внутренним диаметром 62 мм на глубину 2070 м. Перед спуском колонны НКТ на нижнем конце ее установили запорное устройство периодического действия в виде комплекта всасывающего клапана глубинного насоса НГН-2-28.
После спуска колонны НКТ на устье скважины установили фонтанную арматуру с выкидными задвижками для трубного и затрубного пространств скважины. В верхней части фонтанной арматуры установили лубрикатор с задвижкой. Соединили выкидную задвижку арматуры трубопроводом с емкостью. Открыли на фонтанной арматуре трубную и затрубную задвижки и произвели замер уровня в затрубном пространстве скважины, который оказался равным 620 м. За это время в результате репрессии из скважины в пласт перетекло 5,6 м3 неочищенной технической жидкости с взвешенными механическими примесями кольматировавшими его призабойную зону.
Затем промыли скважину через затрубное пространство скважины более легкой жидкостью – газойлем (удельный вес 0,78 г/см3). В результате этого хлористый кальций был удален из скважины на поверхность и частично задавлен в пласт. Статический уровень газойля в скважине установился на глубине 83 м. Это указывало на то, что давление на забое скважины было равно пластовому.
После промывки скважины газойлем приступили к осуществлению заявляемого способа освоения скважины.
В лубрикатор, выше задвижки, загружали порциями твердый газообразователь в виде отвержденной двуокиси углерода (“сухой лед” по ГОСТ 12162-77), расколотый на куски, из которых изготовили отсортированные осколки. Затем открывали задвижку лубрикатора и через него подготовленные таким образом порции “сухого льда” вводили в скважинную жидкость, заполнившую колонну НКТ, в режиме свободного падения и погружения в скважинной жидкости. Затем задвижку лубрикатора закрыли.
Далее для вызова притока пластового флюида из продуктивного пласта была реализована последовательность операций, составляющих сущность заявляемого способа, подробно описанная выше.
При этом, через 30 минут после ввода первой порции газообразователя в колонну НКТ, пошел процесс газирования скважинной жидкости, который продолжался и при вводе остальных порций, при этом поток, выходящий на поверхность (в емкость) газированной жидкости, перемежался с чистым углекислым газом. Во время проведения процесса в затрубном пространстве скважины эхолотом периодически замеряли уровень скважинной жидкости, который сначала понижался, а затем оставался неизменным на отметке 600 м. Это указывало на то, что по мере подъема газированной скважинной жидкости через колонну НКТ и выхода ее на поверхность, в затрубном пространстве, а значит и на забое скважины, давление сначала снижалось от 15,5 МПа, а затем оставалось неизменным, равным 11,5 МПа, т.е. репрессивного воздействия на продуктивный пласт не оказывалось. Снижение забойного давления было вызвано только односторонним движением скважинной жидкости, а именно перетоком части ее из затрубного пространства в колонну НКТ. За счет этого создавалась депрессия на продуктивный пласт и тем самым исключалось репрессивное воздействие на него.
Подобным образом из скважины было отобрано 18 м3 скважинной жидкости из первоначальных 24 м3. При этом в затрубном пространстве осталось 13 м3 скважинной жидкости. Следовательно, из пласта было отобрано 7 м3 пластовой жидкости. После отбора 18 м3 скважинной жидкости из колонны НКТ уровень ее в затрубном пространстве скважины не снижался и оставался на глубине 600 м. По окончании отбора 18 м3 скважинной жидкости из колонны НКТ, после появления признаков нефтяного газа в колонне НКТ, затрубное пространство было закрыто и после ввода очередной порции газообразователя скважина перешла на фонтанирование через НКТ с последующей стабилизацией параметров притока. Дальнейшее освоение скважины велось за счет энергии пластового газа.
После окончания освоения скважины был произведен подъем комплекта всасывающего клапана глубинного насоса НГН-2-28 с помощью спущенного на кабеле в скважину шлипса.
До осуществления реализации на данной скважине заявляемого способа, описанного выше, было произведено ее освоение способом, известным по прототипу. В процессе освоения скважины по известному способу уровень скважинной жидкости снизился до 400 м. При каждом вводе в скважинную жидкость, заполнявшую колонну НКТ, очередной порции твердого газообразователя в виде твердой двуокиси углерода (“сухого льда”) уровень скважинной жидкости поднимался на 50-60 м и после выхода газа вновь опускался до 400 м. При этом забойное давление составляло 13,1 МПа и поднималось на 0,45 МПа, что создавало соответствующую репрессию на продуктивный пласт. При этом повышение забойного давления и подъем уровня скважинной жидкости в затрубном пространстве скважины происходили за счет влияние энергии, создаваемой сублимацией “сухого льда” в колонне НКТ, нижний конец которой не был оборудован, как в заявляемом способе, комплектом всасывающего клапана глубинного насоса НГН-2-28. В процессе освоения данной скважины известным способом из нее было отобрано 8 м3 технической скважинной жидкости, после чего из колонны НКТ стал выходить один углекислый газ, т.е. при пульсации уровня в затрубном пространстве скважина не работала. Освоение скважины было прекращено.
При освоении данной скважины известным и заявляемым способами исходные промысловые данные ее были следующими:
| – глубина интервала перфорации продуктивного энергетически истощенного пласта, м |
2070-2092 |
| – величина пластового давления продуктивного пласта на момент начала освоения скважины, МПа |
15,50 |
| – величина давления скважинной жидкости (технической) на продуктивный пласт, заполняющий ствол скважины до устья, перед началом перфорации, МПа |
22,40 |
| – величина начальной репрессии на продуктивный пласт после перфорации, МПа |
6,90 |
| – глубина спуска колонны НКТ, м |
2070 |
| – глубина уровня скважинной жидкости в затрубном пространстве скважины перед освоением скважины, м |
620 |
| – количество неочищенной технической скважинной жидкости, перетекшей из затрубного пространства в продуктивный пласт в результате репрессии, м3 |
5,60 |
| – глубина статического уровня промывочной технической жидкости (газойля) после промывки скважины при пластовом давлении 15,5 МПа, м |
83 |
Значения промысловых параметров, достигнутых в результате освоения скважины по известному и заявляемому способам, приведены в нижеследующей таблице.
| Промысловые параметры скважины |
Значения параметров, полученных при освое нии скважины |
| |
По известному способу |
По заявляемому спо собу |
| 1. Установившийся динамический уровень скважинной жидкости в затрубном пространстве скважины при ее газировании в колонне НКТ, м |
400 |
600 |
| 2.Величина забойного давления во время газирования скважинной жидкости в колонне НКТ, МПа |
13,10 |
11,50 |
| 3. Величина колебания уровня скважинной жидкости в затрубном пространстве во время газирования скважинной жидкости в колонне НКТ, м |
60 |
0 |
| 4. Величина репрессии на продуктивный пласт во время газирования скважинной жидкости в колонне НКТ, МПа |
0,45 |
0 |
| 5. Количество отобранной из скважины скважинной жидкости в процессе освоения, м3 |
8,0 |
18,0 |
| 6. Количество отобранной жидкости из продуктивного пласта, м3 |
3,20 |
10,70 |
| 7. Состояние скважины после освоения. |
не работает |
Фонтанирует |
| 8. Продолжительность освоения скважины, час. |
8 |
4 |
Приведенные в таблице значения промысловых параметров показывают, что по сравнению с известным по прототипу способом заявляемый способ, благодаря установлению на нижнем конце колонны НКТ запорного устройства периодического действия, позволяющего вести газирование скважинной жидкости только в объеме полости колонны НКТ в совокупности с пооперационным режимом способа в целом, с использованием одного и того же вида газообразователя известного по прототипу, позволяет осваивать скважины, вскрывшие энергетически истощенные коллекторы путем газирования скважинной жидкости в колонне НКТ с достижением динамического уровня скважинной жидкости в затрубном пространстве в 1,5 раза более низким, чем по известному способу, при полном отсутствии колебаний динамического уровня и репрессивного воздействия скважинной жидкости на энергетически истощенный продуктивный пласт во время газирования скважинной жидкости в колонне НКТ, с многократной степенью превышения отбора жидкости из продуктивного пласта и последующим переходом на фонтанирование скважины.
Результаты реализации в скважинных условиях совокупности операций заявляемого способа, составляющих его сущность, определили возможность испльзования в качестве газообразователя, наряду с известной твердой двуокисью углерода, также и других известных газообразователей, в частности карбида кальция, карбоната аммония, углеаммонийной соли, блоков твердого топлива с воспламенителем и т.д. в комбинации с соответствующими скважинными жидкостями.
Указанные выше преимущества заявляемого способа освоения скважины обеспечивают снижение кольматации продуктивного пласта и сокращение времени освоения скважин при разработке энергетически истощенных залежей нефти.
Формула изобретения
Способ освоения скважины, включающий установку в скважине колонны насосно-компрессорных труб (НКТ) и газирование скважинной жидкости путем введения в колонну НКТ газообразователя, выделяющего газ при погружении его в скважинную жидкость, отличающийся тем, что на нижнем конце колонны НКТ устанавливают запорное устройство периодического действия, причем введение газообразователя в заполненную скважинной жидкостью колонну НКТ осуществляют при открытых трубном и затрубном пространствах скважины, оставляя их открытыми на весь период освоения скважины, при этом с начала процесса газирования нижний конец колонны НКТ закрывают и процесс газирования скважинной жидкости в колонне НКТ выдерживают для осуществления вытеснения части газированного объема скважинной жидкости из колонны НКТ на поверхность, а после вытеснения части газированного объема скважинной жидкости на поверхность нижний конец колонны НКТ открывают на время выравнивания гидростатических давлений в колонне НКТ и затрубном пространстве скважины на глубине установки колонны НКТ, после чего скважину выдерживают на притоке, затем нижний конец колонны НКТ закрывают и указанный цикл работ повторяют до заполнения скважины пластовым флюидом из продуктивного пласта.
РИСУНКИ
|
|